Котел для бани своими руками из подручных материалов: 3 варианта

Хорошо, когда запланированного бюджета на строительство бани достаточно и на красивую отделку интерьера, и на эффектную обшивку заграничным сайдингом, и на умную автоматизированную систему отопления.
Но что делать, если котельная готова, а на дорогой импортный котел средств не хватило? В таком случае можно изготовить хороший котел для бани своими руками: из металлической бочки, листов или трубы.
Конечно, до автоматизации ему будет далеко, зато получится дешево и сердито. По-русски, так сказать.
Как сварить котел в баню из металлической трубы
Самый простой самодельный котел для бани – из трубы, железной или металлической. Вот только расположить ее можно как вертикально, так и горизонтально – у первого, и у второго способа есть свои плюсы и минусы.
В общем же для работы понадобится сварочный аппарат, угловая шлифовальная машинка с дисками по металлу и дизельный или бензиновый генератор.
Технология сборки горизонтальной конструкции
Трубу нужно положить и заглушить с одной стороны – с другой устанавливается дверка. Все это и есть топка, в которую можно будет потом вварить колено для воды. Сверху ставится бак из металла, и каждая свежая порция воды, во время нагревания в колене, будет поступать в бак, а холодная – займет ее место. Все нагревание будет происходить достаточно равномерно.
Сбоку трубы следует установить каменку – самую обычную полку с камням.
Вертикальная конструкция и ее особенности
А вот если такую трубу поставить на заглушенную сторону и в ее середину вварить еще одну заглушку – низ станет топкой, а вверх послужит баком для воды. Саму полку для камней можно приварить сбоку.
Если толщина металла трубы значительна, то верхнюю и нижнюю часть такого котла рациональнее изготавливать отдельно — ввиду общей массивности конструкции. Причем для бака достаточно и тонкостенной бочки, тогда когда низ нужно изготавливать только из толстостенной трубы. Причем, чем она будет толще, тем дольше прослужит сам котел.
И, наконец, между топкой и баком можно сделать каменку, вырезать для нее дополнительную дверку и вварить внутрь чугунные колосники. Трубу от такого котла устанавливать нужно строго по центру, а саму бочку – надевать уже на нее, обварив место соединения до 100% герметичности.
Ко всему в трубу желательно еще и сделать заслонку, которую обычно закрывают после прогорания дров. К слову, из котла трубу нужно выпустить металлическую, а вот надеть на нее можно и железную, и асбестовую. Ведь такая комбинированная труба – с асбестовым верхом и железным низом – самая безопасная.
Она должна свободно надеваться на металл, ведь материалы при нагревании всегда имеют разные коэффициенты расширения.
Такие простые котлы в баню своими руками – прекрасная временная альтернатива дорогому промышленному, который можно купить через год-два – тогда, когда это будет удобно в финансовом плане.
Самая простая конструкция котла — на основе бочки
Вот технология, как изготовить самодельный котел для бани самой простой конструкции.
Для этого понадобится большая толстая и прочная бочка с советских времен – именно такая, которая куда крепче любых современных. В ней нужно с помощью зубила или топора вырубить верхнюю часть. После чего для выхода дыма отдельно отрезается кусок трубы – на 150 мм. Далее в бочке следует вырезать отверстие и приварить к нему эту трубу.
Теперь из другой, уже обычной 200 л бочки нужно вырезать нижнюю крышку, а в ее центре – отверстие под 10 сантиметровую трубу. Настало самое время изготовить ее – она должна быть 10 см в диаметре и высотой чуть больше высоты бочки.
После чего нужно отрезать 4 куска швеллера и приварить их крышке от 200 литровой бочки. А с другой стороны крышки — приварить 10 сантиметровую трубу.
Теперь из обычного листа металла делается верхняя крышка для котла и вырубается зубилом специальное отверстие для трубы на 10 см – так, чтобы сама труба сидела плотно, но двигалась все же свободно. После чего хомутом нужно присоединить сам котел к трубе дымохода – но перед этим обязательно утеплив асбестом или стеклотканью.
Вот после всего этого уже можно класть в котел дрова на 1/3 объема – этого будет достаточно для первой проверки. Сверху ставится труба с хорошо приваренной крышкой, сразу на дрова – ее нужно выровнять по центру котла так, чтобы во время движении вниз ничего не цепляло сами стенки котла. А уже на трубу сверху нужно надеть верхнюю крышку.
Осталось плеснуть в трубу немного керосина и бросить спичку. Ни дыма, ни запаха не будет – все вытянется в трубу. А чтобы дрова быстро не сгорели, нужно прикрыть поддувало.
Особенности конструирования котла длительного горения
В обычном твердотопливном котле дрова горят быстро – около 2-3 часов.
А вот банные процедуры обычно затягиваются на дольше, а потому, чтобы из парилки в одном полотенце не пришлось бегать подкидывать дров, ничего нет лучше, чем котлы для бани самодельные длительного горения – это просто. При тех же объемах дрова в нем будут гореть все 20-30 часов, а все благодаря ограничению поступлению воздуха.
Сам принцип работы котла такой: через загрузочное отверстие, которое расположено выше середины самого корпуса, поступает партия дров и поджигается в ее верхней части. Над топливом находится ограничитель, который опирается на дрова коническим хвостовиком.
По ходу горения дров этот ограничитель подачи воздуха медленно опускается в нижнюю часть печи и служит своего рода сигнализатором дозагрузки следующей партии топлива.
Причем топить такой котел можно не только дровами – но и брикетированным торфом, углем и модными пеллетами.
Для изготовления этого котла тоже понадобится толстостенная стальная труба – лучше диаметром 30 см и длиной 8 м 50 см. В верхней ее части нужно вварить отводок из другой трубы – диаметром 100 мм, и длиной не больше 40 см.
Весь секрет такой конструкции – в ограничении зоны горения топлива, которая хорошо уплотняет дрова, а потому не позволяет избыточному количеству кислорода быстро сжигать топливо. И всем этим занимается специальное приспособление – отрезок трубы в 60 мм, длина которого больше длины печи – 90 см.
К нижнему торцу этого ограничителя нужно приварить специальный стальной диск 27 диаметра с крыльчаткой – шесть дугообразных лопастей. Причем внутренний диаметр трубы будет ограничен 20-ю мм, чтобы ограничить то количество воздуха, что поступает в зону горения.
Верхнюю часть котла нужно закрыть съемной круглой крышкой с центральным отверстием, диаметр которого немного больше наружного диаметра самого штока ограничителя – это позволит ему свободно перемещаться внутри всего топливного прибора.
А вот в нижней части корпуса изготавливается прямоугольное отверстие с дверцей – для периодического удаления продуктов сгорания. К слову, золы в такой печке будет намного меньше, как и копоти в дымоходе.
А вот тепло, которое будет образовываться при сгорании топлива, сразу поступит для обогрева теплоносителя с жидкостью. Для чего в баке – прямоугольном параллелепипеде – проходит труба, приваренная к дымоходу печи. К самому баку присоединены трубопроводы, по которым отводится и подается вода.
Вот и вся премудрость, как делаются котлы для бани своими руками – изучайте чертежи, смотрите видео и смело беритесь за сварочный аппарат. Все получится!
Котел для бани своими руками – инструкция с чертежами, фото и видео

Любители загородного отдыха предпочитают построить баню самостоятельно.
Выбирая способ её отопления, задумываются над выбором: выложить в бане печь или поставить котёл? Принцип действия печи и котла практически одинаковый, но самостоятельно соорудить котёл — быстрее и легче, чем возвести настоящую кирпичную печь.
Да и по стоимости кладка печи обойдётся в несколько раз дороже. А для изготовления банного котла чаще всего используют листовой металл, поэтому вам потребуются навыки выполнения сварочных работ.
Котёл в парилке во многом определяет качество банной процедуры.
В зависимости от вида парилки конструкции котлов отличаются, но общими остаются три основных компонента нагревательного устройства: топочное отделение, каменка и бак для нагрева воды.
Внешний вид водяного бака у котлов разнообразен, и зависит от модели бани: для парного отделения применяются ёмкости открытого типа, а для сауны (где влажность не превышает 15%) чаще используют закрытые устройства косвенного нагрева.
Характерный признак банных котлов — расположение топочного отделения чуть дальше от основного корпуса. Такая конструкция позволяет подавать топливо из смежного с парилкой помещения, что обеспечивает отсутствие продуктов горения в самой парилке.
Каменку — ёмкость с крупными камнями — проектируют в разных частях котла, но важно учитывать самое прогреваемое место корпуса.
Режимы парения в сауне и в бане сильно отличаются. Для сауны температура воздуха в парильном отделении устанавливается 80–85 оС, а для русской бани — в интервале 55–65 оС при влажности до 60%. Это достигается подачей воды или различных травяных настоев на раскалённую каменку.
Твёрдотопливный котёл для сауны в разрезе, с наглядным изображением движения потоков воздуха
Чтобы выполнялись такие различные задачи, конструкцию котлов изменяют под индивидуальные требования. Агрегат для сауны отличается малым размером каменки, которая устраивается над топочным отделением.
Поскольку главная задача печи в сауне — максимально быстро разогреть воздух в парилке, то каменка выполняется открытой сверху, и температура камней не превышает 250 оС за счёт их интенсивного охлаждения.
Каменка для парной бани располагается в задней верхней части печи, и камни в ней находятся в замкнутом пространстве. Предусмотрено специальное отверстие для подачи воды на камни и несколько выходов для перегретого пара. Температура камней в таком устройстве достигает 500 оС, что позволяет получить на выходе «сухой» пар с температурой 140–150 оС.
Как происходит нагрев, и куда выходит пар в каждом отдельном котле — на примере разных видов устройств с закрытой каменкой и открытой
Конструкций самодельных котлов для парилки — великое множество, и изготавливаются они из различных материалов. Можно даже сказать, что разновидностей котлов существует столько же, сколько и индивидуальных изготовителей.
Фотогалерея: котлы своими руками для сауны и бани
Установка котла в углу экономит пространство помещенияУдачный вариант оформления и защиты стены вокруг котла природным камнемКотёл с открытой каменкой используется в сауне, так как даёт больше жараКотёл с большим водогрейным баком удобно использовать в загородной бане, где нет центрального водоснабжения
Перед началом работ по сборке котла проверьте: какие материалы и инструменты у вас есть в наличии, чтобы осталось только закупить недостающее.
Определитесь: на каком топливе котёл будет работать, где вы его поставите, высчитайте оптимальный размер котла исходя из площади бани, и прочие моменты. Затем сделайте эскизный проект (т. е. как котёл выглядит внешне и где располагается внутри бани), нарисуйте эскизы каждой детали, а потом создайте подробный чертёж с точными размерами.
Пример выполнения чертежа металлического банного котла с размерами во всех проекциях
Составить проект и разработать чертёж удобнее самому. Но можно найти все эти данные в интернете: тогда потребуется тщательная привязка размеров котла к площади парилки.
Выбор материала
Для изготовления банных котлов чаще используют стальные листы толщиной 4–8 мм и обрезки труб диаметром от 420 до 820 мм. Можно, конечно, использовать даже металлическую бочку, но такое изделие не будет долговечным — её металл имеет недостаточную толщину стенок.
Горизонтальный банный котёл из трубы
Горизонтально расположенный котёл специалисты-печники считают удобным и эффективным в работе за счёт протяжённости нижнего отсека и обтекания воздухом корпуса, а, следовательно, и более высокого коэффициента полезного действия устройства.
Самый простой и быстрый способ сборки горизонтального котла — изготовление его из трубы
Горизонтальный котёл имеет ряд преимуществ перед вертикальным:
- форма печки позволяет легко загружать дрова в топку и размещать их по колосниковой решётке;
- невысокое расположение каменки;
- размещение топлива тонким слоем обеспечивает полное равномерное сгорание;
- материал, применяемый для изготовления труб, прочный и отлично сваривается, поскольку первоначально разработан для сварки. Продольный шов на трубе не опасен — он по прочности в несколько раз выше основной стенки.
Для сборки такого котла кроме трубы потребуются стальные листы. Длина трубы при диаметре 530 мм составляет 0,9–1,2 м, а более длинные подойдут для котла с закрытой каменкой. Толщина стенки стандартных труб 8–12 мм, но лучше выбирайте со стенкой 8 мм.
Для передней и задней части котла понадобится углеродистая листовая сталь марки ст.3 — ст.20 толщиной 6–8 мм. Поддон для сбора золы выполняется из листового металла толщиной 1,5–2,0 мм с высотой стенки 15–25 мм. Располагается он в проёме поддувала.
Колосники применяют цельнолитые или раздельные. Цельнолитая колосниковая решётка из чугуна продаётся в строительных магазинах. А раздельную можно сварить самостоятельно из арматуры. Для крепления решётки вдоль стенок котла привариваются направляющие из уголка, размер которого определяется высотой размещения колосника.
Котёл из листовой стали
Для него используют стальные листы толщиной 6–8 мм из низкоуглеродистого материала. Объём топочного отделения не должен быть меньше объёма каменки.
На практике применяется соотношение, когда объём топки на 30–50% больше. Подходящее месторасположение ёмкости для камней — в зоне повышенной температуры — вверху у задней стенки печи.
Здесь также происходит охлаждение продуктов горения, поэтому процесс перегорания металла замедляется.
Эскиз котла из листовой стали в трёх проекциях и с точными размерами помогает сориентироваться в выборе материалов и рассмотреть в деталях нюансы конструкции
Удержать температуру стенок котла в пределах 60 оС невозможно: перегрев неизбежен. Из-за высоких температур происходит интенсивное ультрафиолетовое излучение, не добавляющее приятных ощущений в парилке. Чтобы уберечь стены металлического банного котла от перегрева и увеличить срок его службы, в строительстве применяют два способа теплозащиты:
- футеровка банного котла;
- обкладка кирпичом снаружи.
Футеровка — изолирование стен печи изнутри кирпичной кладкой.
Топку обкладывают огнеупорным кирпичом (шамотный раствор используется только для скрепления кирпичей), а между металлом и кладкой надо оставить зазор, чтобы футеровка не треснула при нагревании.
Зазор уплотняют базальтовой ватой. При выставлении кирпичей на ребро толщина футеровки составит 6 см, а если удастся приобрети тонкий кирпич в 3 см — тогда вдвое меньше.
Планировать футеровку нужно заранее, учитывая размеры топки при составлении проекта. Недостаток варианта — значительная температура дымовых газов.
Отбор тепла на каменке недостаточен, поэтому на дымовой трубе устанавливают водогрейный бак. Дополнительно монтируют отопительный щиток с лабиринтным дымоходом.
Пройдя по его извилистому каналу, дымовые газы теряют температуру до 100 оС, что считается безопасным в пожарном отношении.
Футеровка топочного отсека применяется не только как мера пожаробезопасности, но и для долговечности конструкции
Обкладка кирпичом снаружи — это сооружение саркофага вокруг котла. Кладут красный отделочный кирпич на стандартный раствор, оставляя зазор между металлом и кирпичной кладкой.
Недостаток способа — перегрев металла котла с быстрым его перегоранием.
Можно применить жаростойкий металл, но он стоит дорого и требует особых навыков при сварке; или использовать конструкционную сталь увеличенной толщины, если сможете её достать.
Саркофаг из кирпича для банного котла помогает надолго сохранять тепло внутри и уберегает людей от ожогов при случайном прикосновении к нему в парилке
Инструменты для сборки банного котла
В процессе изготовления котла и вырезания составных деталей пользуйтесь специальными инструментами:
- разрезное оборудование или керосинорез — для разделки листового и профильного металла на черновые заготовки;
- ручная шлифмашина (болгарка) — для доводки размеров деталей, зачистки газовых резов, удаления острых кромок, изготовления технологических фасок на деталях под сварку и разделывания листового металла толщиной до 3 мм;
- абразивные круги для шлифмашины;
- сварочный аппарат — для сборки устройства;
- электроды для сварки — подбираются в зависимости от толщины деталей и марки материала;
- мерительный инструмент — для контроля размеров.
Применяется и слесарный инструмент: напильники, молотки и прочее. Для фиксации деталей при сборке применяют струбцины; для покраски котла — жаростойкую краску и малярную кисть; для футеровки или наружной обкладки запаситесь инструментом каменщика.
Изготовление своими руками других видов котлов
Котлы для саун и бань различаются внутренним устройством (по количеству и расположению отсеков), способом действия (простое горение или дожиг пиролизных газов) и по используемому топливу — их несколько видов:
- газовые котлы;
- электрические;
- на твёрдом топливе;
- на жидком топливе.
Каждое название говорит само за себя. Котлы на твёрдом топливе, чаще всего дровяном, наиболее популярны. Однако экологичными, чистыми и простыми в использовании признаются электрические и газовые.
Электрические котлы
Основной элемент электрического котла — теплоэлектронагреватель (ТЭН). Подбирая его мощность, руководствуйтесь соотношением расхода энергии в 1 киловатт на 10 м2 площади парилки.
ТЭН для котла подбирают, исходя из его показателей: мощности и напряжения, чтобы правильно рассчитать обогрев всей площади бани
Мощность показанного нагревателя составляет 1500 ватт, потребляемое напряжение 230 вольт. Технология изготовления следующая:
- перед началом отделочных работ в помещении выполняется разводка силовых и управляющих цепей электроснабжения. Обязательно используйте металлический рукав, в который протяните провода, чтобы изолировать их от влаги;
- для нижнего основания используют полнотелые кирпичи (4–6 штук), уложенные на подкладку из асбестовой плитки толщиной не менее 20 мм; асбест кладётся непосредственно на пол;
- поверх нагревателя устанавливается корзина с камнями (для сауны) или закрытая каменка из металлического листа в 2–3 мм.
Сооружение на этом закончено. Остаётся смонтировать управление нагревом при помощи датчика температуры в парилке и терморегулятора. Нагрев воды в помывочном отделении может также производиться электронагревателем, подключённым по отдельной цепи.
Такой «котёл» устанавливается в углу парилки. Поэтому заранее продумайте противопожарную защиту: пласты асбеста набиваются на стену, поверх них — листы оцинкованной стали 0,5–0,7 мм. Преимуществами такой конструкции являются:
- простота монтажа;
- низкие затраты;
- отсутствие необходимости установки дымохода;
- возможность устройства дежурного нагрева для поддержания положительной температуры при длительно отсутствии хозяев.
Фотогалерея: варианты исполнения электрического котла своими руками
Принцип устройства вертикальной каменки для бани с использованием теплоэлектронагревателяКаменка открытого типа с электронагревателем быстро прогревает парилку, работает без запаха и сажиКаменка электрическая для сауны в целях безопасности ограждена деревянным заборчикомКаменка электрическая открытого типа лучше подходит для парилки с малой влажностью
Газовые котлы
Газовое оборудование является источником повышенной опасности, и браться за его изготовление своими руками не рекомендуется, если нет опыта в работе с газом. Но некоторые всё же берутся, так как устройство газового котла довольно простое.
Газовый котёл устанавливают в помещении, где есть подключение к проводке от центральной газовой магистрали с постоянным доступом
Газовый котёл снабжён крышкой: ей можно пользоваться как в открытом режиме для сауны, так и в закрытом — для парной бани. Технология изготовления почти не отличается от представленных твердотопливных котлов, только его подключение производится напрямую к газовой трубе.
Помещения для газовых отопительных котлов снабжают двойным вытяжным устройством: с принудительной вентиляцией и естественной. Эксплуатация газового оборудования дешевле, чем электрических котлов того же назначения.
Один из вариантов изготовления банного котла своими руками
Наверное, невозможно найти два одинаковых самодельных котла для бани: любой мастер по ходу изготовления обязательно вносит в конструкцию изменения и усовершенствования исходя из полёта своей фантазии и особенностей эксплуатации отопительной системы в будущем. И это интересно само по себе. Да и полученный опыт не помешает в дальнейшем.
Котел для бани своими руками из трубы

В каждой бане должна быть горячая вода. Нагреть эту жидкость можно разным способом. Однако наиболее выгодный предусматривает использование такого котла, который одновременно нагревает парилку, создает пар и делает воду горячей. Конечно, таким устройством является котел для бани на дровах.
Кроме такого агрегата для нагрева воды в бане можно использовать газовые или комбинированные котлы. а также электрокотлы с водяным контуром. Правда, их монтируют не в парилке, а в специальном помещении. Поэтому для создания пара придется осуществить установку специальной печи, о которой часто отмечают в различных видео.
Конструкция котла на дровах
Котлы для бани на дровах несколько отличаются от стандартных твердотопливных устройств с водяным контуром. В первую очередь они не имеют теплоизоляции вокруг топки с кирпичом. Это объясняется тем, что тепло, которое выделяется при горении, должно нагревать не только водяной контур, но и парилку. По этой же причине агрегаты никогда не имеют водяной рубашки.
https://www.youtube.com/watch?v=m83JFLg4LIo
Как отмечают в разных видео, устройство котла с водяным контуром всегда состоит из:
- Топки. Внутри нее стенки обложены огнеупорным кирпичом.
- Зольника. На его дверке часто находится поддувало.
- Колосников. Размещаются между топкой и зольной камерой.
- Каменки. Ее задачей является перераспределение и частичный отвод тепла. Представляет собой емкость, наполненную камнями. Она размещена над обложенной кирпичом топкой.
- Бачка для воды. Находится над каменкой.
- Дымохода. Он проходит через каменку и бак для воды. Затем переходит в основной дымоход. Этот элемент больше всего «страдает» от избыточного тепла, и поэтому его стенки часто перегорают. Особенно металл перегорает в коленях. По этой причине дымоход делают прямым без колен или с очень малым количеством колен.
Некоторые мастера делают котел для бани своими руками без каменки. Конечно, это никак не сказывается на способности конструкции обогревать парилку. Однако пар становится тяжелым, поскольку все тепло направляется на нагрев воды, которая быстро закипает и насыщает помещение плотным паром.
В домашних условиях можно сделать цилиндрический или прямоугольный котел в баню своими руками. Их делают из почти одинаковых материалов. В основном используется жаростойкая нержавейка или листовая сталь. Самодельные банные чугунные устройства с водяным контуром не встречаются, ведь работать с этим материалом очень сложно.
Они являются такими:
- Металлическая бочка или труба с большим диаметром (70-80 см), а также листовая сталь или нержавейка. Толщина стенок бочки/трубы должна превышать 3 мм, стали — 5 мм.
- Листовой металл с толщиной 2-3 мм. Из него будет делаться бак для воды. Нужен только для прямоугольного котла.
- Труба с диаметром, равным 10 см.
- Металлические петли.
- Кран для бака с водой.
- Обрезки швеллера или арматуры.
Изготовление цилиндрического котла
Перед тем, как сделать котел для бани правильно, нужно составить чертежи или же найти в открытых источниках разные варианты и выбрать наиболее подходящий.
Свой цилиндрический вертикальный котел делают так:
- Берут бочку, вырезают в ней дно. Если используется труба с диаметром 40-80 см и длиной 1 м, то вырезать ничего не надо.
- Вырезают из листового металла или нержавейки круг с диаметром, который равняется диаметру бочки/трубы.
- К кругу приваривают ножки. Ими могут послужить остатки швеллера или балки.
- Возле отрезанного дна вырезают прямоугольное отверстие. Размеры 15х10 см. Одна из его длинных сторон должна быть на том же уровне, что и нижний край бочки.
- Приваривают к нижнему краю бочки круг с ножками.
- Выпиливают из металла дверку, приваривают к ней петли и ручку-задвижку. В дверке вырезают отверстие для движения воздуха. Оно может быть круглым или напоминать прямоугольник. В первом случае приваривают трубу с внутренней подвижной заслонкой. которая сможет полностью или частично перекрывать трубу. Во втором берут два уголка, обрезают одну из продольных сторон обеих так, чтобы осталось 3-4 мм и приваривают обрезанным боком над и под отверстием. После из тонкой листовой стали или нержавейки вырезают полосу, загибают один ее конец. Далее надо установить ее в пространство между двумя уголками. Приваривают петли дверки к бочке.
- Отмеряют 6 см от верха проема для зольной дверки, делают отметки. На этом уровне приваривают колосник. Его следует изготовить из листового металла (толщина 5 мм). Для этого вырезают круг и делают в его центре продольные отверстия длиной, равной радиусу бочки.
- Отмеряют 10 см от уровня колосников и вырезают отверстие для топочной дверки. Размеры отверстия 40х25 см. Изготавливают и фиксируют дверцу топки. Процесс аналогичен изготовлению зольной дверки за исключением поддувала.
- Внутренние стенки топки нужно обложить шамотным кирпичом .
- Делают перегородку между топкой и каменкой, которая также будет находиться в середине бочки. Перегородку надо установить так, чтобы высота топки составила 1/3 высоты бочки. Перегородку можно сварить из остатков швеллера. Между ними оставляют отверстия, однако они должны быть меньше размеров камней.
- Посередине высоты каменки (эта характеристика должна быть такой, как и в топке) вырезают отверстие, фиксируют дверцу.
- Вверху каменки приваривают круг с отверстием по центру. К дырке приваривают трубу диаметром 10 см и высотой, которая вдвое больше от высоты водяного бака. Все элементы нужно сварить так, чтобы швы получились герметичными.
- Изготавливают крышку бака с водой, а также внизу бака делают отверстие, приваривают трубу с диаметром ½ дюйма. К ней прикрепляют кран.
Прямоугольный агрегат
Прямоугольный котел для бани своими руками делают аналогичным образом. Правда, в самом начале обязательно рисуют чертеж, чтобы не сделать ошибку во время разрезания листовой стали на прямоугольники.
Особенности изготовления являются такими:
- Дверка может быть как сделанной собственноручно, так и купленной в магазине.
- Внутри топку также нужно обложить шамотным кирпичом.
- Каменку можно установить как над топкой, так возле или вокруг нее. Чтобы реализовать последний вариант, то есть обложить топку камнем, вокруг нее закрепляют металлическую сетку.
- К внешним сторонам топки следует приваривать ребра жесткости.
- Конструкция может быть как цельной, так и разборной. То есть обложенная внутри кирпичом топка может находиться внизу, а закрепленный на дымоходе бак с водой — под потолком или на любой сделанной из кирпича стене. Бак можно сделать из ободьев колес автомобилей. Берут два обода, срезают в каждом одну сторону, складывают, склеивают термостойким клеем и размещают бак вокруг трубы с соответствующим диаметром.
- Чтобы через стыки между отдельными частями котла с водяным контуром не шел дым, их следует изолировать с помощью асбеста.
- При необходимости можно вынести топку и зольник агрегата с водяным контуром в предбанник. Для этого две части удлиняют на величину, равную толщине стены. Если стена является деревянной, отверстие в ней нужно обложить асбестом или базальтовой ватой.
Электрокотел
Согласно разным видео электрические котлы для бани делают в такой последовательности:
- Берут металлическую трубу (диаметр 15,9 см, длина 35 см) и приваривают к ее концам заглушки.
- Вверху и внизу боковой стенки делают по отверстию. Диаметр — ¾ дюйма.
- К отверстиям приваривают патрубки с таким же диаметром и внешней резьбой на одном конце.
- В нижней заглушке вырезают отверстие и приваривают патрубок для спуска воды. На нем фиксируют вентиль.
- Делают отверстия для ТЭНов. Они могут быть в нижней или верхней заглушке, или в обоих одновременно. Последние два варианта подходят для систем с принудительной циркуляцией. Первый вариант подходит для систем как с насосом, так и без него.
- В отверстиях для нагревательных элементов будущего электрокотла фиксируют муфты. Их диаметр должен соответствовать размерам ТЭНа.
- Наверху будущего электрокотла делают отверстие и приваривают патрубок для клапана, который сбрасывает давление.
- Вкручивают ТЭНы и подключают к пускателю по схеме «Звезда». Эту схему можно увидеть на многих фото.
- Утепляют конструкцию. Для этого ее нужно обложить минеральной ватой. Можно обложить и иным утеплителем.
- К пускателю присоединяют блок управления и автоматический выключатель.
- К блоку управления подключают термодатчики.
- Изготавливают из листового металла (толщина 2 мм) корпус и устанавливают в нем электрический котел для бани и все дополнительные элементы.
Также можно изготовить электродный и индукционный котел для сауны. Эти самоделки можно увидеть на разных фото.
Котел для бани своими руками: из металла, с баком для воды, как правильно установить + чертежи

Строительство бани – это довольно затратный процесс. Если приобретать все оборудование в магазине, то парилка может обойтись в значительную сумму. Поэтому народные умельцы и просто люди, желающие видеть на приусадебном участке это строение, стремятся обустраивать парилку своими руками. Не в последнюю очередь это касается и отопительных приборов.
Что лучше: взять готовый котел в баню или смастерить его собственноручно? Чтобы решить эту дилемму, нужно рассмотреть все плюсы и минусы собственноручного изготовления и обозначить возможные сложности, которые могут возникнуть при его производстве. Нужно сразу сказать, что газовый котел для бани лучше не пытаться делать самостоятельно.
Во-первых, самопальный агрегат может взлететь на воздух, прихватив с собой и баню.
Во-вторых, эксплуатация подобного оборудования строжайшим образом запрещена техникой безопасности.
В то же время котел для бани на дровах можно сделать и самому, если есть все необходимое оборудование, а руки растут из правильного места. Котлы для бани на дровах можно сделать из металлической бочки с толстыми стенками, трубы или листов стали. Дефицита в них не наблюдается ни в одном подсобном хозяйстве.
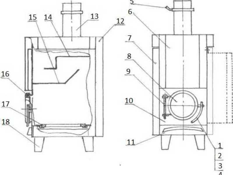
Основные составные части банного котла
Любая печь, в том числе банные котлы, состоит из следующих элементов:
- Топка, в которой происходит процесс горения дров, угля и других видов топлива. Она изготавливается из толстого металла. Это обусловлено тем, что топка имеет самую высокую тепловую нагрузку, металл недостаточной толщины быстро прогорит, а самодельный котел для бани придет в негодность. Дровяной котел для бани, а именно топка, должен быть оснащен колосниками. Через них зола от сгоревшего топлива просыпается в зольник. Толщина металла, из которого они изготавливаются, должна быть не меньше 0,5 сантиметра.
- Дымоход, по которому происходит отвод дыма. Решая, как сделать котел для бань, нужно как следует разобраться с принципом работы дымоходной системы и тщательно рассчитать ее размеры. Малейшая ошибка при монтаже дымохода может привести к недостаточной эффективности печи (тепло будет уходить в трубу) или неспособности справляться с отводом продуктов горения. Дымоход должен быть снабжен задвижкой, с помощью которой регулируется уровень тяги. В зимний период времени плотно закрытая задвижка в значительной мере способствует сохранности тепла в помещении. Труба дымохода может проходить через каменку или быть частью теплообменной системы.
- Зольник, предназначенный для скапливания золы. Этот элемент котла расположен под топкой. Помимо своей основной функции, он отвечает за подвод воздуха, который является составным компонентом процесса горения. Мастеря котел для бани своими руками из труб, следует тщательно рассчитать размеры зольника. Он должен быть способен вмещать в себя достаточное количество продуктов горения, чтобы его можно было чистить один раз в день.
- Каменка, перераспределяющая и отводящая тепловую энергию. Она представляет собой встроенную или навесную емкость, в которой уложены камни. Ее объем зависит от размеров котла и парилки. Маленькая каменка не сможет прогреть помещение, а большая будет нагреваться слишком долго. За это время котлы для воды успевают закипать, что становится причиной заполнения помещения водяным паром. При этом в парилке станет некомфортно. Размер каменки и водяного бака не должны отличаться. Можно сделать котел без каменки, но это не совсем удобно. Нагрев помещения будет осуществляться только от стенок котла. Кроме того, не получится «поддать парку».
- Бак для воды, являющийся частью теплообменной системы. Чугунные котлы для бани с баком для воды – это наиболее распространенное решение.
После того как основные составные части устройства, дающего тепло, обозначены, следует перейти к главному вопросу: как сделать котлы для бани из подручных материалов?
Какие материалы и инструменты потребуются для изготовления котла
Котлы для парилки в русскую баню изготавливаются с использованием следующих инструментов:
- сварочного аппарата;
- болгарки, с отрезным кругом, предназначенным для работы с металлом.
О том, как изготавливаются самодельные котлы для бани из трубы или бочки, поговорим немного позже. Для начала следует рассказать о наиболее распространенном варианте из листового металла. Помимо него понадобятся:
- небольшие отрезки арматуры и швеллеров – они нужны для изготовления внутренних перегородок;
- толстый лист металла (минимум 0,5 сантиметра) – он необходим для производства колосников;
- труба диаметром минимум 10 сантиметров;
- навесы для дверей топки и поддувала;
- краник для бака.
Рассказывая о том, как сварить котлы для бани, следует упомянуть об изготовлении распределяющего тепло экрана. Его лучше всего сделать из кирпича. Все, что нужно сделать, – это вплотную обложить им котел.
Печка из бочки
Как выбирать котлы для бань? Какой материал использовать для их производства?
Подобные решения следует принимать самостоятельно, беря в расчет доступность комплектующих частей. Кому-то удобней использовать листовое железо, а кто-то считает, что котлы на баню своими руками лучше делать из бочки или трубы. Они не отличаются и могут похвастаться одинаковым подогревом воды в емкостях и помещения в целом. Разница заключается в способе производства.
Справедливости ради нужно сказать, что котел в баню своими руками гораздо проще изготовить из бочки. Это наиболее простая конструкция. Все, что нужно, – это подыскать металлическую емкость с толщиной стенки не менее 0,3 сантиметра. Более тонкий металл быстро прогорит.
Изготавливать котел для бани на дровах из бочки нужно в следующем порядке:
- Дно емкости полностью вырезается. Вместо него устанавливается лист железа, толщиной не менее 0,5 сантиметра. К нему необходимо заблаговременно приварить ножки, которые можно сделать из обрезков тавровой балки.
- На высоте 5–7 сантиметров от дна требуется выпилить небольшое окошко (примерно 20×15 см.). На этом месте будет установлена дверца поддувала. Она изготавливается из выпиленного куска. К нему требуется приварить петли и ручку, после чего установить на законное место.
- Вторая дверца будущего котла для бани на дровах устанавливается на 20 сантиметров выше поддувала. Она должна быть значительно больше первой (примерно 25×45 см.). В противном случае в нее не влезут поленья.
- Котел для бани на дровах содержит в своей конструкции колосники. Их нужно разместить на 5–7 сантиметров ниже дверца топки.
- Над топкой требуется поместить каменку. Наиболее удобным местом ее расположения является вторая треть бочки. Перегородка между этими отделами котла не должна быть сплошной. Она изготавливается из швеллеров. Размер каменки равен второй трети бочки. Посередине каменки нужна дверца. Через нее закладываются камни и заливается вода, при желании «поддать парку».
- Из бочки можно изготовить котел для бани с баком. Для этого следует использовать оставшуюся треть бочки. Каменка и бак разделяются сплошной перегородкой, швы хорошенько провариваются. По центру бака нужно установить трубу дымохода.
Изучив чертежи подобных конструкций, можно легко соорудить печь. В этом нет ничего сложного. Все, что нужно, чтобы сделать котел для бани своими руками, – это строго следовать имеющейся инструкции. Перед эксплуатацией изготовленный банный котел необходимо зачистить от окалин и ржавчины.
При желании его можно окрасить термостойкими лакокрасочными материалами. На этом все. Котел своими руками, сделанный из бочки, готов. Его можно устанавливать в баню.
Отопление в баню из трубы делается таким же образом. Исключением является лишь начальный этап. Не придется вырезать дно бочки, но потребуется соблюсти размеры, отрезав трубу длиной 1,2–1,4 метра.
Отопительное устройство из листового железа
Подобная печь с котлом из металла для бани является наиболее сложной в производстве. Это обусловлено тем, что подготовленной заготовки не будет. Принципиально подобное устройство ничем не отличается от вышеописанного. Оно тоже содержит в себе 4 отсека: зольник, топку, каменку и бак.
Производство такой печи займет больше времени. Особенно придется повозиться с баком для воды, который должен быть практически герметичен. Зато в результате получится изделие ничем не отличающееся от произведенного на заводе.
Горизонтальный котел для бани
Наряду с вертикальными отопительными приспособлениями, не меньшей популярностью пользуются самодельные печки из труб и бочек, имеющие горизонтальную конструкцию. Изготавливаются такие изделия просто:
- Нужно взять двухсотлитровую бочку и вырезать в ней несколько отверстий. Два из них предназначены для установки теплообменной трубы. Она должна проходить через бочку насквозь. Еще два послужат в качестве поддувала и дверцы топки. Последнее отверстие необходимо для установки дымохода.
- В верхней части будущей печи можно сделать каменку. Часть бочки срезается, а в этом месте привариваются прутья арматуры в форме решетки. Далее нужно сварить конструкцию из листов железа в форме незавершенной перевернутой пирамиды.
- Заготовка печи оснащается ножками, после чего ее нужно подсоединить к дымоходу и теплообменной системе.
Изготовить подобную конструкцию не сложней, чем котел из бочки, устанавливаемый вертикально. Недостатком этого изделия является то, что оно занимает много места.
Электрическое отопление в баню
Если имеется необходимость отапливать только парную, то идеальным решением является твердотопливная печь. В противном случае, когда нужно отапливать предбанник, душевую и прочие комнаты, имеющиеся в банном строении, это вариант можно смело отмести.
Для обогрева большой площади лучше использовать электрический котел. Его изготовление и монтаж не имеют технически сложных моментов. Все, что нужно, – это вварить водонагревательные ТЭНы в емкость с водой и грамотно обустроить теплообменную систему.
Преимущества банных котлов, работающих на электричестве очевидны:
- отсутствует необходимость обустраивать дымоходную систему;
- простота монтажа, эксплуатации и обслуживания;
- высокая эффективность.
Наравне с преимуществами имеется существенный недостаток: значительный расход электроэнергии.
Монтажные работы
Как правильно установить котел, чтобы он равномерно обогревал парилку и возможно смежные помещения? Установка котла – это сложная задача. При монтаже следует учитывать:
- Путь дымохода и трубопровода теплообменной системы. Решая, как установить котел, нужно помнить, что дымоход, как и трубы теплообменной системы, не должен быть сильно длинным. В первом случае печь будет иметь слабую тягу, во втором – большой объем воды в системе не будет прогрет полностью. В то же время они не должны быть сильно короткими. Это чревато «вылетом тепла в трубу» и быстрым закипанием системы. Таким образом, решая, как сделать котел, нужно правильно рассчитать размеры сопутствующих конструкций.
- Расстояние до легковоспламеняющихся конструкций, например, бревенчатых стен. Если котел имеет экран из кирпича, то эта проблема не актуальна. В противном случае расстояние до стен должно быть не менее метра, или их нужно отделать теплоизоляционными не горючими материалами.
- Удаленность от лавок. В парной с металлической печью очень легко получить ожог. Подобная конструкция очень опасна, поэтому ее следует устанавливать на значительном удалении от полок.
Нужно строго соблюдать правила монтажа. От того, как установлена печь, зависит не только эффективность ее работы, но и безопасность посетителей парной. Схема правильной установки отопительного оборудования прилагается.
Так что же выбрать: печь, сделанную самостоятельно, или готовый вариант из магазина? Его даже не придется устанавливать. Компании, занимающиеся продажей подобных товаров, сами производят доставку и монтаж.
Выбирая приемлемый вариант, следует брать в расчет затраченные силы и средства. Люди сваривают самоделки, тратя деньги лишь на электроэнергию и электроды, все остальное найдется в каждом подсобном хозяйстве. Таким образом, котел для бани стоит «три копейки».
Изготовление устройства из листов железа может занять не один день. Не факт, что получится все с первого раза. Если хотите сэкономить и есть свободное время, то можете смело приступать к сборке. В противном случае рекомендуем подобрать приемлемый по мощности вариант в магазине.
Оценка статьи:
(2















































