Делаем печь для бани из металла своими руками — чертежи и процесс сборки

Выбрать печь для бани непросто. И кирпичные, и металлические печи имеют свои преимущества. И все же, если печь нужна для небольшой бани на даче, которой пользуются нечасто, а времени на прогрев мало, вполне можно обойтись металлической печью. К тому же, сварить ее можно в другом месте, а в дальнейшем установить в бане.
К достоинствам металлической печи можно отнести быстрый прогрев помещения – меньше, чем за час. Остывает она, правда, так же быстро, поэтому поддерживать в ней пламя придется все время, пока вы паритесь. Стоимость сооружения печи для бани из металла невысока, к тому же ее можно сделать своими руками, если есть навыки работы со сварочным аппаратом.
Конструкция печи
Вариантов изготовления металлических печей немало. Есть варианты изготовления из труб, металлических бочек или листовой стали, с вертикальной или горизонтальной компоновкой, с расположением топки в отдельном помещении, с различным устройством каменки.
Проще всего изготовить печь при помощи трубы – так сварочных работ будет меньше. Ее высота будет примерно 160 см, а диаметр – 70 см. Над топкой будет расположена закрытая каменка, доступ к которой будет осуществляться через дверку.
Сверху расположен бак с водой, температуру нагрева которой можно регулировать, добавляя холодной воды на каменку.
Инструменты и материалы
Для сооружения печи потребуются материалы:
- металлическая труба 50-60 см в диаметре длиной 160-170 см, толщина стенок не менее 10 мм,
- листовая сталь толщиной 8-10 мм,
- металлический прут диаметром 10 мм,
- колосник для топки, особенно удобно, если он круглый и совпадает по диаметру с трубой,
- металлические щеколды и петли для дверок – по 3 шт.,
- дымоход,
- кран для слива горячей воды
- талькохлорит или диабаз для заполнения каменки (они должны быть без примесей слюды).
Все эти комплектующие можно приобрести в крупном строительном супермаркете или в специализированном магазине по продаже оборудования для бань.
Из инструментов не обойтись без сварочного аппарата ( о выборе которого читать тут) и болгарки с диском по металлу.
Предварительная подготовка
Для печи нужно подготовить основание, помня о том, что металлическая печь должна располагаться не менее чем в метре от стен. Для этого еще при закладке фундамента бани заливают бетонный фундамент под будущую печь, он не должен соприкасаться с фундаментом стен.
Требования к фундаменту для металлических печей ниже, чем для кирпичных, так как они легче и не требуют идеально выровненного основания.
На полностью высохший фундамент (с момента его заливки должно пройти не меньше месяца) укладывают 2 ряда термостойкого кирпича, выжидают 2-4 недели, и основание для печи можно считать готовым.
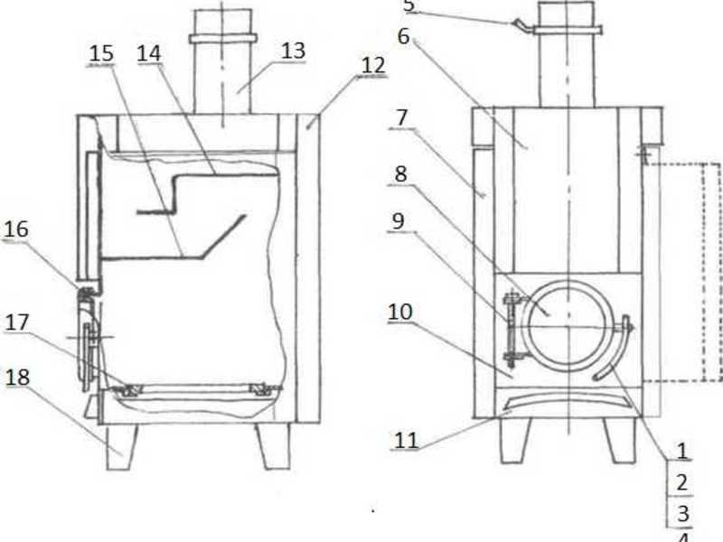
Этап 1: топка и каменка
Металлическую трубу болгаркой делят на 2 части: нижняя – 90 см пойдет на каменку и топку, верхняя – 70-80 см – на бак для подогрева воды. В самой нижней части большего отрезка трубы вырезают отверстие 20*5 см – это будет поддувало. Внутри трубы, чуть выше поддувала, приваривают крепления под колосник.
Выше топки располагают каменку. Ее дно можно сварить из прутьев, но проще использовать для этих целей колосник. Если дно выполняется из прута, необходимо учесть размер камней, которыми будет наполняться каменка.
В каменке проделывается отверстие таких размеров, чтобы через него удобно было лить холодную воду на камни. Удобнее, если оно располагается на противоположной стороне трубы от дверцы топки.
Отверстие закрывается дверкой, аналогично топочной.
Поверх решетки или колосника устанавливается труба дымохода, и равномерно закладываются камни. К верху участка трубы, в котором находится топка и каменка, приваривают заранее вырезанный круг из листовой стали и отверстием под трубу в середине. Сварочный шов должен быть герметичным, ведь сверху будет бак с водой.
Этап 2: водонагревательный бак
В нижнюю часть меньшего отрезка трубы врезают кран (при помощи сварки). Затем этот цилиндр приваривают к каменке. За качеством шва нужно следит внимательно, так как он не должен пропускать воду.
Сверху бак должен закрываться крышкой. Для этого круглую заготовку из листовой стали по диаметру бака делят в отношении 2:1 и разрезают.
В большей части проделывают отверстие по диаметру дымохода, надевают ее на бак и приваривают по контуру. На прямой участок крепят петли и навешивают на них меньшую часть круга – он будет играть роль дверцы.
Ручка с деревянной накладкой защитит руки от ожога, так как даже бак греется очень сильно.
Этап 3: Дымоход
Лучше, если часть дымохода, расположенная вне печи, будет защищена кожухом из сэндвич-трубы со слоем термоизоляции между металлом. Также изолировать его можно кирпичной кладкой. Если такой изоляции нет, то в местах прохождения дымохода через стену или перекрытия устанавливают потолочно-проходной узел.
Металлическая печь сильно нагревается, что может стать причиной оплавления или даже возгорания обшивки стен и мебели. Необходимо позаботиться о пожарной безопасности и обшить прилегающие деревянные стены тонкими металлическими листами или фольгой с термоизолирующим слоем. Еще лучше обложить печь облицовочным кирпичом или камнем, что убережет от ожогов и придаст печи красивый вид.
Металлическая печь для бани своими руками: чертежи, установка

Если на даче планируется возведение бани, то стоит подумать о том, как собрать металлическую печь для бани своими руками.
Конечно, качество бани во многом зависит от ее конструкции, однако немаловажную роль играет и печь, которая будет обеспечивать необходимую температуру во внутреннем пространстве.
Самодельные металлические печи в этом случае являются оптимальным решением, которое к тому же можно полностью реализовать своими руками.
Ее изготовление своими руками при правильном подходе не займет много времени, а кроме этого, позволит сократить финансовые расходы.
По своим характеристикам и надежности такая печь ни в чем не уступает кирпичной, и при необходимости обеспечит пространство бани хорошим жаром.
Кроме этого, для удобства пользования самодельные металлические печи дополнительно оборудуют специальным баком, в котором всегда будет находиться горячая вода.
Более подробно о том, как сделать своими руками печь из металла, рассказано на видео, которое размещено ниже.
Видео:
Особенности печи из металла
Металлическая печь, которую можно сделать своими руками, обладает рядом достоинств по сравнению с более привычной, выполненной из кирпича.
Такая печь работает по принципу постоянного горения, а значит, огонь в топке должен поддерживаться в непрерывном режиме.
Этот показатель для кирпичной печки составляет около трех часов. Также, остывание печи из металла происходит буквально за тридцать минут.
Установка такой печи в бане должна выполняться при строгом соблюдении мер пожаробезопасности. Это главным образом связанно с тем, что ее металлические стенки достаточно сильно прогреваются, что в некоторых случаях может стать причиной пожара.
Целесообразно устанавливать печь из металла в банях, которые имеют сравнительно небольшое пространство, так как для полноценного и эффективного прогрева помещения с большими внутренними объемами придется значительно увеличить расход используемого для ее прогрева топлива.
Конструктивно печь, выполненная при помощи металлических листов, может быть исполнена в самых разных вариантах. Ее можно сделать как с открытой каменкой, так и с закрытой.
Кроме этого, нет никаких ограничений и по ее конфигурации, а также по месту расположения.
Для ее изготовления допускается использование подручных металлических материалов, но только с достаточной толщиной.
В качестве основного материала для ее конструкции подходит как стальной лист, так и старые бочки с трубами. Также допускается свободное расположение ее отдельных элементов.
В первую очередь, следует учитывать непосредственно сам размер бани, а кроме этого, исходить из наличия тех или иных материалов и навыков работы.
Существуют специальные чертежи, на которых подробно расписаны конструктивные особенности абсолютно всех ее элементов.
Более подробно о том, как сделать своими руками печь из подручного металлического материала, рассказано на видео ниже.
Видео:
Подготовка к работе
Перед тем, как сделать печь из металла для бани, следует, используя соответствующие чертежи, подготовить весь необходимый материал и инструмент.
Наиболее простая конструкция должна состоять из нескольких отдельных элементов, включая бак для воды и топку.
Для их изготовления обязательно потребуется стальной лист, толщина которого должна составлять не менее восьми миллиметров.
Кроме этого, обязательно потребуется труба соответствующего диаметра и толщины, а также металлический прут и колосник.
Также необходимо иметь прочные щеколды, при помощи которых будут закрываться все технологические дверцы. Для отвода всех продуктов горения потребуется дымоходная труба.
Также следует иметь под рукой кран, который будет впоследствии смонтирован на баке с водой.
Так как все соединения печных элементов должны в обязательном порядке быть стальными, следует приобрести сварочный аппарат.
Также на подготовительном этапе следует учесть конструктивные особенности некоторых отдельных элементов.
Камера, в которой будет осуществляться горение топлива, в обязательном порядке должна иметь дверцу, а также небольшое технологическое отверстие для подачи необходимого воздуха.
Кроме этого, необходимо предусмотреть и небольшое технологическое отверстие для удаления скопившейся золы.
Также следует подумать об устройстве пространства для камней и месте расположения бака с горячей водой.
Имея под рукой соответствующие чертежи и весь необходимый для работы материал, можно приступать к сборке печи для бани из листов металла своими руками.
Поэтапная сборка
После того, как будет подготовлен весь необходимый инструмент и материал, можно приступать к работе своими руками. Для начала необходимо сделать топку и соответственно каменку.
Для этих целей следует воспользоваться большим куском трубы. В ней делается технологическое отверстие, которое будет использоваться в качестве поддувала, а над ним обустраиваются крепления под колосник.
Далее необходимо прочно закрепить дверцу и в противоположной от нее стороне проделать еще одно отверстие, при помощи которого можно будет водой охлаждать камни.
Далее обустраивается отверстие под дымоход и производится монтаж непосредственно самой дымоходной трубы.
Далее следует правильно оборудовать специальный бак для воды. Его собирают из оставшегося при работе куска металлической трубы.
Этот кусок необходимо установить и прочно закрепить с использованием сварки на верхнюю часть каменки. В нижней части этой трубы следует установить кран под горячую воду.
После этого следует позаботиться о крышке, которая будет закрывать данный бак. Ее можно изготовить из соответствующей заготовки круглой формы определенного диаметра.
Данную заготовку разрезают по центру на две равные части. Водной из частей делают технологическое отверстие под дымоход и герметично крепят при помощи сварки непосредственно к самому баку.
Вторую половинку трубы оснащают петлями и ручкой и укрепляют на баке. Нагреваться вода в баке будет за счет дыма, который будет подниматься наверх из каменки.
Более подробно о том, как собрать без посторонней помощи печь из металла для бани, рассказано на видео, которое размещено ниже.
Видео:
Правила установки
Установка самодельной печи, которая будет изготовлена тоже своими руками из металла, должна быть продумана еще на этапе строительства сруба бани.
Также ее установка требует, чтобы были полностью соблюдены противопожарные меры и правила, так как баня считается объектом повышенной опасности.
Непосредственно перед самой установкой следует на предварительно возведенном фундаменте уложить в два ряда специальный огнеупорный кирпич. Далее следует установка по всем правилам самой печи.
Агрегат должен находиться на расстоянии от поверхностей стен не менее чем на один метр.
Если сооружение полностью выполнено из деревянного материала, то поверхность стен следует в обязательном порядке защитить специальной огнеупорной фольгой, под которой также должен находиться утеплитель.
Это поможет предотвратить перегрев и соответственно возможное возгорание деревянной поверхности стены.
Установка печи из металла в бане также подразумевает монтаж дымохода, который следует максимально изолировать от внутреннего пространства.
В трубе такого типа между внутренним и внешним пространством кожухов особым образом проложен слой специального теплоизоляционного материала.
В том случае, когда дымоход под металлическую печь выполнен не из кирпича, а из металлической герметичной трубы, то в том месте, где он будет выводиться из внутреннего пространства на улицу, следует обустроить специальный проходной технологический канал.
Видео:
Данное отверстие дополнительно изолируется и герметизируется после того, как труба будет прочно закреплена. Специалисты рекомендуют готовую печь дополнительно обложить огнеупорным кирпичом.
Это позволит не только придать печи из металла более привлекательный внешний вид, но и даст возможность защититься от случайных ожогов.
В любом случае, для небольшой бани оптимальным вариантом является именно печь, выполненная из металла.
Она не требует серьезных денежных затрат, собирается достаточно быстро и без посторонней помощи. Кроме этого, не возникнет никаких сложностей и при ее последующей эксплуатации.
Металлические печи для бани своими руками

Строительство печи всегда требует аккуратности и соблюдения всех технологических требований. Особенно это касается конструкции для бани, так как печка считается ее самой главной деталью.
Основные задачи самодельной металлической печи это нагревать воду и воздух.
Каменка печи может быть:
Безусловно, в закрытой конструкции тепло сохраняется намного дольше. Однако чтобы достичь нужной температуры в парилке, потребуется больше топлива и времени.
Для нечастого посещения, профессионалы советуют устанавливать в баню закрытую каменку.
Парилка намного быстрее нагревается в каменке открытого типа. Однако если плеснуть на камни воду, она начинает быстро охлаждаться.
В парилке всегда располагают цельные камни, с округленными боками.
Чем отличается металлическая печь для бани от печи в сауне
Главным отличием можно назвать температуру парения. В сауне она может достигать 85 градусов, а иногда намного больше. Такая температура не допускает большой влажности. Человек может получить сильный ожог.
Поэтому в сауне всегда поддерживается влажность не больше 5–15%.
В обычной русской парной, значение температуры находится в диапазоне 55–65 градусов. Очень редко она может достичь 70 градусов. Для этой температуры специально поднимают значение влажности. Она находится в пределах 50–60%.
Чтобы решить такие задачи, нужен соответствующий подход к строительству печи. Для установки в сауне необходимо, чтобы корпус печи, как можно больше соприкасался с окружающей атмосферой. Воздушные потоки должны двигаться с большой скоростью вдоль стенок.
Главной задачей считается создание быстрого нагрева парилки до нужной температуры. В самой сауне обычно устанавливается небольшая каменка открытого типа, монтируемая над топкой.
Прогрев камней в подобной печи достигает только 200–250 градусов. Окружающий воздух забирает очень много тепла. Такая каменка может создать только небольшое количество пара. Для сауны этого вполне достаточно. Один ковш воды даст 15% влажность. Человек не сможет вытерпеть ее большее значение.
Задача обычной русской парной совершенно другая. Главное чтобы было много пара. Очень важно добиться его определенного состояния. Он должен иметь вид мелких капель. Такой пар получил название «сухого». Он отличается высокой температурой, примерно 130–150 градусов.
Человек, попав в подобные условия, чувствует мощный прилив сил. Чтобы получить такой пар нужно раскалить камни выше 500 градусов. Для этого их опускают глубоко внутрь топки, с установленной закрытой каменкой.
Все описанные выше отличия, нужно обязательно учитывать при строительстве печи.
Габариты каменки
Если утепление бани было сделано в соответствии с технологическим процессом, то объем парной будет влиять на количество камней. Существует несколько источников, которые рекомендуют применение определенного количества камней.
В среднем на 1 куб. метр положено 20–40 камней. Вообще-то, чем больше положено камней, тем быстрее можно получить нужный объем пара. Однако должно соблюдаться одно условие. Мощность печи должна быть достаточной, для их нагрева.
Основной проблемой, которую приходится решать, эта плотность камней. У каждой породы она своя. Поэтому одинаковая масса может отличаться разным объемом. Средняя парилка, имеющая объем 12–14 куб метров, хорошо прогревается каменкой с габаритами 30х40х30 миллиметров. В зависимости от конструкции печи эти значения могут изменяться.
Чтобы сделать такой теплотехнический расчет, нужны специальные знания и опыт. Гораздо проще, пользоваться готовыми чертежами, в которых уже высчитаны определенные пропорции. В принципе, как минимум, объем топки, в которой не установлена каменка, не должен быть меньше. В идеале, должен быть даже больше на 30-50%.
Изготовление банной печи из металла своими руками: варианты чертежей, изготовление, монтаж

Многие люди при обустройстве загородного участка наряду с домом возводят и баню. Чтобы она быстро прогревалась, а пар был высокого качества, не обойтись без печи. В эти сооружения устанавливаются специальные печи, отличающиеся от тех, которые размещают в домах. Многие выбирают металлические печи. Они обеспечивают довольно быстрый прогрев помещения и легко устанавливаются.
Если вы строите баню и сделали выбор в пользу металлической печи, то необязательно покупать её. Вы вполне можете построить её своими руками. Технология создания печи своими руками довольно простая, а материалы, применяемые при её сооружении, доступны для каждого.
Металлические печи для бани: конструкция
Многие владельцы устанавливают печи для бани своими руками из металла. Самые простые — буржуйки. Если говорить о конструкции таких печек, то они представляют собой ящик, снабженный дверцей и имеющий трубу.
Такие конструкции имеют определенные недостатки. Один из них – невысокая тепловая отдача. Кроме этого при их использовании возникают большие затраты на топливо. Поэтому в современных банях такие печи можно встретить крайне редко.
Если говорить о современных моделях металлических печек для бань, то они являются изделиями, относящимися к высокому классу безопасности. При изготовлении в качестве основного материала используется листовое железо.
Обычно применяют металл толщиной не менее 4 мм. В своем оснащении эти печи имеют тепловую камеру, которая используется для каменной засыпки. Большинство моделей имеют возможность для установки дополнительного бака для воды.
Его объем может доходить до 70 литров.
При установке металлическая печь для бани своими руками владельцы часто обкладывают конструкцию огнеупорным кирпичом. Это необходимо для обеспечения равномерного прогрева воздуха в помещении и безопасной эксплуатации изделия.
Банные печки могут иметь разную конструкцию, которая изначально должна быть определена чертежом. На основании этого признака выделяют несколько их видов.
- Банные печи закрытой конструкции. Размеры печей для бань такого типа очень компактные , поэтому чаще всего их установку производят в банях семейного типа. В целях повышения показателей теплоемкости при установке таких печей снаружи и внутри их обкладывают красным огнеупорным кирпичом. Металлические скрепы используются для фиксации кирпичей. Решетка для камней устанавливается в средней части печи.
- Банные печи открытой конструкции. Главной их особенностью является наличие бака небольшого объема. Каменка у таких печек открытая. В связи с этим при установке в парном отделении такой печи можно обеспечить быстрый прогрев помещения. Для увеличения теплоемкости печи необходимо накрыть камни оцинкованной крышкой.
- Банные печи комбинированной конструкции. Их главная особенность заключается в наличии топливника, который снабжен двумя задвижками. Также в конструкции присутствует решетка, поддувало и два патрубка. Последние различаются между собой по своему диаметру. У первого его размер составляет 10 см, а другого – 14 см. В них выделяют четыре отверстия, предназначенные для подвода трубы и обводного колена. Для изготовления печей такой конструкции в качестве основного материала используются стальные листы толщиной 5 мм.
Банная печь своими руками: инструкция
Чтобы правильно изготовить печи для бани своими руками, которая будет обеспечивать достаточную теплоотдачу и быстрый прогрев помещений бани, необходимо все выполнять по инструкции. Во время работ следует использовать качественные материалы и применять необходимые инструменты.
Как сделать печь для бани своими руками из металла: чертежи и видео

В любой бане должна быть печь, которая позволяет создать определенную климатическую атмосферу в парном помещении. На сегодняшний день существует множество разновидностей конструкций длительного горения, которые можно приобрести в специализированных магазинах или сделать своими руками.
Одной из самых эффективных является металлическая печь для бани. Чтобы самостоятельно собрать такое устройство, следует подготовить или скачать специальные чертежи, а также воспользоваться нижеприведенной инструкцией или посмотреть видео по сборке конструкции.
Это позволит сэкономить значительную сумму денежных средств.
Преимущества металлической каменки
Чтобы получить мягкий пар, необходимо собрать большую печь из кирпича, которая длительное время сохраняет тепло в бане. Но для этого необходим надежный фундамент, что приводит к дополнительным расходам.
https://www.youtube.com/watch?v=GJHxuMkCD1w
Металлическую печь длительного горения можно изготовить своими руками. При этом не нужно тщательно изучать схемы, чтобы создать сложную конструкцию. Еще одним преимуществом является то, что агрегат уже через полчаса нагревает парное помещение до оптимальной температуры.
Недостатки отопительного оборудования
Металлическая каменка не только быстро нагревается, но и практически моментально остывает. Поэтому для принятия банных процедур необходимо хорошо протопить устройство. Отопить парную для группы людей будет достаточно сложно.
Состав
Собрать устройство своими руками можно несколькими способами. Ее можно сделать из металлической емкости, листов или трубы. Если нет навыков работы со сварочным аппаратом, рекомендуется собрать агрегат из трубы.
Диаметр конструкции будет составлять 80 сантиметров, а высота, примерно, 170 сантиметров. Сверху изготавливается каменка и тара с водой.
Чтобы увеличить температуру в парной нужно на камни полить воду.
Инструменты и материалы:
- чтобы изготовить оборудование своими руками, в первую очередь, необходимо подготовить чертеж, так называемый эскиз с точными размерами;
- металлическая труба со 180-сантиметровой высотой и 60-сантиметровым диаметром. Стенки трубы должны иметь толщину около 10 миллиметров;
- 8-миллиметровый металлический лист;
- стальной прут с 10-миллиметровым диаметром;
- металлические дверцы;
- колосник;
- кран;
- дымоход.
Эти материалы продаются в строительных магазинах. Также необходимо подготовить аппарат для сварочных работ и болгарку.
Фундамент для печи длительного горения
Прежде чем возводить конструкцию, необходимо подготовить для нее надежное основание. Некоторые устанавливают отопительный аппарат на поверхность пола, но это является грубой ошибкой. Для любой печи нужно сделать фундамент.
Обычно дровяная металлическая печь весит не больше 150 килограммов, поэтому можно оборудовать достаточно простой фундамент. Нужно выкопать котлован, засыпать его и утрамбовать щебнем. Затем залить цементом и подождать, когда раствор застынет.
В качестве теплоизоляционного слоя можно выложить рубероид. Поверхность необходимо проверить строительным уровнем, чтобы она была достаточно ровной. Рекомендуется подождать два месяца перед установкой отопительного оборудования. После этого выложить два кирпичных ряда.
После этого, если подготовлены все чертежи, можно приступать к монтажу конструкции. Печь должна находиться на расстоянии 1 метра от поверхности стены, которая покрывается фольгой для пожарной безопасности.
Изготовление оборудования
Самодельная печь длительного горения изготавливается своими руками в несколько этапов. Чтобы качественно собрать конструкцию, необходимо последовательно выполнять все работы.
Монтаж топки
Болгаркой нужно разрезать пополам трубу из металла. Первая часть понадобится для изготовления топки, а другая часть – для подогрева бачки с водой. Снизу первой трубы необходимо сделать небольшое отверстие (поддувало), размеры которого составляют 20X5 сантиметров.
Также изнутри необходимо приварить специальные кронштейны для колосника. Чуть выше нужно проделать еще одно отверстие для топки: 20X25 сантиметров. Затем устанавливаются дверцы на закрепленные петли.
Каменка должна находиться над топкой, в которую устанавливается колосник или металлическая решетка, ячейки которой должны быть меньше размеров камней.
В каменке необходимо сделать окно, предназначенное для залива жидкости. Его рекомендуется расположить напротив топки, после чего установить дверцу. Над колосником устанавливается дымоход, после чего закладываются камни.
Сверху нужно приварить круг из металла, проделать в нем отверстие для второй трубы. Следует проверить швы сварки на водную непроницаемость, так как сверху будет находиться бак с жидкостью.
Бак для воды
Опираясь на чертеж, нужно приварить внизу второй трубы кран. Затем закрепить отрезок трубы к каменке при помощи сварочного аппарата. Шов нужно обязательно проверить на водную непроницаемость. К баку приваривается две половинки крышки. Одну следует приварить, а вторую установить на петли.
Дымоход
Трубу необходимо изолировать при помощи кирпича или термостойкого материала. Важно понимать, что самодельная металлическая дровяная печь нагревается до высокой температуры, поэтому повышена пожарная безопасность. Поэтому отверстие в потолке необходимо качественно и надежно изолировать.
Поверхность ближней стены также необходимо изолировать. Для этого можно воспользоваться листами из металла. Также самодельная конструкция длительного горения может быть обложена красным кирпичом, чтобы предотвратить воспламенение. Этот нюанс также должен быть внесен в чертеж.
Установка печи
Опытные мастера рекомендуют устанавливать оборудование длительного горения отдельно от парного помещения, чтобы в предбаннике также было тепло.
- Чтобы увеличить уровень пожарной безопасности, топка должна быть защищена металлическим листом, который быстро нагревается, поэтому ее не рекомендуется ставить в парном помещении.
- Частую закладку твердого топлива удобнее делать в предбаннике.
- Поэтому банная конструкция устанавливается в стене между помещениями. Стену необходимо изолировать асбестом или листом металла.
Также специалисты советуют монтировать приточно-вытяжную вентиляционную систему, чтобы в парном помещении циркулировал свежий воздух. Соблюдение этих простых требований может увеличить пожарную безопасность парного помещения, а металлический аппарат прослужит длительное время без сбоев.
Гибрид каменки и кухонной печи
Отопительные конструкции для бани можно совместить с кухонной печью. Такое оборудование длительного горения целесообразно устанавливать в том случае, если в бане есть комната отдыха, в которой можно не только расслабиться, но и перекусить. Это помещение необходимо внести в чертеж, чтобы не упустить никаких деталей строительства.
Также такая банная конструкция отлично подходит для парного помещения, которое пристраивается к кухонному помещению или частному дому. Топливник кухонного оборудования необходимо соединить с зольником печи. При этом дверца устанавливается только на каменке, так как для кухонного оборудования она не нужна.
Парное помещение и кухня отделяются перегородкой из красного кирпича. Чтобы избежать ожогов, рекомендуется установить металлический экран со стороны парного помещения.
Виды конструкций
Кроме традиционной печи из металла, есть множество вариантов отопительного оборудования. На видео демонстрируется принцип их работы. Основными из них являются:
- печь-калорифер;
- вертикальная конструкция;
- оборудование с открытым теплообменником и каменкой.
Последняя модель увеличивает температуру не только в парном помещении, но и в других комнатах. Такое оборудование длительного горения нагревается за короткое время.
Но, чтобы избежать теплового удара или ожогов, в стенках должна быть воздушная прослойка. Вода нагревается в теплообменнике, который устанавливается в топливнике.
Через каменку проходит дымоход, это позволяет увеличить теплоотдачу.
Изготовление любого из существующих устройств своими руками возможно только при качественной подготовке и наличии соответствующих чертежей. Эти печи отличаются тем, что корпус изготавливается из металлических листов, а не из трубы.
Если нужна небольшая модель, то подойдут проекты вертикальной печи. Металлический бак с водой монтируется над каменкой. В центре бачка при помощи сварочного аппарата крепится дымоход. Калорифер изготавливается с открытым теплообменником и камерой. Для этого понадобиться металлический лист с 5-миллиметровой толщиной.
Все варианты можно изготовить своими руками. Для этого нужно найти необходимые схемы и подготовить все материалы. Рекомендуется проконсультироваться с профессионалами по установке изолирующих материалов, так как от них зависит безопасность работы металлического агрегата. При необходимости можно посмотреть видео инструкцию по сборке устройства.















































