Какой ширины должна быть лестница в доме

Какая ширина лестницы считается самой удобной? Какой размер должны иметь ступени? Как правильно рассчитать ширину лестничной конструкции, ступеней и промежуточных площадок? На эти вопросы отвечают специалисты компании СМ КВАDРАТ.
Параметры лестницы, установленной в доме, имеют большое значение. При проектировании этого основополагающего для любого помещения сооружения важна точность расчетов, чтобы пользоваться лестницей было не только удобно, но и безопасно. Существует несколько критериев, которые учитывают специалисты при изготовлении проекта и создании конструкции.
Определяем оптимальную ширину лестницы
Для того, лестница была удобной, а ее ширина оптимальной, следует учесть следующие факторы:
- Размер помещения. Чем просторнее помещение, тем шире может быть лестница, в нем установленная. В этом случае Ваша гостиная, со стильной и оригинальной конструкцией, или, наоборот, маленькая и уютная дача с компактным подъемником будут смотреться гармонично.
- Высота потолков в помещении. От этого показателя также зависит ширины конструкции: если в комнате высокие потолки, лестница также должна быть соответствующей. Ведь длинный и широкий лестничный марш в высоком помещении визуально смотрится гораздо лучше, чем узкие сооружения.
- Назначение помещения. Безусловно, просторная, широкая и приятная глазу лестница будет уместнее смотреться в холле или гостиной, нежели в скрытых от посторонних глаз комнатах. А вот для служебных помещений, расположенных внутри дома, а также в качестве запасных или пожарных лестниц, установленных снаружи, подойдут более узкие варианты.
- Материал. Если Вы отдаете предпочтение тяжелым материалам, это также отражается на ширине лестницы. Достаточно вспомнить роскошные дворцовые мраморные лестницы – они поражают своим великолепием именно за счет огромной ширины! Выигрышно будут смотреться и широкие ступени, выполненные из натурального массива дерева, например бука или дуба. А вот легкий металл, такой как ковка или нержавеющая сталь создаст ажурный эффект, поэтому сама лестница вполне может быть узкой.
- Количество пользователей. Ширина лестничной конструкции напрямую зависит не только от количества жильцов дома, но и их возраста, состояния здоровья. Маленьким детям, а также пожилым людям комфортнее и безопаснее будет подниматься и спускаться по широким ступеням, а вместительные промежуточные площадки (одна или даже несколько) позволят перевести дух и разойтись, если лестницей решили воспользоваться сразу несколько членов семьи.
На самом деле, определенных конкретных стандартов для расчета ширины лестничной конструкции нет.
Есть лишь рекомендации – усредненные данные для стандартных изделий, в которые необходимо уложиться, чтобы в итоге получить удобную и безопасную лестницу, подходящую для ежедневного использования на протяжении многих лет. А вот конкретные размеры смогут рассчитать специалисты, изучив конкретно Ваш дом, Вашу семью и Ваши желания!
Оптимальные размеры лестницы
Оптимальной по всем параметрам лестничной конструкцией для дома считается одно- или двухмаршевое сооружение, ведущее из прихожей, холла или гостиной на второй этаж к жилым комнатам:
- Лестница может быть оборудована промежуточной площадкой или просто иметь плавный поворот, и обязательно перила. Высота потолков первого этажа при этом варьируется от 2,5 до 3 метров.
- Оптимальная ширина такой конструкции, то есть длина ее ступеней, должна находиться в переделах значений 90-150 см. А минимальная высота планки, которая закрывает просвет между ступенями (подступенка) – 15 см. Глубина шага или ширина ступени не должна быть меньше 30 см.
Эти и другие параметры указаны в СНиП 31-02. Данные, приведенные в документе, совсем не обязательны к четкому исполнению, но вот учитывать их при разработке проекта лестницы все же стоит.
Установленный минимум ширины связан, в первую очередь, с требованиями безопасности: такое расстояние является оптимальным, способным обеспечить оперативный спуск во время срочной эвакуации.
Максимальное значение этого параметра – 150 см объясняется размерами частных домов и установленных в них лестничных пролетов.
Обратите внимание
Безусловно, этот показатель может быть еще увеличен в зависимости от высоты потолков и размера помещений.
Учитывая указанные параметры, специалисты все же отмечают – необходимый минимум в 90 см не всегда способен обеспечить требуемый уровень комфорта и безопасности.
Оптимальным вариантом является лестница, ширина которой составляет 120-150 см. При таком размере ступеней на них смогут беспрепятственно разойтись два человека нормальной комплекции.
Безусловно, речь в данном случае идет о маршевых, традиционных лестницах. Для винтовых этот показатель равен 100 см.
Когда площадь дома ограничена и приходится экономить каждый квадратный метр, минимальную ширину лестницы можно немного уменьшить, при этом сохранив высокий уровень комфорта.
В этом случае стоит учитывать тот факт, что одному человеку удобно будет пользоваться лестницей, имеющей ширину около 60 см.
Однако такое расстояние будет недостаточным, чтобы поднять на второй этаж, например, кровать, шкаф или другие громоздкие предметы.
Важные нюансы, которые следует учитывать при выборе лестницы
Помимо указанных общих параметров, существует и ряд других, не менее важных моментов, связанных с шириной лестницы. Так, для удобства и комфорта ступени каждого марша должны иметь одинаковую высоту и ширину. В этом случае нога сразу привыкает к заданному ритму и при перемещении будет гораздо труднее оступиться, когда приходится передвигаться, например, в темноте.
Отдельно стоит обозначить оптимальные размеры горизонтальных площадок.
Как уже было отмечено – без них не обойтись, если в доме есть пожилые люди или маленькие дети, которым сам подъем дается нелегко и которым требуется передышка.
Эти площадки должны иметь размеры не меньше, чем ширина самого изделия. Ее необходимо сохранить, чтобы обеспечить пожарную безопасность, а длину – остановить непредвиденное падение.
Сегодня популярностью пользуются криволинейные лестницы, в которых функцию площадки выполняют поворотные трапециевидные ступени. В этом случае необходимо обратить внимание и на размеры этих элементов. Их ширина в самой узкой части, на внутреннем конце, не должна быть не меньше 15 см, а посередине – от 20 см.
Индивидуальные факторы, влияющие на ширину лестницы
Главное условие, которому должна отвечать ширина установленной лестницы – индивидуальные особенности ее пользователей.
Выбирая конструкцию можно самостоятельно сделать предварительные расчеты, выведя идеальные параметры каждой ступеньки, учитывая Ваш рост и рост членов Вашей семьи.
Согласно действующей универсальной формуле наиболее удобной ступенью будет та, при которой сумма ее глубины и двух подъемов равна длине шага при ходьбе со средней скоростью.
Важно
Чтобы было более понятно, рассмотрим данную формулу на конкретном примере: средняя величина шага – около 60 см (учитывая средний рост человека). При оптимальной глубине ступеней в 30 см мы получаем высоту, равную 15 см.
Здесь мы привели общие, наиболее полезные рекомендации проектировщиков, изготовителей и монтажников лестниц, которые работают в компании СМ КВАDРАТ. Важно помнить, что каждый дом, как и каждый человек – индивидуален, и чтобы получить идеальную лестницу, размеры которой подойдут именно Вашей семье – стоит обратить за помощью к профессионалам своего дела!
Оптимальные параметры межэтажной лестницы

Межэтажная лестница в доме должна быть не только красивой, но и удобной — это главный критерий оценки конструкции. Речь здесь идет о совокупности нескольких категорий — безопасное ограждение лестничных проемов, угол подъема и спуска, ширина прохода, наличие поворотных участков, свободного пространства над головой поднимающегося человека.
В соответствии со своим назначением, межэтажные лестницы должны иметь следующие показатели: — удобный и безопасный подход для подъема и спуска; — удобное и безопасное расположение перил (поручней); — максимальную надежность и удобство в эксплуатации;
— соответствие ширины и высоты ступеней удобной длине шага и удобному подъему ноги.
Так же,по правилам безопасности, межэтажная лестница должна находиться в хорошо освещенном месте, что напрямую связано с безопасностью при ее эксплуатации. Требование к освещенности тоже должно соблюдаться.
Существуют определенные параметры, при соблюдении которых, лестница в Вашем доме будет наиболее удобной в эксплуатации.
Ширина лестничного марша
Оптимальная ширина лестничного марша (ширина ступенек) около 1 метра. Конечно, лестница может быть как уже, так и шире, однако, при уменьшении ширины марша до 80 см, передвижение становится менее комфортным. Лестница с шириной марша более 110 см обязательно должна снабжаться пристенным поручнем.
Соотношение глубины ступеньки и высоты шага
Оптимальная глубина ступеньки (ширина проступи) — той части ступеньки, куда встает нога — составляет 25 — 30 см. Существует «Золотой стандарт» — 26 см.
Напрямую от ширины проступи ступени зависит высота подъема (ее еще называют высотой ступеньки, высотой шага), которая может колебаться от 15 см до 21 см. Чем ниже высота подъема, тем меньше угол наклона межэтажной лестницы, а значит, удобней подъем по ней. Оптимальное значение — 18 см.
При этом, с одной стороны, подниматься по лестнице будет достаточно легко, но, с другой стороны, перешагивать через ступеньки вряд ли захочется.
Взаимосвязь ширины проступи и высоты ступеньки обусловлена физиологией человеческой ходьбы. Чем выше подъем, тем уже должна быть ступенька, и наоборот.
Угол наклона лестницы
Угол наклона лестницы должен составлять 30-40°.
Например, при высоте подъема 18 см оптимальной глубиной ступеньки считается значение 26 см, а при высоте подъема 15 см – порядка 30 см. Желательно не делать межэтажную лестницу круче 45°, поскольку спускаться с нее будет небезопасно.
Особое внимание вопросам безопасности следует уделить в случае, если в семье есть дети. Не стоит делать лестницу слишком крутой, даже если в семье нет пожилых людей, и все ее члены находятся в отличной физической форме, ведь лестница устанавливается не на один год.
Ограждение на лестнице
Любая лестница должна снабжаться ограждением, комфортная высота которого составляет 90 см.
Забежная линия
Следует также отметить, что все ступени в лестнице должны иметь одинаковый размер в месте прохождения забежной линии – по который проходит поднимающийся или спускающийся человек.
Это обусловлено тем, что при однообразном движении тело привыкает к определенной повторяющейся высоте и глубине ступени.
Если эти параметры от ступеньки к ступеньке будут различаться, то появляются зоны риска, в которых человек может споткнуться и упасть.
Покупая лестницу в нашей фирме, Вы можете быть уверены, что лестница будет выполнена в соответствии с оптимальными параметрами, будет удобной и безопасной для Вас и Ваших близких.
Вы можете ознакомиться с нашими работами по этой ссылке.
Параметры лестницы для дома – о чем говорят нормативы

Современное общество должно подчиняться определенным законам и правилам, иначе в мире наступит хаос.
Строительная отрасль, как и любая другая, имеет свои нормы и требования, прописанные в соответствующих разделах и главах СНиП, ГОСТ, СанПиН, в которых устанавливаются стандарты, условия проектирования и выполнения работ, допустимые отклонения в размерах и многое другое.
Не исключение составляют и параметры лестницы для дома, которые, в отличие от большинства нормативных показателей, можно немного изменять в одну или другую сторону. Но делать это разрешается только в рамках допустимого. Иначе готовая лестница будет неудобной для передвижения людей или даже опасной.
Соотношение основных параметров лестницы
Для того чтобы обеспечить комфортные условия перемещения, специалисты при выполнении расчетов опираются на следующие взаимозависимые параметры лестницы для дома:
- высоту подступенка (подъема);
- ширину проступи в плане;
- уклон лестничного марша.
В нормативных документах указываются допустимые пределы всех трех показателей для лестниц, но наиболее удобными считаются:
- высота подъема – от 150 до 180 мм(допустимая – от 120 до 200 мм);
- глубина проступи – от 280 до 320 мм(допустимая – от 235 до 355 мм);
- угол наклона – от 30 до 45 градусов (допустимый – от 24 до 60 градусов). Лестницы, имеющие уклон более 45 градусов считаются крутыми и не слишком удобными, но они незаменимы в стесненных условиях.
Эти показатели нельзя выбирать произвольно, они зависят друг от друга и еще от нескольких факторов:
- от длины лестничного марша в плане;
- от габаритов лестничного проема;
- от расстояния между уровнями чистого пола первого и второго этажа;
- от количества подъемов (по нормативам – от 3 до 18).
Стоит отметить, что несоблюдение предлагаемых нормативами соотношений и габаритов лестничных конструкций может привести, в лучшем случае, к трудностям при подъеме или спуске, а в худшем – к больничной койке.
Дополнительные параметры
Несмотря на название, дополнительные параметры лестницы на второй этажявляются не менее значимыми, чем основные. Среди них можно отметить следующие:
- ширину марша и площадок;
- высоту ограждения;
- расстояние между потолком нижнего этажа и ближайшей проступью.
Начнем с того, что «полезная» ширина лестницы для жилых домов должна составлять не менее 0,90 м, а размер промежуточной площадки не может быть меньше габаритов марша, опирающегося на нее. Допускается в узких проемах устанавливать лестницы шириной 0,60-0,70 м. Человек сможет по ней подняться на второй этаж, но пронести крупногабаритные вещи у него вряд ли получится. Это необходимо учитывать.
Говоря о параметрах лестничного ограждения, стоит отметить, что его безопасная высота вместе с поручнем составляет 0,90 м для лестниц, расположенных в жилых помещениях, а там, где находятся маленькие дети, перила рекомендуется ставить высотой 1,20 м.
К тому же, регламентируются минимальные расстояния «в свету» между отдельно стоящими балясинами. Их разрешается делать не более 0,15 м. В противном случае свободное пространство необходимо оградить защитными экранами, продольными или поперечными стойками.
Совет
Еще один важный параметр, на который стоит обратить внимание, — это минимальное расстояние по вертикали от поверхности ступени до находящейся над ней потолочной конструкции, другими словами, критическая высота лестницы. Она должна составлять не менее двух метров, чтобы при спуске или подъеме невозможно было травмировать голову.
При расчете и монтаже внутридомовой лестницы не следует игнорировать рекомендуемые для нее размерные параметры, тем более что в небольших пределах их можно изменять. Это поможет защитить родных и близких от непредвиденных ситуаций!
Какой должна быть высота ступени лестницы по ГОСТу?

Почему к размерам ступеней предъявляют особые требования, прописанные в специализированных документах? Потому что они во многом решают, насколько удобно будет пользоваться лестничной конструкцией. Если речь идет о пожарных лестницах, то в данном случае именно параметры данных элементов определяют то, насколько быстро человек сможет покинуть горящее здание.
Существует, как минимум, две разновидности ступеней: прямые и забежные. Они могут быть изготовлены из дерева, бетона или металла, но требования, предъявляемые к их параметрам, не изменятся.
Даже если вы собираетесь соорудить конструкцию для собственного частного дома, необходимо рассчитать оптимальный размер ступени лестницы, который и будет определять удобство и безопасность человека при подъеме. А уж если вам необходимо поставить лестницу в здании общественного пользования, то здесь в обязательном порядке следует руководствоваться требованиями ГОСТ.
Каким параметрам в официальном документе прописан определенный стандарт? Это ширина и высота ступеней, а также угол наклона лестницы. Именно данные размеры следует учитывать при сооружении конструкции.
Требования по СНиП и ГОСТ
Чтобы ориентироваться в правилах определения оптимальных параметров, необходимо разбираться в анатомии ступеней лестницы.
Данный элемент конструкции состоит из подступенка, иначе, ее вертикальной плоскости, и проступи – плоскости горизонтальной.
Элементы объединяются в ряды, именуемые маршами, и в стандартной лестничной конструкции опираются на косоуры, поддерживаемые тетивами. Самые нижние и верхние элементы подъема носят название фризовых.
Удобство и безопасность ходьбы связаны с таким понятием, как величина человеческого шага, равная 60 – 64 см. Часто, чтобы сделать расчет размера ступени, используют специальную формулу, открытую Блонделем.
2х+y=60, где х – это расстояние в сантиметрах между двумя находящимися рядом ступенями, а у – это расстояние между краем одного и другого элемента.
Для расчета безопасной конструкции часто пользуются формулой х+у=45.
Для расчета параметров удобной лестницы выведена формула х-у=12.
Иными словами, формула удобства выражается в разнице между размером подступенка и горизонтальной плоскости в 12 см. Формула безопасности – это, напротив, сумма размеров ширины и высоты, которая равна 45 см.
Но чтоб не делать лишних вычислений, достаточно заглянуть в регламентирующие документы и просто неукоснительно следовать параметрам, указанным в них.
- При наличии более двух этажей внутри здания необходимо сделать один пролет. Причем, ширина пролета должна быть в диапазоне 80 – 120 см;
- Марш включает в себя от трех до 18 подъемных элементов. Для общественных зданий количество ступеней снижено до 16;
- Идеально, если количество элементов нечетное, что позволяет начинать и завершать процесс подъема с одной и той же ноги;
- Угол наклона лестницы при подъеме должен составлять более 6 градусов, но менее 45;
- Высота ступеней лестниц – это важный параметр. Нормы и правила, указанные в документах, позволяют этому размеру варьироваться в пределах 15 – 20 см. В пределах марша допускается различие между высотой подъемных элементов в 0,5 см;
- Ширина элемента должна быть не менее 25 см. Если лестницы обустраиваются в подвалах или чердаке, то нормы и правила позволяют уменьшить данный размер на 5 см;
- Максимальный выступ подъемного элемента – 3 см;
- Исходя их требований СНиП, площадка конструкции должна находиться в строгом соответствии с шириной ступени. Расстояние от нее до двери должно быть порядка метра;
- Ограждающие конструкции должны иметь высоту в 90 см. Расстояние между балясинами должно быть 10 – 15 см;
- При конструировании или выборе поручней и перил нужно рассчитывать нагрузку с запасом. Регламентирующие документы указывают, что перила должны выдерживать вес в 100 кг и более. Это позволяет взрослому человеку полностью облокотиться на ограждающую конструкцию;
- Между ступенями и потолочной плоскостью должно быть расстояние в 200 см. Минимум – 195 см для лестничного пролета.
Угол наклона лестницы и параметры подъемных элементов часто бывают связаны.
Так, если угол от 5 до 20 градусов, высота ступени должна иметь размер в 13 см, а ширина быть равной 37 см. Данный угол наклона характерен для уличных конструкций.
В таком случае ширина ступени приближается к значению в 29 см, а высота – к 17 см. Угол в 30 – 45 градусов характерен для жилых зданий.
Именно в данном случае размеры ступеней довольно удобны для частого подъема: ширина равна 23 см, а высота – 20 см.
Обратите внимание
Впрочем, удобство применения лестницы зависит и от высоты этажей здания. Опытным путем доказано, что при высоте в 3,3 метра при количестве ступеней в 20 штук, высота подступенка должна быть 16, 5 см. При высоте этажа в три метра – 15 см, в 2,7 – 13.5, в 1,4 – 12 см.
Высота подступенка увеличивается обратно пропорционально количеству ступеней. То есть, если подступенка при высоте этажа в 2,7 м составляет 16,8 см, то лестница должна иметь 16 ступеней. Если увеличить их количество хотя бы на одну ступень, то высота подступенка должна составлять уже 15, 8 см.
Наиболее удобной и безопасной лестницей считается конструкция с шириной ступеней в 30 см и высотой в 15 см.
Если речь касается забежных ступеней, то здесь требования к размерам немного иные.
Стоит начать с того, что сама конструкция забежной ступени отличается от маршевой и представляет собой трапециевидный элемент, внутренняя сторона которого меньше наружной.
У забежной ступени минимальная ширина проступи по линии хода должна иметь размер в 25,4 см. С узкой стороны она должна составлять 10 – 5,2 см, а расстояние линии хода от лестничного края – 30,5 см.
Гост на размер ступеней эвакуационных лестниц
Особенное внимание стоит уделить стандартам лестничных элементов эвакуационных лестниц, которые требуются по регламентирующим документам.
Для специальных конструкций ширина проступи должна составлять 25 см, но не меньше при ширине марша в 90 см. Ограждающие конструкции по правилам должны быть более 120 см.
Нормы и правила пожарных лестниц с маршами предусматривают ширину и высоту ступеней в 20 см, если угол наклона составляет 45 градусов. При большем уклоне, высота подступенка может быть 30 см.
Важно
Вертикальная конструкция также имеет стандартные размеры ступеней, хотя ее внешний вид разительно отличается от типичных лестниц.
Ширина конструкции при наличии маршей должна быть 80 см. Если маршей нет, то вертикальная конструкция по ширине должны быть 60 см. Расстояние между ступенями, иначе, поручнями – максимум 35 см. Расстояние нижнего фризового элемента от земли должно быть не менее 25 см.
Размеры лестницы в частном доме
Если вы собираетесь самостоятельно изготовить и смонтировать лестницу для своего дома, вы, конечно, можете обойти нормы ГОСТ и СНиП, но в ваших интересах придерживаться средних показателей, которые давно оправдали себя на практике.
Для начала необходимо определить количество ступеней, которое будет в вашей конструкции. Оптимальная высота ступени лестницы – 20 см. Чтобы узнать, какое количество ступеней должно быть у вашей домашней установки, нужно высчитать высоту лестницы и разделить на 20 см. Например, если высота лестницы – три метра, то количество ступеней будет 15.
К поверхностям подъемных элементов обычно не предъявляют жестких требований. Однако если речь не касается лестниц пожарной безопасности, не допустимо, чтобы поверхность была гладкой. Поэтому для устройства площадок и ступеней применяют рифленую, штампованную или со стальными полосами поверхность.
В условиях собственного дома для обеспечения безопасности можно постелить на лестницу ковер.
Рассчитать оптимальные параметры ступеней несложно, но чтобы сделать это грамотно, нужно для начала вычислить размеры всей конструкции. При расчете устройства следует обращать внимание на эргономические особенности, в частности, величину шага, размер ноги и вес человека.
Ширина лестниц в частном доме: оптимальные размеры и рекомендации

На сегодняшний день довольно-таки много людей мечтает жить в собственном красивом и уютном двухэтажном доме. Если вы занимаетесь строительством частного многоэтажного дома, то для перемещения между этажами просто необходимы лестницы. Однако какой должна быть ширина лестниц, размеры ступеней и высота ограждения? Обо всем этом пойдет речь далее.
Не существует каких-либо четких правил, которыми следует руководствоваться при строительстве конструкции, поскольку каждый конкретный случай уникален. Все зависит от планировки здания, функциональности и удобства эксплуатации, а также предназначения самой лестницы, которую вы хотите получить.
Существует определенная классификация конструкций по нескольким критериям, от которых зависит и минимальная ширина лестницы. Все они по своему предназначению условно подразделяются на:
- рабочие;
- межэтажные;
- входные;
- проходные.
Помимо этого, лестницы могут располагаться внутри помещения или за его пределами, а также обладать прямой или поворотной формой. Уступы какой конструкции и формы выбрать, зависит исключительно от ваших предпочтений и планировки.
Конструктивные особенности
Любая лестница, независимо от формы, размеров и месторасположения, состоит из нескольких обязательных конструктивных элементов:
Размеры
Если вы решили самостоятельно построить лестницу, очень важно рассчитать правильные размеры для нее, поскольку от этого зависит удобство и безопасность при перемещении между этажами. Ширина лестниц зависит от нескольких факторов, о которых и пойдет речь далее.
Безопасность
Любой подъем в первую очередь должен быть безопасным, поэтому когда рассчитывается высота и ширина лестницы, необходимо учитывать множество факторов, особенно если с вами проживают дети, пожилые и люди с ограниченными физическими возможностями. Помимо этого, следует учитывать и основные требования, диктуемые правилами пожарной безопасности. Это очень важно, ведь в случае пожара все жильцы дома должны суметь безопасно его покинуть.
При возведении ограждения балясины должны находиться друг от друга на расстоянии не более 15 сантиметров. Этого вполне будет достаточно для предотвращения падения человека со второго этажа в случае, например, если он споткнется или поскользнется. А если у вас есть маленькие дети, то этот промежуток должен быть еще меньше, чтобы ребенок не мог просунуть голову между балясинами и застрять.
Если вас интересует вопрос о том, какая должна быть ширина лестницы на второй этаж, то рекомендуется ознакомиться с основными требованиями и стандартами, описанными в строительной документации.
В ней вы найдете множество советов и рекомендаций.
При правильном их соблюдении у вас не только будет оптимальная ширина лестницы в доме на второй этаж, но и высокий уровень безопасности, а также отличная функциональность и удобство эксплуатации.
Основные требования к размеру лестниц в частном доме
На сегодняшний день существует стандартная техническая документация, в которой перечислены основные требования к возведению лестниц в частном доме. Их соблюдение хоть и не является обязательным, однако иметь о них хоть какое-то представление все же необходимо. Далее будут представлены общие требования.
Требования к ширине лестниц
Минимальная ширина лестницы в частном доме составляет 90 сантиметров. Более узкие конструкции делать не рекомендуется, поскольку в случае необходимости экстренной эвакуации вероятны случаи травматизма. Это же касается и уровня наклона лестницы, который не должен превышать угол в 40 градусов. При большем наклоне сильно возрастает вероятность падения.
Оптимальная ширина ступеней
Ширина ступеней лестницы должна быть абсолютно одинакова, чтобы в случае перемещения без света в ночное время вы не могли оступиться и упасть. Оптимальный показатель составляет от 21 до 35 сантиметров, а высота должна быть в пределах от 12 до 20 см.
Большое значение имеет и количество ступеней в одном марше. Чем их будет больше, тем выше вероятность получения травмы в случае падения.
Оптимальное количество ступеней в одном марше, если соблюдена рекомендуемая ширина ступеньки лестницы, составляет двенадцать.
Требования к площадкам и ограждениям
Чтобы конструкции были безопасными и удобными, размеры площадок лестницы должны соответствовать размерам ее пролетов. Площадки не должны препятствовать быстрой эвакуации со второго этажа при возникновении пожара. Высота ограждения должна быть не менее 90 сантиметров, а перила должны быть способны выдержать нагрузку как минимум 100 килограмм.
Удобство эксплуатации
Ширина лестницы на второй этаж влияет не только на безопасность, но и на удобство ее эксплуатации, что также является очень важным. Поэтому перед возведением конструкции обязательно сделайте расчеты. Какая ширина лестниц должна быть, чтобы по ней было удобно перемещаться между этажами?
Ширина пролетов и площадок должна быть такой, чтобы могли свободно передвигаться два человека средней комплекции. Если говорить о числах, то для частного дома будет достаточно ширины 130 сантиметров.
Если в доме проживает небольшое количество людей, то ширина лестниц при ограниченном свободном пространстве в доме или особенностях планировки может быть уменьшена до 90 сантиметров, однако в этом случае по ней сможет перемещаться только один человек.
Совет
Помимо этого, переносить мебель или другие крупногабаритные предметы будет невозможно.
Что касается угла наклона, то наиболее безопасными и эргономичными являются лестницы с наклоном от 30 до 40 градусов. Для комфортного перемещения между основным помещением и чердаком подойдет лестница с уклоном до 70 градусов. Этого будет вполне достаточно, чтобы подняться на чердак, и позволит сэкономить свободную площадь.
При возведении лестницы рекомендуется делать площадку, ширина которой равняется аналогичной у пролетов.
При этом длина пролетов рассчитывается исходя из нескольких параметров, основными среди которых являются угол уклона и форма лестницы.
Если вы не можете рассчитать все размеры самостоятельно, то в этом случае лучше поискать готовые проекты лестниц или обратиться за помощью к профессиональному строителю, обладающему необходимыми знаниями и опытом работы.
Размеры ступеней рассчитываются исходя из ваших физиологических особенностей и роста.
Самыми удобными для перемещения по лестнице считаются ступени, у которых ширина и высота подобраны таким образом, чтобы обеспечивать удобный шаг при обычной скорости ходьбы.
У среднестатистического взрослого человека длина шага составляет приблизительно 62 сантиметра. Таким образом, исходя из рекомендаций, описанных выше, при ширине ступеней в 30 сантиметров их высота должна составлять около 16 сантиметров.
Несколько слов о пожарной лестнице
Наверное, каждый из нас видел по телевизору, особенно в зарубежных фильмах, пожарные лестницы, которые возводятся с внешней стороны помещения и предназначены для экстренной эвакуации из квартиры или дома в случае возникновения пожара или любой другой опасной для жизни ситуации. Если вы хотите построить такую конструкцию у себя в жилище, то следует учитывать их некоторые особенности.
По своим конструктивным особенностям они практически идентичны с классическими лестницами, однако они значительно уже, поэтому перемещаться по ним может только один человек.
Обратите внимание
Помимо этого, размеры пожарных лестниц следует рассчитывать исключительно с соблюдением всех правил, рекомендаций и требований СНиП.
Однако прежде чем приступить к проектированию, следует сперва определиться с типом и формой лестницы, а также с методом ее крепления на фасаде здания.
Общие советы и рекомендации
При строительстве лестницы в частном доме принципиально важно рассчитать для нее правильные размеры. Категорически запрещается брать любые цифры из головы. При проектировании и составлении чертежа будущей лестницы необходимо учитывать следующие факторы:
- площадь помещения;
- высота потолков;
- особенности помещения;
- тип и форму лестницы, которую вы хотите построить;
- тип строительных и отделочных материалов;
- количество жильцов, их возраст, физические возможности и физиологические особенности.
Только после того как вы учтете все эти параметры, можно будет приступать к расчетам размеров всех элементов лестницы. Только просчитав все тщательно, вы получите надежную, безопасную и удобную конструкцию.
Не стоит экспериментировать и пытаться изобретать что-то новое, поскольку даже малейшая ошибка, допущенная при проектировании и строительстве, может быть чревата тяжелыми последствиями.
Самое главное — при возведении лестницы своими руками думать о том, чтобы в конечном результате всем жильцам было безопасно и комфортно.
Стандартная высота, ширина, толщина ступени для удобной деревянной лестницы

Деревянные лестницы
- основные элементы лестниц
- стандартная высота, ширина, толщина ступени для удобной деревянной лестницы
- как рассчитать ширину шага ступени
- оптимальные параметры лестницы: угол наклона, длина, проступь, размер деревянных ступенек на лестничных маршахОптимальные параметры лестницы
Деревянные лестницы
Лестницы из дерева становятся настоящим украшением любого загородного дома или многоуровневой квартиры. Красивый натуральный цвет древесины всегда будет радовать глаз, и создавать в жилище атмосферу уюта и комфорта.
Деревянная лестница
Но, кроме привлекательного внешнего вида, деревянные лестницы имеют и другие преимущества. А именно:
- доступная стоимость. Расходы на создание лестниц из дерева могут ограничиться только покупкой материала. Все работы по монтажу можно легко выполнить своими силами, тем самым существенно сэкономить семейный бюджет;
- небольшой вес. Деревянные конструкции весят значительно меньше бетонных и металлических изделий. Поэтому такие лестницы просто идеальны для установки в многоуровневых квартирах. В этом случае нагрузка на межэтажное перекрытие будет минимальной;Деревянная лестница в многоуровневой квартире
- экологичность. Древесина – это натуральное сырье. Такой материал не будет испускать вредные газы или вызывать аллергию. Но тут есть один подвох. Для увеличения срока эксплуатации деревянные конструкции необходимо покрывать защитным слоем. Для этих целей используются лакокрасочная продукция. Поэтому о полной экологичности сказать трудно;Лакокрасочное покрытие лестницы
- бесшумность при ходьбе. Древесина мягкий материал, поэтому при передвижении по лестнице не будет возникать шумов. Конечно, это будет являться истиной при исправности всей конструкции;
- простота изготовления. Для строительства деревянной лестницы не нужно использовать специального инструмента, да и особых навыков не требуется.
Нельзя не упомянуть и о некоторых минусах. Во-первых, древесина — пожароопасный материал. Во-вторых, деревянные конструкции требуют постоянного ухода за собой. Необходимо периодически обрабатывать все элементы специальными антисептическими средствами.
Кроме этого, требуется постоянное обновление лакокрасочного покрытия. Но, даже несмотря на такие недостатки деревянная лестница весьма востребованы.
Все-таки дешевизна, привлекательный внешний вид и простота установки берут верх над трудностями в эксплуатации.
Покрытие лестницы морилкой
Основные элементы лестниц
Прежде чем говорить о стандартных или оптимальных размерах элементов лестниц, необходимо поближе с ними познакомиться. Итак, основными элементами считаются ступени и балки, на которых они держатся.
Ступени и балки
Сами ступени состоят из горизонтальной поверхности или проступи, и вертикальной части или подступенка. Но если проступь является обязательной составляющей (в противном случае передвигаться по лестнице будет невозможно), то подступенок может отсутствовать.
Лестница без подступенков
Балки могут поддерживать ступни сбоку или снизу. В первом случае они будут называться тетивами. А если балка расположена снизу, то она носит название косоур. Именно последний вариант считается самым распространенным.
Лестница на тетивахЛестница на косоурах
Но поддерживающие элементы могут и не являться балками. Так, в конструкциях с больцами ступени поддерживают специальные болты, которые монтируются в стены. А если взять винтовую лестницу, то тут роль поддерживающего элемента играет центральная стойка, к которой и крепятся ступени.
Лестница с больцами
Сама конструкция, в которую входят балки и ступени, называется маршем. Как правило, в частных домах используются одномаршевые лестницы, но существуют и более сложные конструкции. В таких лестницах используют несколько маршей и площадки.
Одномаршевая деревянная лестницаЛестница с несколькими маршами и площадками
Еще одной деталью лестницы являются ограждения. В качестве таковых могут использоваться перила, поручни, металлические стойки или прутья.
Если используются перила, то они устанавливаются на балясины. Этот элемент играет и большую эстетическую роль, особенно если он выполнен с красивыми декоративными элементами.
Но лестничные ограждения не являются обязательными, хотя и играют важную роль для безопасности.
Лестница с балясинамиЛестница с металлическим ограждением
Как всем известно, при передвижении по лестнице человек тратит до двух раз больше энергии, чем при ходьбе по ровной поверхности. Поэтому такие конструкции должны иметь оптимально удобные параметры. Наиболее важно правильно рассчитать высоту, толщину и ширину ступеней. А как это сделать?
Вначале следует разобраться с самими понятиями. Ступенька имеет следующие параметры:
- высота – это расстояние определяется величиной подступенка;Расчет высоты подступенка
- ширина – является шириной самого лестничного пролета;Ширина лестничных пролетов
- толщина – это проступь или та часть ступени, на которую человек ставит ногу во время передвижения по лестнице.Соотношение ширины проступей к высоте ступеней
Именно от этих параметров и зависит в большей степени удобство пользования лестницей.
Для их расчетов можно воспользоваться формулой – 2а+b = 600 мм, где а — высота ступени (подступенка), а b – толщина или размеры проступи. Исходя из формулы сумма двух высот ступени и проступи, не должна превышать 0,6 метра.
Эту формулу можно применять ко всем типам лестниц, в том числе и к деревянным конструкциям.
Если сделать несложные подсчеты, то оптимальные размеры высоты и толщины ступеней будут лежать в пределах 15-17 и 30-32 см соответственно.
Оптимальные размеры высоты и толщины ступеней
Однако эти размеры считаются идеальными для взрослого человека со средней комплекцией.
Если пользователь лестницы будет высокого роста или иметь большой размер ноги, то передвижение будет не столь комфортным. Поэтому размеры ступеней стоит подбирать в каждом случае индивидуально.
Как показывает практика, комфортные параметры лежат в пределах 10-18 см по высоте и 27-35 см по проступи. Именно такие значения и используются при строительстве лестниц.
Параметры лестничного марша
Если говорить о ширине ступеней, то тут также все зависит от каждого конкретного случая. Как правило, это значение не должно быть меньше 0,8 м. Именно такое пространство удобно для передвижения по лестнице среднестатистического человека.
Но если позволяет свободное место в доме или квартире, то стоит увеличить ширину как минимум до 1,5 метров. Этого будет вполне достаточно, чтобы по лестнице одновременно передвигались два человека, не создавая проблем друг другу.
Именно такой ширины строятся лестницы в многоквартирных домах.
Как рассчитать ширину шага ступени
Когда в доме или квартире много свободного пространства, то параметры лестницы будут во многом зависеть от вашей фантазии. Но в большинстве случае свободные площади весьма ограничены, и в небольшое пространство необходимо поместить удобную и безопасную лестницу. В этом случае без четких расчетов всех параметров конструкции не обойтись.
Главным параметром лестничной конструкции можно считать шаг. Это расстояние между ступнями человека, когда он поднимается. Говоря по-другому – это расстояние между проступью верхней и нижней ступени. Этот параметр должен соответствовать шагу человека при его ходьбе по ровной поверхности. Как правило, он равен 60 см.
Расчет шага ступеней
При расчете шага ступеней необходимо учитывать два показателя – высоту подступенка и ширину проступи. Так вот, оптимальные параметры этих величин лежат в пределах 10-18 и 27-35 см соответственно.
Стандартные размеры лестничного марша
Исходя из этого, и делаются расчеты. Можно уменьшать одно значение с одновременным увеличением другого.
Важно
Сегодня есть возможность сделать все расчеты с помощью специальных программ. Даже существуют сайты, которые помогут правильно спроектировать лестницу.
Перед началом строительства лучше воспользоваться их услугами, в этом случае ваша лестница будет удобной и безопасной.
Расчет габаритов лестницы
Оптимальные параметры лестницы: угол наклона, длина, проступь, размер деревянных ступенек на лестничных маршах
Проводя расчеты конструкции лестниц кроме шага ступеней и ширины лестничного пролета нужно учитывать и другие параметры, от которых также зависит удобство и безопасность. К таким параметрам относят:
- высота лестницы. Это значение определяется как расстояние от уровня первой (нижней) ступеньки до уровня пола второго этажа. Чтобы по лестнице было удобно ходить, необходимо над пролетом (в его верхней части) делать просвет. Просвет делают из следующего расчета: высота от любой ступеньки лестницы до потолка должна быть больше роста самого высокого члена семьи плюс 100 мм. Как правило, этот параметр равен 2 метрам;Высота лестницы
- крутизна или угол наклона лестницы. Чем больше угол наклона, тем меньше места занимает вся конструкция. Но более пологая лестница удобней, по ней могут передвигаться даже люди с проблемами опорно-двигательного аппарата. Поэтому делая расчеты, стоит учитывать физическое состояние людей, которые будут проживать в загородном доме или многоуровневой квартире.Зависимость удобства ходьбы от угла наклона лестницы
Самый оптимальный вариант угла наклона лежит в пределах от 24 до 37 градусов. По такой лестнице без труда может взобраться практически любой человек. Стоит заметить, что по лестнице с наклоном больше 45 градусов безопасно спускаться можно только спиной вперед.
Наклон лестницы
Это основные параметры (кроме размеров самих ступеней) которые оказывают влияние на комфортность и безопасность передвижения по лестнице.
Такие показатели, как число ступеней и длина марша полностью зависят от наличия свободного места и особенности самой конструкции. Но все же и тут есть некоторые рекомендации. Так, число ступеней желательно делать нечетным.
В этом случае, начинать и заканчивать движение по лестнице вы будете с одной и той же ноги.
Лестница на косоуре с нечетным количеством ступеней
Стандартная высота, ширина, толщина ступени для удобной деревянной лестницы, как рассчитать ширину шага ступени, оптимальные параметры лестницы: угол наклона, длина, проступь, размер деревянных ступенек на лестничных маршах
Как рассчитать параметры лестницы: нормы проектирования, оптимальные размеры

Перед тем, как реализовать идею лестницы в квартире, необходимо рассчитать ее параметры, при помощи стандартных технических размеров.
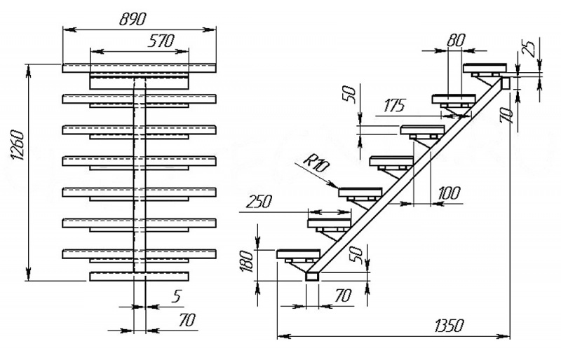
Ступени чаще всего имеют размеры 15×30 см (высота ступеней — 15 , ширина — 30 см).
Эти размеры позволяют устроить уклон марша в соотношении 1:2. Ширина лестницы должна быть не менее 120 см, ширина площадок — не менее ширины марша. Количество ступеней в марше колеблется от 5 до 18.
Однако на практике добиться такого соотношения не всегда возможно. Поэтому существуют методы расчета элементов лестницы и их соотношение друг с другом. Современные строители для определения этого соотношения пользуются терминами «ширина проступи» и «высота подступенка». Высотой подступенка называется расстояние по вертикали между верхними плоскостями двух последовательных ступеней.
Ширина проступи — это расстояние по горизонтали между передними кромками соседних ступеней.
Чтобы определить высоту и ширину ступеней придерживаются следующего правила: нужно, чтобы удвоенная высота подступенка и ширина проступи в сумме равнялись 60- 65 см.
Кроме того для выбора размеров ступени пользуются двумя правилами:
а) Особенно удобны лестницы с соотношением Ь — h = 12 см. Где b — ширина проступи, a h — высота подступенка. Такое соотношение называется «формула удобств».
6) Лестницы с соотношением b + h = 46 см являются наиболее безопасными. Такое соотношение называется «формула безопасности».
Совет
При сооружении лестницы необходимо использовать соотношение ширины ступени к высоте подступенка.
При проектировании лестницы следует придерживаться следующих правил:
1) Ширина лестничного марша лестницы не должна быть менее 1 м.
2) Все лестничные марши, имеющие количество ступеней больше трех (кроме приставных), должны оборудоваться перилами, высота которых должна быть не менее 90 см. Окна, прилегающие к лестничному маршу, ограждаются.
3) В местах, где лестницей будут пользоваться дети, открытые лестницы строят таким образом, чтобы расстояние в свету между ступенями не превышало 12 см, а между стойками перил не должно быть больше 10 см.
4) Лестницы должны выдерживать нагрузку не менее 180-220 кг, а перила лестниц — не менее 100 кг.
5) Высота всех ступеней должна быть одинаковой. Отклонение по высоте не должно превышать 0,5 см.
6) Расстояние между лестничным маршем и стеной не должно превышать 5-6 см.
7) При сооружении криволинейных лестниц (лестницы с забежными ступенями) радиус кривизны в средней линии лестницы не должен быть меньше 30 см.
8) Размеры ступеней должны подбираться таким образом, чтобы перемещение по лестнице было безопасным. Для жилых помещений высота подступенка не должна быть больше 20.см, а ширина проступи не должна быть меньше 25 см. Для забежных ступеней в зоне прохода ширина ступени не должна быть меньше 20 см. Уровень последней ступени должен совпадать с уровнем пола этажа.
Обратите внимание
9) Высота прохода, то есть расстояние между ступенью и потолком или балкой, не должно быть меньше 2 м.
Подходы к лестнице должны быть шириной не менее 1 м и освещаться в любое время суток.















































