Подступенки для лестницы: высота подступенка и размер ступени, особенности проступи и способы крепления подступенков

x
Check Also
Тонкости процесса замены стояка в доме Во всех старых домах, особенно в тех, что были построены еще при другом государстве, стоит менять абсолютно все трубы, …
Потолок в разных стилях: идеи в интерьере Потолок в доме может выглядеть очень разнообразно и даже оригинально, но кроме собственных предпочтений и особенностей окружающих предметов …
Сколько облицовочного кирпича в 1 кв. м кладки? Необходимость расчета количества облицовочного кирпича в 1 кв. м кладки возникает в тех случаях, когда принимается решение …
Обратите внимание
Правила подключения стиральной машины к водопроводу и канализации В настоящее время стиральная машина есть практически в каждом доме. Подобная техника существенно упрощает жизнь хозяйкам и …
Чем отмыть керамическую и нержавеющую раковины? В каждом доме есть несколько раковин. Кто-то предпочитает выбирать изделия из керамики, кому-то нравятся – из нержавейки. Со временем …
Панели под кирпич: все для внутренней отделки стен Отделочные материалы для внутренних работ удивляют своим многообразием, и не последнее место среди них занимают облицовочные панели, …
Как выбрать саморезы для гипсокартона? Гипсокартон (ГВЛ) – популярнейший стройматериал. Одним из основных элементом ГВЛ-сооружений является крепеж, от качества которого напрямую зависит прочность и долговечность …
Устройство фундамента из камня Фундамент является основой здания, обеспечивает устойчивость и долговечность всей строительной конструкции. В последнее время закладка фундамента производится преимущественно с применением бетона. …
Сверла по керамограниту: особенности и разновидности Керамогранит является универсальным строительным материалом, который получают методом прессования гранитной крошки под высоким давлением. Это позволяет получить структуру, напоминающую …
Основные характеристики ультрафиолетовых фильтров для воды Качество воды оказывает существенное влияние на общее состояние здоровья и самочувствие. Для ее очистки современные производители предлагают огромный выбор …
Секреты строительства: как сделать недорогой забор из профнастила на даче своими руками? Любой участок должен быть огражден от посторонних взглядов надежным забором. Его можно соорудить …
Важно
ОСП плита — что это такое и чем лучше гипсокартона? В современном строительстве часто применяют материалы, зарекомендовавшие себя десятилетиями. Один из таких проверенных материалов – …
Вертикальные радиаторы отопления: рекомендации по выбору и монтажу Обязательным элементом любого жилого помещения является отопительная система, в частности радиаторы. Помимо привычных моделей, располагаемых под оконными …
Чем утеплять стены изнутри дома: выбираем лучший утеплитель У каждого владельца имеются свои, индивидуальные требования к тому, каким должен быть его дом или квартира. Исключение …
Как удалить старую затирку из швов плитки? Облицовочная плитка, воплощенная в более современных и высокотехнологичных вариантах, обладает почти рекордной долговечностью. Этого нельзя сказать о плиточных …
Отопительные котлы «Эван»: особенности, преимущества и недостатки В наши дни отопительные приборы многих отечественных компаний смогли составить действительно достойную конкуренцию импортным моделям. Одним из подобного …
Силиконовая фасадная краска: тонкости выбора Оформление фасада здания является одним из самых важных моментов во время строительных или ремонтных работ. Если вы давно задумываетесь над …
Почему не набирается вода в бачок унитаза: варианты поломок Прежде чем приступить к ремонту сливного бачка, необходимо ознакомиться с его устройством, основными элементами и принципом …
Выбираем уплотнители для душевых кабин Душевые кабины все чаще можно встретить в современных ванных комнатах. Это объясняется их эргономичностью, привлекательным внешним видом и многообразием опций. …
Совет
Фитинги Rehau: разновидности и способы монтажа На сегодняшний день фитинги представлены в широком ассортименте. Производители ежегодно выпускают большое количество моделей. При изготовлении продукта прибегают к …
Белый цемент: особенности и применение На полках строительных магазинов покупатель может встретить не только обычный цемент, но и белый отделочный материал. Материал существенно отличается от …
Характеристики полиуретанового лака для дерева С помощью лака можно подчеркнуть натуральную красоту дерева, в то же время защитив поверхность от внешних воздействий. Однако в случаях, …
Размеры санузла: как выбрать оптимальный вариант? Хотя санузел и не является жилой комнатой вашей квартиры, все равно его размеры играют значительную роль в удобстве его …
Структурная краска для стен: обзор популярных видов Постройка нового дома или ремонт уже имеющегося жилья имеют в общем списке работ обязательный этап — отделку помещений. …
Размеры ступеней лестницы по ГОСТ и другим стандартам, как подобрать высоту ступеней лестницы

При проектировании и строительстве помещений, особенно жилых, необходимо учитывать существующие ГОСТы, стандарты и нормы, которые бы гарантировали безопасность жильцов в будущем, а также их комфортное проживание. Также эти стандарты должны применяться и к рабочим и производственным строениям.
Одним из ключевых конструктивных элементов здания считается лестница, поэтому ее размеры и параметры должны соответствовать всем требованиям. Сегодня мы расскажем, какой должен быть оптимальный размер ступеней лестницы, как просчитывается высота ступеней лестницы согласно нормам.
Размеры ступеней лестниц по ГОСТу
При проектировании лестниц строители должны учитывать такие параметры:
- ширину лестничного марша;
- ширину ступней;
- угол наклона ступеней;
- высоту ступеней.
Все стандарты, касающиеся размеров и параметров сооружений, изложены в специальных документах, которые необходимо внимательно изучать перед строительными работами. Так, ГОСТ на строительство ступеней для железобетонных лестниц регламентируется следующими документами:
- 8717.1-84 (нормы конструкции лестницы и ее размеры);
- 8717.0-84 (технические условия по разработке и созданию лестниц).
Помимо ГОСТов есть специализированные строительные документы, которые включают в себя:
- методы расчетов при проектировании лестниц;
- факторы, которые нужно учитывать при расчетах и конструировании лестницы и ее ступеней.
ГОСТ на металлические лестничные ступени, также задокументирован. Кроме государственных стандартов, имеется и утвержденный свод строительных норм и правил, где содержатся все методы расчетов и ключевые факторы, которые следует учитывать при расчете и конструировании лестниц своими руками.
Основные параметры
Десятилетиями строители накапливали необходимый опыт для создания прочных и красивых лестниц. Одно из правил, которое гарантирует безопасность использования данной конструкции, — это соблюдение соотношения между расстоянием перемещения вперед и высотой ступней.
Данное соотношение можно просчитать следующим образом:
- берем за x расстояние между поверхностью смежных ступней;
- y – это расстояние между краями смежных ступеней;
- формула, связывающая эти две величины выглядит так: 2х+у=60;
- также, исходя из нее, выводится формула безопасной лестницы: х+у=45 ;
- и еще одна, по которой определяется размер удобной лестницы: у-х=12.
Конечно же, эти формулы – не единственные, помогающие определить идеальный размер и высоту конструкции, тем более что современные ГОСТы учитывают намного больше разных параметров. Так, например, большинство существующих норм по строительству лестниц больше уделяют внимания безопасности при эксплуатации лестниц.
Например, документ о строительных нормах содержит очень подробные нюансы проектирования и постройки лестниц и других конструкций и выдвигает четкие требования, которые следует соблюдать при их возведении. Их несоблюдение может повлечь за собой очень неприятные последствия. Итак, правила это следующие:
- если здание состоит из двух и более этажей, лестничный пролет должен быть один и большой;
- лестницы передвижного типа можно применять только для чердаков или подвалов;
- размер лестничного пролета для прохода одного человека должен иметь ширину как минимум порядка 1 м, и она должна быть статичной по всему пролету;
- один маршевый пролет должен состоять из нечетного числа ступеней от 3 до 17 штук;
- угол высоты пролета должен составлять от 26 до 45 градусов;
- высота ступеней лестницы должна колебаться от 150 до 200 мм;
- высота ступеней в пределах одного пролета не должна отличаться более чем на 5 мм;
- ширина ступней в помещении должна составлять минимум 250 мм;
- максимальная высота ступени должна составлять 30 мм;
- расстояние от ступени до двери должно быть как минимум 1 метр;
- лестничная площадка с примыкающими к ней пролетами должна иметь размер как минимум 1,3 м;
- высота лестничной ограды должна быть минимум 900 мм, а расстояние между балясинами минимум 100 мм соответственно.
Как правильно проектировать лестницу
Во время разработки проекта и при определении вида будущего строения нужно учитывать массу факторов и требований, в частности, следующих:
- какой будет характер перемещения людей по лестницам;
- какие ожидаются нагрузки на конструкцию;
- какие технологии будут применены к ее изготовлению;
- дизайнерские особенности;
- будет ли иметься в наличии пространство для конструкции и дополнительные опоры.
Еще на этапе проектирования следует помнить, что лестница относится к зонам повышенного риска, поэтому очень важно при ее создании соблюдать все требования по технике безопасности.
При этом одно из ключевых требований – это соблюдение ГОСТ на высоту ступеней. Так, эту величину следует выбирать строго согласно задокументированным нормативам.
Обратите внимание
Как известно, большинство травматических случаев на лестницах связано с несоблюдением этого требования при их строительстве.
Конструкция перил и лестничных поручней обязательно должна продумываться с учетом расчетной нагрузки с запасом. Согласно инструкции, поручни и перила должны быть сделаны так, чтобы смогли выдерживать массу от 100 килограмм, а человек мог бы облокотиться на них большей частью своего тела.
Очень важный расчетный параметр – это расстояние от потолка до ступеней, оно должно составлять не менее 2 метров. Критическая высота такой конструкции относится также и к проему лестницы.
Также при проектировании следует учитывать и материал изготовления. Желательно, чтобы заранее было предусмотрено дополнительное покрытие для слишком скользких или гладких поверхностей. Так, домашнюю лестницу лучше всего покрыть ковром, который не только обеспечит дополнительную безопасность, но также будет выполнять роль шумоизолятора, да и выглядеть это будет очень эстетично.
Эргономические критерии при расчетах
Когда вы рассчитываете ширину поступи, учитывайте то, что взрослый человек должен охватить своей ногой всю ступень. То есть ширина должна составлять порядка 30 сантиметров.
Считается, что подступенок должен иметь размер около 15 см, при этом ширина проступи должна быть примерно вдвое больше. Но это не так, ведь если ширина будет больше, то человек просто будет сбиваться с шага. А если сильно сократить ширину проступи, то это тоже будет неудобно при использовании.
Так, при проектировании забежных ступней нужно учитывать минимальную ширину ступеней начиная с узкого конца на 10 см, при этом расстояние нависания проступи должно составлять максимум 50 мм.
Согласно нормам, лестницы можно устанавливать под углом от 26 до 45 градусов, но угол в 37 градусов будет неудобным, а лестницы с наклоном до 23 градусов лучше заменить пандусом. Если угол больше 45 градусов, но лестница должна быть приставной или раскладной, а вот винтовая лестница должна иметь угол от 25 до 35 градусов.
Что потребуется для осуществления замеров
Если строительство лестницы осуществляется во время отделочных работ, то для замеров нужно следующее:
- уровень;
- рулетка;
- прямая длинная рейка.
Также попросите кого-то помочь вам. Замеры делаются в такой последовательности:
- проверьте по угольнику стены на перпендикулярность;
- измерьте высоту потолка и толщину перекрытия;
- сделайте план помещения на миллиметровой бумаге в разрезе с учетом данных замеров на полу, проемах, дверях, окнах и т.д.;
- при создании плана учитывайте размеры стандартных изделий.
Особенности эвакуации по лестничной клетке
Одной из ключевых целей разработки, создания и соблюдения правил и норм для лестничных конструкций является обеспечение норм пожарной безопасности, которые заключаются в том, чтобы в случае непредвиденно беды, то есть пожара, можно было бы оперативно и грамотно эвакуировать людей из здания посредством лестницы.
Итак, чтобы конструкция имела эвакуационные характеристики, при ее проектировании также нужно учесть следующее:
- данная лестница ни в коем случае не должна иметь ширину марша меньше ширины проема двери. Уклон следует соблюдать в отношении один к одному, а вот высота и ширина ступней по ГОСТУ должна соответствовать 220 мм и 250 мм соответственно;
- категорически запрещено размещать на лестничной клетке газовый трубопровод, встроенные шкафчики кроме электрических и коммутационных, а также размещать оборудование, выступающее над лестничными ступенями больше чем на 220 см. Допускается размещение не более двух лифтовых кабинок;
- должен иметься в наличии выход с лестничной клетки на прилегающую территорию или прямо, или же через вестибюль со световыми проемами, площадь которого составляет как минимум 1,2 квадратных метра.
Проектирование лестниц – задача весьма сложная, и к этому нужно подходить со всей серьезностью, принимая во внимание принятые правила, нормы и стандарты.
Также вместе с соблюдением норм нужно учитывать и прочие конструктивные и архитектурные решения для всего здания.
Если все продумать правильно, то конструкция будет долговечной, практичной и безопасной, и никто в будущем не будет жаловаться на ее использование.
Различные варианты компоновки лестницы Г-образной форм ― Художественная ковка ОГО, кованые лестницы

Рис. 9.4. Различные варианты компоновки лестницы Г-образной формы с междуэтажной площадкой
Рис. 9.5. Различные варианты компоновки лестницы Г-образной формы с забежными ступенями. (Приведенные размеры забежных ступеней и соответственно лестничных проемов определены графическим методом пропорций. Эти размеры справедливы только для лестниц шириной 0,9 м (лестничный марш) и 0,3 м (проступь). Для лестниц с другой шириной марша и проступи размеры нужно пересчитывать.)
Расчет параметров ступеней
Не будем здесь рисовать статически определимые и неопределимые балки и приводить заумные формулы для расчетов. Нормами давно установлены размеры ступеней, которых нужно придерживаться, составлены таблицы, из которых можно взять нужные значения. Это делает процесс конструирования лестницы для обычного человека относительно несложным.
Практика показывает, что подъем и спуск по лестнице безопасны и удобны для человека, если высота подступенка, умноженная на два и сложенная с величиной проступи, равна шагу среднестатистического человека. Шаг человека равен 60-64 см (рис. 9.6).
Основываясь на этом значении, получаем нехитрую формулу для расчета габаритных размеров проступи и подступенка (рис. 9.7):
2а + b = 60… 64 см,
где а — высота подступенка, см; b — ширина проступи, см.
Размеры необязательно считать в сантиметрах, можно и в миллиметрах, главное, чтобы единицы измерения в левой и правой частях уравнения совпадали.
Приведем также другую формулу, которую, возможно, будет легче запомнить:
а + b = 45 ± 2 см
Важно
Какую формулу вы будете использовать — неважно, обе позволяют получить верные значения.
Рис. 9.6. Длина шага человека в среднем равна 62 см и обычно изменяется в пределах от 60 до 64 см
Строительные нормы и правила (СНиП) рекомендуют делать проступи шириной не менее 20 см. Делать проступь шириной больше 32 см нецелесообразно из чисто практических соображений. Если позволяет место, сделайте ступени шириной 30 см.
Произведя нехитрые математические вычисления, получаем, что при данной ширине ступени высота подступенка должна равняться 15 см. Это оптимальные размеры лестничных ступеней. Если слишком увеличить ширину проступи, то при перемещении по лестнице вы обязательно собьетесь с шага. Если же сделать ширину ступени небольшой, это очень затруднит спуск по лестнице. Выбирайте золотую середину!
Если собираетесь изготовить красивую лестницу с забежными ступенями, обязательно помните, что ширина узкого конца трапециевидной забежной ступени должна быть не менее 10 см. И еще одно — ступень не должна нависать над нижерасположенной ступенью более чем на 5 см. Это правило касается как забежных, так и обычных ступеней.
Нависание ступеней обычно делают тогда, когда для размещения лестницы с обычными ступенями не хватает места. Нависание позволяет увеличить ширину проступи, сэкономив место, занимаемое лестницей в помещении. По возможности старайтесь избегать нависающих ступеней, они небезопасны, лучше «украдите» площадь у комнаты, но сделайте лестницу с хорошими широкими ступенями (рис. 9.8).
Рис. 9.7. Расчет высоты и ширины рядовых ступеней
Люди часто пытаются сэкономить место как за счет «съедания» ширины ступеней, так и за счет изменения угла наклона лестницы. Чем лестница круче, тем, соответственно, меньше места она занимает.
Однако, делая лестницу слишком крутой, люди сами себе оказывают медвежью услугу: в дальнейшем они горько пожалеют о содеянном.
Совет
Давайте не будем совершать таких ошибок и на этапе проектирования сделаем все грамотно.
Оптимальный угол наклона лестницы варьируется от 23 до 38°. Лестницу, угол подъема которой меньше 23°, смело можно заменить на пандус (пандусом называется ровная наклонная площадка).
Лестницу с углом наклона 45° и более в качестве основной использовать не стоит, а вот приставная либо раскладная лестница может иметь такой наклон.
Лестницами вспомогательного назначения мы пользуемся в разы меньше основной, поэтому неудобства, связанные с крутизной марша (к примеру, спуск спиной вперед), можно стойко перенести.
На приведенном ниже графике и в таблице наглядно показано, как зависят размеры ступени от угла наклона лестницы. Руководствуясь данной информацией, выберите правильное соотношение угла вашей будущей лестницы и размера ее ступеней (рис. 9.9).
Рис. 9.8. При правильном подходе забежные ступени не только сэкономят место, но и добавят в обстановку нотку экстравагантности
В табл. 9.1 приведены ширина и высота ступеней для лестниц, под которые отведено совсем немного места. Назовем такие лестницы «уплотненными».
Теперь подсчитаем количество ступеней лестницы. На число ступеней влияют два фактора — угол наклона лестничного марша и высота этажа.
Обратите внимание
Из натурных обмеров, о которых говорилось в предыдущей главе, вы знаете высоту помещения, где планируете разместить лестницу, и местоположение самой лестницы в плане. Основываясь на этих данных, число ступеней можно подсчитать графическим методом (этот метод наиболее прост).
Таблица 9.1. Размер ступеней для «уплотненных» лестниц
| Размер ступеней, мм | |
| Ширина | Высота |
| 350 | 100 |
| 340 | 110 |
| 330 | 120 |
| 320 | 130 |
| 310 | 140 |
| 300 | 150 |
| 290 | 160 |
| 280 | 170 |
| 270 | О00 |
| 260 | 190 |
| 250 | 200 |
Затем, используя полученный с помощью графика результат, мы окончательно определимся с шириной проступи. До этого мы рассчитали приблизительный размер ширины ступеньки, теперь именно этим параметром мы немного «поиграем» для того, чтобы установить лестницу в предназначенное место и в то же время сделать ее безопасной для себя и окружающих.
График лучше чертить на миллиметровке, он получится очень точным, все габаритные размеры будут четко соблюдены. Если миллиметровой бумаги под рукой нет, подойдет обыкновенный листок бумаги в клеточку. На листе начертите в масштабе будущий лестничный марш так, как показано на рисунке (рис. 9.10).
Как видно из рис. 9.10, выбирать можно не только ширину проступи, но и способ опирания лестницы.
Высота этажа в домах советской постройки регламентирована и составляет около 2,5 м. Сейчас дома строят по индивидуальным проектам, но даже в них высоту этажа обычно делают в пределах 2,8-3,3 м (чаще всего высота этажа кратна 3).
В помещение такой высоты без труда можно вписать лестницу с высотой подступенка, удовлетворяющей значениям, приведенным на рис. 9.10.
Табличные значения были получены из расчетов по формуле безопасности и указаны для домов, имеющих стандартную высоту этажа.
Если высота этажей в доме не кратна цифре 3, придется рассчитывать высоту подступенков очень точно (с точностью до 1 мм).
Также при конструировании учтите, что высота подступенков должна быть одинаковой. Ступени разной высоты весьма небезопасны, особенно если спускаться с лестницы ночью. Если в процессе вычислений набежит погрешность (а скорее всего, так оно и будет), то распределите ее на фризовую ступень.
Важно
Для выравнивания высоты ступеней можно пойти вот на какую хитрость: опустите уровень чистого пола верхней этажной площадки немного ниже относительно пола всего этажа.
В месте стыковки порожек делать не стоит, здесь уместен небольшой пандус.
С дизайнерской точки зрения его можно интересно обыграть, тем более что сейчас модно сочетание напольных покрытий из разного материала и разной текстуры.
Выровнять высоту ступени можно и с другой стороны, то есть снизу. Этот способ подходит тем, у кого лестница будет располагаться между стенами с дверями. В этом случае лучше сделать перед лестницей небольшой порог, который скроет все «вылезшие» в процессе проектирования, изготовления и монтажа погрешности по высоте.
Определяя ширину проступи, не забывайте об «уплотненности» и «правильной» высоте этажа. Если вы сомневаетесь в значениях, рассчитайте ширину ступени графическим методом.
В основе данного метода лежит размер шага человека и правило, полученное эмпирическим путем: если шаг человека в горизонтальной плоскости равен 620 мм, то он может без труда поднять ногу на высоту, которая составляет половину указанного размера, то есть на высоту 310 мм.
Отталкиваясь от этих значений, отложите на оси X графика п-е, число отрезков, равных одному шагу, а на оси Y — п-е количество отрезков, равных высоте подъема ноги, так, как это показано на рис. 9.11.
В итоге вы определите размеры ступеней лестницы (высоту и ширину) для любого угла наклона лестничного марша.
Рис. 9.9. Нормативная зависимость размеров ступеней от крутизны лестницы:
1—пожарные и хозяйственные лестницы, устанавливаемые на стены; 2— крутые лестницы, чаще всего приставные; 3— лестницы в жилых помещениях; 4— пандусы
Высота подступенка в зависимости от числа ступеней и высоты этажа, мм
| Высота этажа, мм | 11 | 12 | 13 | 14 | 15 | 16 | 17 | 18 | 19 | 20 | 21 | 22 | 23 | 24 | 25 | 26 |
| 2100 | 190,9 | 175 | 161,5 | 150 | 140 | 131,3 | 123,6 | |||||||||
| 2400 | 200 | 184,6 | 171,4 | 160 | 150 | 141,2 | 133,3 | 126,3 | 120 | |||||||
| 2700 | 192,9 | 180 | 168,8 | 158,8 | 150 | 142,1 | 135 | 128,5 | 123,7 | |||||||
| 3000 | 200 | 187,5 | 176,5 | 160,7 | 157,9 | 150 | 142,3 | 136,4 | 130,4 | 125 | 120 | |||||
| 3300 | 194,1 | 183,3 | 173,7 | 165 | 157,1 | 150 | 143,6 | 137,5 | 132 | 126,9 |
Рис. 9.10. Пример графического расчета количества ступеней и высоты подступенка: L — первоначальный лестничный пролет; Ln—лестничный пролет, полученный путем изменения профиля фризовых ступеней и способа опирания лестницы
Нанесите на график линию уклона будущей лестницы (ее длину и высоту вы знаете) и проведите в точках пересечения линии уклона с сеткой графика перпендикулярные линии. Вы получите оптимальные высоту и ширину ступеней для уклона вашей лестницы. Этот способ дает возможность построить лестницу с той длиной шага, которую вы считаете наиболее подходящей для себя.
Рис. 9.11. Графический способ нахождения оптимальных размеров ступеней
Изменения профиля фризовых ступеней и способа опирания всей лестницы (можно уменьшить количество ступеней в марше и величину пролета)
« Назад | Оглавление | Вперед »
Высота ступеней лестницы (гост): оптимальная и комфортная ширина по СНиП

Проектирование лестницы осуществляется по определенным стандартам, которые регламентированы такими документами, как СНиП и ГОСТ. Установленные стандарты обеспечивают удобство и безопасность сооружения для комнаты или для крыльца.
Среди прочего, ГОСТ определяет их конструктивные особенности, параметры и технические условия изготовления. СНиП окажет помощь тем, кто самостоятельно обустраивает лестничный марш. Там содержатся подробности, касающиеся расчетов (высота подступенка, ширина марша и прочее) и проектирования.
Параметры ступеней внутренних лестничных маршей
Для того, чтобы подниматься и спускаться было комфортно, должны выдерживаться оптимальные размеры. Ниже представлены ключевые параметры лестничных ступеней (в миллиметрах):
- ширина ступени — от 200 до 320;
- высота ступени — от 150 до 200;
- максимальный выступ ступени – 30;
- предельно допустимая разница между подступенками одного пролета – 5.
Важно правильно определить ширину проступи. Соотношение габаритов ступени выражается разными формулами. Первая называется «формулой удобства»: между размерами проступи и подступенка разница составляет 120. Вторую обозначают как «формулу безопасности»: сумма размеров проступи и подступенка равна 450. Эти вспомогательные уравнения помогут найти оптимальный баланс параметров ступени.
Требования ГОСТ, в которых оговаривается ширина деревянных и других ступеней, рассчитаны для удобного спуска и подъема.
Считается, что наиболее комфортной является высота подступенка 150 мм при вдвое большей (то есть равной 300) ширине проступи.
Совет
Увеличение последнего показателя приведет к тому, что для подъема на один уровень придется делать несколько шагов. Если ширина ступени будет уменьшена, спуск будет неудобным.
Требования ГОСТ, касающиеся безопасности, нужно соблюдать как при строительстве, так и при эксплуатации лестничного марша.
Строительные нормативы затрагивают все лестничные конструкции. Есть и правила, регламентирующие параметры забежных ступеней. С узкого конца их минимальная ширина должна составлять 100 мм, тогда как нависание проступи – не более 50.
Параметры площадок и ограждений
Чтобы лестничные площадки были удобными, они также должны быть спроектированы в соответствии со стандартами. Их полезная ширина не должна быть меньше ширины марша, прилегающего к ней.
Для комфортного перемещения оптимальная длина площадки должна быть не менее 1300 мм.
Если поблизости расположена дверь, при проектировании необходимо сделать размер площадки с учетом размера дверного полотна.
Для безопасности лестницы предусмотрены ограждения. Высота перил не должна быть меньше 900 мм, для ограждений крыльца (при количестве ступеней более трех) минимальный показатель – 800. В целях безопасности детей высота ограждения может быть увеличена до 1500.
Параметры ступени на путях эвакуации
Что касается пунктов о путях эвакуации, глубина проступи и высота подступенка четко регламентированы – 250 и 220 мм соответственно. На путях эвакуации требуется наличие выхода на прилегающую территорию – либо прямого, либо через вестибюль. Для последнего обязательно наличие светового проема площадью минимум 1,2 м2.
Важно:
Конструирование лестницы для крыльца
Для деревянных ступеней для крыльца применимы те же параметры, что и для внутренних ступеней. Однако есть некоторые нюансы. Угол наклона лестницы для крыльца не должен превышать 30º, чтобы по ней было удобно подниматься. Габариты ступени крыльца находятся в тех же пределах – высота в среднем 140-170 мм, глубина – не менее 250.
Широко распространено обустройство для крыльца деревянных ступеней. Однако чтобы продлить срок их службы, дерево пропитывают защитными составами. Предпочтительно использование для крыльца твердых пород древесины.
Проектирование и возведение лестницы требует немалых затрат. Но при соблюдении строительных нормативов вполне возможно качественно выполнить эту работу. Оставьте комментарий и поделитесь полезными советами по проектированию лестницы.
Проектируем лестницу: методика расчета

Какова бы ни была высота и длина лестницы, ее устройство потребует тщательных расчетов — ведь иначе по ней попросту неудобно будет подниматься. Рассмотрим главные принципы расчета параметров лестницы.
Договоримся о терминологии Ступенька в разрезе. Любая ступень – это подступёнок (вертикальная ее часть) и проступь (горизонтальная, на которую мы, собственно, и наступаем). Проступь может быть с носком – выступающей над подступенком кромкой – или же без него.
Глубиной проступи при расчете (расчетной глубиной) договоримся считать горизонтальное расстояние от крайней кромки одного подступенка до крайней кромки следующего. Высота лестницы. Это расстояние от уровня пола нижнего помещения до уровня пола верхнего строго по вертикали. Прогон.
Расстояние от крайней кромки первого до крайней кромки последнего подступенка. То есть, длина проекции ступенек на пол.
На фото: лестница E-TR фабрики Edilco
Пересчитаем ступеньки
Шаг в миллиметрах. Расчет лестницы начнем с определения размера ступеней. Для этого существует два правила. Первое: высота подступенка вместе с толщиной проступи плюс глубина проступи в сумме составляют порядка 445 мм.
Варианты здесь возможны разные: удобной для ходьбы будет лестница как с сочетанием 150 + 295 мм соответственно, так и, скажем, 215 + 230. Второе правило гласит: двойная высота подступенка плюс глубина проступи составляют 620-640 мм, или среднюю длину шага.
Обычно в частных домах подступенок делают высотой 150-200 мм, а проступь — глубиной 375-200 мм. Допустимый разброс размеров ступенек у одной лестницы — до 5 мм.
Ступени: простое деление. Высоту лестницы делят на предполагаемое число ступенек — так и получают их примерные размеры. Как правильно рассчитать лестницу, чтобы ступени не были ни слишком частыми, ни слишком высокими, ни слишком узкими? Возьмем за основу следующие параметры. Лестницу высотой 2,5 м делают обычно с 14-17 подступенками. Простым делением вычисляем их среднюю высоту.
Обратите внимание
А затем, учитывая правила № 1 и № 2, высчитываем оптимальные размеры подступенка и проступи и, возможно, чуть корректируем в итоге количество ступеней. Получается, что на лестницу высотой 2500 мм можно установить 14 подступенков высотой 179 мм или 17 —высотой 147 мм.
Расчетную глубину проступи «подгоняем» под эти параметры по всем правилам, не забывая, что есть возможность ее увеличения за счет носка.
Чем короче, тем круче
Длина проема. Проем в полу верхнего этажа должен начинается над ступенькой, стоя на которой, самый высокий член семьи уперся бы головой в потолок. Обычно проем бывает не намного меньше прогона. На фото: лестница 01 фабрики Santo Passaia.
Как рассчитать лестницу в длину? Иными словами — как вычислить протяженность ее прогона? Для этого тоже есть свое правило. Количество проступей умножаем на их глубину.
Но не забудем: проступей на одну меньше, чем подступенков, ведь последний подступенок упирается в пол верхнего помещения, а не в проступь.
Сумма расчетной глубины проступи и подступенка должна быть равной 445 мм. Следовательно, у лестницы с подступенком 179 мм проступь составит 266 мм. А у лестницы с подступенком 147 мм — 298 мм. Вторая лестница более пологая, т.е.
более удобная для подъема. Однако у первой лестницы длина прогона будет 3458 мм при 13 ступенях, а у второй — 4768 мм при 16. Таким образом, вторая лестница «съест» большую площадь первого этажа.
Так что возможность маневра при расчете позволяет достичь разумного компромисса.
Лестница должна поддерживать общую стилистику интерьера, дополнять и раскрывать его новые грани.
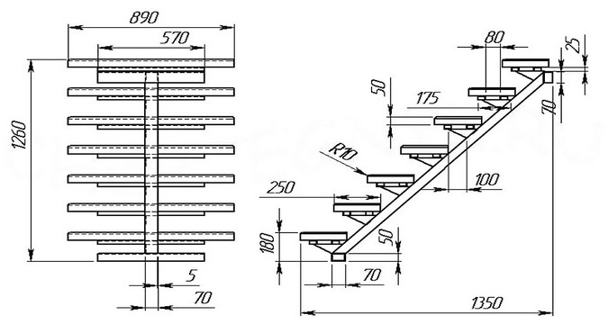
Подступенки для лестницы: размеры и способы монтажа

Лестница является важным элементом любого дома. Она бывает различных типов, может быть расположена внутри либо снаружи здания. Главными требованиями к подобной конструкции предстают надежность и комфортное использование. Чтобы человек, перемещающийся по данной лестнице, не чувствовал дискомфорта, необходимо уделить особое внимание размерам проступи и подступенка.
Под данными терминами понимаются вертикальные и горизонтальные элементы ступени. Подступенком называется её высота.
Чтобы лестница была максимально комфортной и безопасной, высота подступенка должна находиться в интервале 15-18 сантиметров, при этом двойная высота данного параметра, которая сложена с размером проступи (горизонтальной частью ступени), должна быть равна среднему шагу человека. По статистике данный параметр должен находиться в пределах 60-64 сантиметров.
СНиП предусматривает следующие оптимальные размеры:
- когда речь касается жилых и общественных помещений, подступенок должен быть равен 14,8 сантиметра, а для подвалов и чердаков – 17,1 см;
- проступь должна иметь ширину 30 и 26 сантиметров соответственно.
Изготавливаемая лестница должна отвечать установленным параметрам ГОСТа касательно:
- высоты;
- ширины;
- угла наклона;
- размера ступеней и подступенков конструкции.
Рассмотрим оптимальные размеры элементов лестницы.
- Маршевая площадка должна иметь минимальную ширину 80 сантиметров. Измеряется она от поверхности стены, учитывая толщину отделки, до внутренней стороны поручней.
- Ширина марша, который будет удобен для человека, находится в пределах от 90 до 100 сантиметров. Необходимо учесть то, что один марш не должен включать в себя более 17-ти и не менее 3-х ступеней.
- В качестве оптимальной высоты ступеней приняты параметры в 17 см, но не менее 12 см.
- Оптимальная ширина ступеней находится в интервале 25-32 см.
Подступенок может быть готовым или сделанным самостоятельно. Сегодня часто применяются керамические изделия или варианты из МДФ, светлые с темными или белыми полосами.
Прежде чем начать непосредственное выполнение строительства лестницы, вы обязательно должны ознакомиться с наиболее встречаемыми ошибками, которые часто возникают при установке лестниц самостоятельно. В данном случае стоит выделить некоторые.
- Неправильная высота ступеней. Существующие на сегодня стандарты предусматривают, что она не должна превышать 19 сантиметров, иначе конструкция будет неудобной для использования. Такие ступени доставят дискомфорт маленьким детям и пожилым людям. Когда речь касается жилых помещений, максимальная высота ступени равна 19 см, а для нежилых зданий 17 см. Необходимо обратить внимание на то, что если особенность планировки не допускает соблюдение данных параметров, допускается скорректировать высоту ступени до 20 см.
- Неодинаковый размер ступеней. Разница в высоте и ширине может привести к несчастным случаям.
Специалисты в области строительства лестничных конструкций не советуют новичкам экспериментировать при расчетных работах. Рекомендуется использовать проверенные формулы, благодаря которым вы сможете определить оптимальные и комфортные размеры конструкции. Считается, что высота и ширина ступеней в сумме должны составлять 43-47 см.
Определяем ширину ступеней и их количество. Этот параметр лучше всего рассматривать на конкретном примере.
Этапы выполнения расчёта следующие. В первую очередь необходимо измерить расстояние от пола до потолка. В нашем примере мы возьмём за основу 2,5 метра. Межэтажное перекрытие составляет в нашем случае 35 см.
В результате высота нашей конструкции будет составлять сумму двух предыдущих параметров, а именно 2,85 метра. Высота подступенков, предусмотренная стандартом, равна 17 сантиметрам. Мы будем придерживаться данного параметра. Необходимо определить количество требуемых ступеней посредством деления высоты лестницы на 17 см. В нашем случае число ступеней будет при округлении равно 17 штукам.
Определять высоту проступи необходимо, базируясь на том, в какой сфере будет использоваться наша конструкция. Существует несколько вариантов.
- Лестничная конструкция для частных домов, дач и квартир. В данном случае высота подступенка должна равняться 15,5-22 см, а проступь находиться в интервале 24,5-26 см.
- Для общественных зданий лестничные подступенки должны быть немного ниже. Они должны равняться 13,5-18 см. При этом проступь шире, чем в жилых зданиях, то есть 28-34 см.
- В иных помещениях стандартной высотой подступенка является 15-19 сантиметров, а ширина проступи должна находиться в интервале от 25 до 32 см.
Особое внимание также требуется уделить оптимальному наклону лестницы. К сожалению, строительных стандартов в данном вопросе нет. Уклон лестницы базируется на том, какое соотношение будет у подступенка и проступи. Делается упор на максимальную и минимальную высоту и глубину ступени.
Исходя из данных параметров, базируясь на размерах проступи и подступенка, можно отметить, что угол наклона колеблется в интервале от 33 до 45 градусов. Когда дело касается внутренних лестниц, то данное значение должно быть до 38 градусов.
Когда речь идет о подсобных либо чердачных лестницах, которые характеризуются более крутым спуском, оптимальный угол наклона равен до 45 градусов.
Важно, чтобы параметры каждой ступени в лестничной конструкции были максимально точными и одинаковыми. Это позволит человеку подниматься и спускаться по лестнице без особой осторожности, базируясь на мышечной памяти ног. Если установленные правила не будут соблюдены, человек будет испытывать дискомфорт при пользовании лестницей. Особо остро это ощущается, когда ступени имеют разную высоту.
Важно
В подобной ситуации часто встречаются травмы. Если вы будете осуществлять правильный расчёт подступенков, то сможете избежать различных повреждений.
Данный процесс может быть осуществлён различными способами. Это зависит от того, из какого материала изготавливается ваша лестница, при этом учитывается, будет ли он снизу подшиваться. На параметр крепления оказывает влияние и устройство косоуров.
Существует три основных способа выполнения крепления. Рассмотрим каждый из них.
- Классическая установка, где крепление осуществляется в паз.
- Крепление, выполняемое к торцу, с помощью использования саморезов. Этот же способ предусматривает установку фурнитуры с применением клея.
- Монтаж подступенков с задействованием уголка.
При строительстве лестницы обязательно учитывайте наиболее действенные советы специалистов.
- Для того чтобы осуществить замену проступи, рекомендуется снять старые плоские элементы ступеней, расположенные сверху. Следите, чтобы клин не сместился при использовании.
- Если клин был потерян, элемент можно будет опереть на брусок. Плоские элементы лестницы нужно располагать внахлёст. Таким образом, они частично будут друг друга перекрывать, если посмотреть на них сверху. Их ширина может быть неодинаковой в местах, которые служат для опоры правой и левой ноги. Для того чтобы установить ограждение, требуется высверлить отверстия по краям ступеней.
- Когда речь идет о сборке винтовой лестницы, осуществляться она должна в определенной последовательности. Осуществлять монтаж втулок и проступи нужно после того, как будет смонтирована и закреплена центральная стойка. Когда все плоские элементы уже будут закреплены к ней, они разворачиваются в форме веера и располагаются по окружности каждая на свое место.
- Особое внимание следует уделить установке первой и последней ступени. Монтаж опорных кронштейнов необходимо выполнять между широкими частями проступи. Последняя ступень должна быть зафиксирована посредством крепежных изделий.
О том, как сделать деревянную лестницу на второй этаж своими руками вы можете узнать, посмотрев видео немного ниже.
Какие должны быть размеры проступи и подступенка по ГОСТ и СНиП

Строительство любого жилого или общественного помещения всегда начинается с детального рассмотрения каждой конструкции, которая будет включена в проект. Одной из таких конструкций является лестница. Она может быть и внутриквартирной, и уличной, и чердачной, и подвальной и т.д.
Но её детальная составляющая всегда остаётся неизменной, на основе чего существуют параметры по ГОСТ и СНиП, которым обязана соответствовать любая воздвигаемая лестница.
При детальном разборе лестничной конструкции особое внимание стоит уделить маршу, что представляет собой непрерывный ряд ступеней, состоящих из проступи (горизонтальной части) и подступенка (вертикальной части).
Что нам предписывают ГОСТ и СНиП?
Строительство подобных объектов имеет определённые стандарты, на которые следует опираться при возведении лестницы:
- Один лестничный марш должен состоять из 3 -18 ступеней;
- В общественных и жилых помещениях подступенок соответствует высоте 14,8 см, а проступь ширине 30см;
- В чердачных и подвальных помещениях 17,1 см и 26 см соответственно.
Число ступеней в марше лучше делать нечётным, чтобы движение человека по лестнице начиналось и заканчивалось с одной ноги.
К тому же, совершать подъём на 18 ступеней – это занятие очень энергозатратное, а 11 или 15 – это самый оптимальный вариант, после которого человек не будет страдать отдышкой.
Что касаемо высоты ступени, то её значение колеблется в пределах 15 – 18 см, а двойное значение высоты сложенной с шириной ступени даёт в итоге примерное значение длины человеческого шага – 6064 см.
Ступени модульной лестницы
Размеры ширины лестничного марша
Ширина ступеней так же имеет определённые нормы строительного стандарта (ГОСТ), что требует обязательного соответствия значениям максимума и минимума:
- Для уличных, квартирных прямых, подвальных и пожарных лестниц ширина составляет 80 см;
- Для лестницы, ведущей на чердак 60 см;
- Спиральная лестница в квартире от 80 см до 1м.
Минимальные и максимальные размеры ступеней
Ссылаясь на СНиП, можно увидеть:
- Проступь соответствует ширине от 25 см, если лестница мансардная или подвальная, то от 20см;
- Подступенок соответствует высоте 15 – 20 см, однако, допускаются погрешности не более 5 мм.
Как было сказано выше, что удобными размерами ступеней служат те, которые находятся в соотношении со средним значением шага человека. Поэтому, целесообразно представить подобные вычисления в виде формулы Блонделя:
2h + b = S (60-66 см)
Оптимальный наклон
Предусматривая при возведении лестницы угол наклона, стоит отметить, что рекомендаций норм строительных стандартов в этом вопросе не установлено.
Однако, уклон лестницы определяется соотношением проступи и подступенка, и делая упор на максимум и минимум высоты и глубины ступени, то угол наклона колеблется в пределах 33 – 45 градусов.
Для лестниц пологих (внутренних) оптимальным считается значение до 38 градусов, а для лестниц крутых (подсобных, чердачных) — до 45 градусов.
В чём суть точности построения конструкции?
Используемые при сооружении лестницы параметры каждой ступени, должны быть предельно точными и одинаковыми.
Это позволяет человеку использовать её при ходьбе без особой осторожности, как днём, так и ночью, опираясь на мышечную память ног.
А в случае несоблюдения этого правила, человек испытывает неудобства при использовании лестницы, стараясь нащупывать ногой каждую ступень. И спуск по такой лестнице достаточно травмоопасен.
Слишком крутая лестница может быть опасной
Как известно, нормы и правила написаны кровью. Не стоит пренебрегать их требованиями!















































