СНиП лестницы в жилых домах – нормы безопасности

Для того, чтобы лестничная конструкция была безопасной и удобной в эксплуатации, необходимо, при ее проектировании, придерживаться требований нормативных документов. Расчеты производятся, согласно СНиП — лестницы в жилых домах, ступени и ограждения должны иметь соответствующие размеры.
Необходимо учитывать все факторы, влияющие на лестничную конструкцию, ее функциональность, а также надежность. Немаловажным моментом является и ее внешний вид, определение стиля и конструктивной нагрузки.
Кроме этого, стоит учесть возраст людей, которые будут проживать в доме и обратить внимание на безопасность передвижения детей.
Основные требования
Планировать лестничную конструкцию начинают на стадии проектирования и подготовки документации. Для этого определяют место ее нахождения, высоту помещения, доступную площадь, максимальные нагрузки, затем выбирают возможные конструкции и материалы, далее – производят необходимые расчеты.
Все это делается до начала работ по возведению дома – на чертежах и в пояснительных записках, называемых технической документацией. Монтаж конструкций, в том числе и лестничных, производят только после окончательного утверждения проекта заказчиком.
Расчеты лестницы должны быть произведены таким образом, чтобы исключалась возможность:
- разрушения и повреждения, которые могут привести к прекращению эксплуатации;
- появления трещин и деформаций, влияющих на безопасность;
- несоблюдения нормативных размеров конструктивных элементов.
По требованиям соответствующих СНиП, лестницы в жилых домах, расположенных между этажами двухуровневых квартир, не могут иметь ширину марша менее 0,9 метра, а уклон наклона – менее 1:1,25. Такие же нормы предусматриваются и для подвальных, и для цокольных этажей. Марши, установленные на лестничных клетках секционных зданий, имеют несколько другие параметры.
Их ширина должна быть не менее, чем 1,05 метра, а уклон – не более 1:1,5 для двухэтажных или 1:1,75 для трех- и более этажных сооружений. В СНиП указано, что минимальная ширина марша коридорной лестницы должна составлять1,2 метра и более при уклоне 1:1,75.
Стоит отметить, что шириной марша считается расстояние между перилами, либо ограждающей конструкцией и стеной.
Обратите внимание
Нормами также устанавливается, что при перепаде уровней основания пола, лестница может иметь не менее трех ступеней, а междуэтажный марш, за исключением винтовых лестниц, – не более 18 подъемов. При большем количестве проступей необходимо устанавливать промежуточные площадки.
Очень важным показателем, который также определяется нормативными документами, является минимальная высота от ступени до потолка. Она должна быть не менее 1,90-2,00 метра. Меньшее расстояние вызовет неудобство при передвижении людей, имеющих рост выше среднего.
Размеры ступеней и особенности ограждений
Требования к лестницам изложены в двух основных документах:
- СНиП 2.08.01-89* «Жилые здания»;
Высота ступеней лестниц: ГОСТ. Расчет размера ступеней и уклона лестничного марша

Закон 27 июля 2016
Лестничная конструкция, ее внешний вид, удобство и безопасность имеют важнейшее значение для любого дома.
Удачный дизайн лестницы повышает общий уровень комфорта людей, которые будут ею пользоваться в будущем, а также влияет на уровень эргономичности помещения.
Учитывая важность и значимость конструкции, регулированию на законодательном уровне подвергаются практически все ее элементы: ширина и протяженность пролета, размер ограждений, количество и высота ступеней лестниц (ГОСТ и СНиП).
Значение своевременного расчета параметров
Базовые размеры лестничной конструкции рассчитывают еще на этапе разработки проекта дома. Ширина и высота ступеней лестницы позволяет строителям вычислить важнейшие параметры будущего здания.
Зачастую при разработке проекта лестниц руководствуются действующими нормами и пожеланиями владельца здания. Соответствие административным документам, регулирующим строительно-ремонтные работы, обязательно. Ведь чертеж красивой, поражающей воображение лестницы, — это полдела. Конструкция должна быть функциональной, надежной, удобной и безопасной.
Особенно пристального внимания требуют лестницы в зданиях общественного назначения или в учебных заведениях.
Как именно регулируется строительство лестниц
Документы, которые содержат стандарты, нормы и правила, в согласии с которыми должны быть возведены все лестницы, – ГОСТ и СНиП.
Для лестниц из бетона и железобетона существуют ГОСТ 8717.1-84 и 8717.0-84. Последний документ распространяется и на лестницы, выполненные из металлоконструкций.
Отдельные их пункты описывают то, какой высоты должны быть марши, сколько ступеней в них следует разместить и какой высоты их нужно делать. Также оговаривается угол, под которым размещают лестничный пролет, ширина площадки и тип ограждений.
Некоторые размеры приведены с указанием конкретных значений, другие представляют собой диапазон, в пределах которого мастера-строители могут выбирать подходящие для них цифры.
Видео по теме
Что значит «оптимальный наклон лестницы»?
Угол, под которым будет расположена лестничная конструкция в частном доме, многоэтажной квартире или здании общественного назначения – это рекомендуемые значения. Минимальный угол составляет 20 градусов, максимальный – 50 градусов.
Меньший угол указывает на то, что лестница располагается низко, то есть она пологая. Конечно, по таким ступеням довольно легко подниматься и снижается риск падения, но подобная конструкция получается в разы длиннее и занимает гораздо больше места.
Зачастую дизайнеры призывают владельцев к экономии жилого пространства путем сокращения длины лестницы. ГОСТ устанавливает максимально допустимый угол наклона на уровне 50 градусов, так как более крутые ступени небезопасны для поднимающегося человека.
Правда, существуют исключения, такие как монтаж лестниц на чердаки и в подвалы. Здесь могут быть разрешены крутые лестницы из-за их нечастого использования и ограниченности пространства.
Оптимальным (для частного дома) считается лестничный пролет, наклоненный под углом 30-35 градусов. Этот диапазон показателей соответствует естественным ритмам движения человека.
Какие данные принимают в расчет в процессе разработки проекта
Наиболее важными параметрами, влияющими на лестничную конструкцию, являются:
- Высота каждого этажа.
- Общие площади внутренних помещений.
- План расположения окон, дверей и открытых проемов.
- Форма и особенности стен комнат (ниши, выступы).
Эти данные, которые определяют по строительным чертежам, влияют на то, какой будет высота ступеней лестниц, ГОСТ также обязательно учитывается. Кроме того, полученные цифры позволяют увидеть, какой будет общая высота лестницы, длина маршей, количество и размер поворотных площадок.
Существование установленных параметров вовсе не означает, что лестничную конструкцию не нужно рассчитывать. Индивидуальные проекты необходимы, так как на конечные размеры влияют многие факторы (материал изготовления лестницы и ограждения, тип их отделки, материалы, использованные при оформлении интерьера).
Как вычисляется высота ступеней лестниц (ГОСТ)?
Угол наклона конструкции зависит от того, сколько будет ступеней, от их высоты, а также от расстояния между ними.
Стандарты определяют административные документы — ГОСТ и СНиП. Высота ступеней лестницы может быть от 12 см до 22 см. На выбор конкретного размера влияет место размещения конструкции и ее назначение. Для тех лестниц, которыми интенсивно и часто пользуются, рекомендуют выбирать значение около 14,5-17,5 см.
Говоря о глубине проступи (горизонтальной плоскости, на которую ступает человек), следует указать ее оптимальный показатель: разрешенный диапазон составляет от 25 см до 40 см. Однако самыми удобными признаны ступени, ширина которых 30-37 см.
Важно
Обоснованием этих значений становится размер стопы среднего человека, а также ширина его шага.
Если по каким-либо причинам не могут быть применены оптимальные параметры или запланированный уклон лестницы препятствует размещению ступеней таких размеров, разработчики проекта уменьшают глубину до 14,5 см. При этом они предусматривают выступ, увеличивающий глубину на два или три сантиметра (свес ступени).
Что такое подступенок и какой должна быть его высота
Высота степеней любой лестницы напрямую зависит от размера подступенка и толщины самой ступени. Подступенком называется вертикальный элемент, расположенный между двумя проступями.
Как уже было отмечено, стандартная высота ступени лестницы составляет 14,5-17,5 см. При этом процесс расчета параметров предусматривает обязательную проверку на удобство и безопасность. Для этого складывают ширину проступи и высоту подступенка (по чертежу). Если сумма находится в диапазоне от 44 см до 48 см, то лестница может считаться безопасной.
Количество ступеней
Стандартный лестничный марш в среднем содержит 12-15 ступеней. Это количество позволяет большинству людей спокойно подняться от начала до конца конструкции или до лестничной площадки.
Чтобы определить, сколько ступеней будет иметь возводимая лестница, мастера используют следующий метод:
- Вычисляют или измеряют общую длину лестницы (расстояние от первой ступени до пола второго этажа).
- Делят полученную длину на примерную высоту подступенка.
- Округляют полученный размер до целого числа и выполняют пересчет с учетом новых данных.
Этот алгоритм довольно упрощен, так как в процессе реальных расчетов принимаются во внимание многие другие факторы (толщина напольного покрытия на первом и втором этажах, тип самой лестницы, отделка ступеней).
Особенности лестниц из бетона
Сегодня выбор лестничной конструкции для многих владельцев домов облегчен существованием готовых модулей из высококачественного бетона (марка не ниже В15).
Их изготовлением занимаются сертифицированные производители, поэтому соблюдены все требования ГОСТ и СНиП (высота ступеней лестницы, их глубина и ширина, а также угол наклона).
Использование таких конструкций значительно облегчает, ускоряет и удешевляет возведение лестниц. ЖБ-лестницы очень прочны и поддаются декорированию различными материалами и техниками, поэтому их устанавливают как в жилых домах, так и в общественных зданиях.
Отдельные аспекты проектирования лестниц
Высота ступеней лестниц (ГОСТ это предусматривает) должна быть одинаковой для всех элементов лестницы. Это обязательное требование, которое призвано обеспечить равновесие человека, перемещающегося между этажами.
Кроме того, специалисты утверждают, что людям более комфортно завершать подъем или спуск той ногой, которой они начали движение по лестнице. Поэтому многие конструкции содержат нечетное количество степеней.
Если площадка между маршами состоит из нескольких уровней, разница в их высоте должна быть равна высоте ступени.
Винтовые лестницы и их ступени
При проектировании винтовых или спиральных лестниц дизайнерам приходится иметь дело с забежными ступенями. Требования, касающиеся их высоты, остаются такими же, как и для прямых, поворотных или комбинированных конструкций.
Однако, в силу специфичной формы ступеней, строгому регулированию подвергается глубина проступи и ширина самой лестницы.
Это связано с тем, что передвигаться по винтовым конструкциям не настолько удобно и безопасно, как по традиционным. По этой причине дизайнеры не советуют возводить такую лестницу в качестве основной.
Зачастую винтовые лестницы служат для подъема на чердак или как вспомогательное средство передвижения. Правда, многие современные конструкции винтового типа имеют очень красивый дизайн и становятся главным украшением комнаты. Для повышения комфорта будущих жильцов их ширина и высота между ступенями лестницы должны быть максимально приближенными к оптимальным параметрам.
Винтовые лестницы совершенно не подходят для установки в общественных зданиях и учебных учреждениях. Также их следует избегать, если в доме будет жить человек с ограниченной подвижностью. Правда, если владелец все же очень хочет видеть в своем доме именно такую лестничную конструкцию, ему следует разместить все значимые объекты и помещения (спальню, кухню, гостиную) на первом этаже.
Расчет размеров ступеней лестницы в доме

Расчет размеров ступеней лестницы на видео.
Расчет размера ступеней лестницы выполняется с учетом типа конструкции. Если она прямолинейная, используют одни формулы.
Если поворотная, важно не забить про расчет забежных ступеней, особенность которых заключается в отличии размеров наружного и внутреннего края. Существует множество онлайн-калькуляторов, позволяющих быстро произвести вычисления.
Но если знать, как правильно рассчитать ступени на лестнице, каждому под силу справиться с этой не такой уж сложной задачей самостоятельно.
Совет
Для расчета размеров ступеней существует несколько способов. Лишь после того как все размеры будут известны, а план готов, можно приступать непосредственно к строительству лестницы выбранного типа.
На этой странице вы узнаете, как самому рассчитать лестницу с забежными ступенями и без них.
Способ расчета ступеней лестничного марша
Для движения по лестнице в доме без прикладывания чрезмерных усилий необходимо, чтобы для каждой ступени соблюдалось определенное соотношение между «расстоянием», на которое человек движется вперед, и «расстоянием», на которое он опускается или поднимается. Такое соотношение называется уклоном.
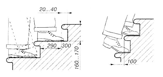
Таким образом, ширина проступи и высота подступенка должны соответствовать ширине среднего человеческого шага, а она при подъеме ноги на 300 мм в среднем составляет примерно 600 мм.
В строительстве существует правило, согласно которому ширина среднего шага человека равна сумме удвоенной высоты подступенка (К) и ширины проступи (Ъ):
2h + b = 600-650 мм.
Например, если высота подступенка составляет 185 мм, то ширина проступи должна быть равна 270 мм. Так, согласно приведенной формуле расчета ступеней: 2×185+ 270 = 640 мм.
При высоте подступенка 170 мм ширина проступи будет составлять 290 мм. Такое соотношение принято считать идеальным. Но на практике при расчете ступеней лестницы рекомендуется придерживаться других параметров.
Так, например, в доме высота подступенка обычно не превышает 170 мм, но иногда может варьироваться в пределах от 120 до 200 мм и даже более, а ширина проступи — от 280 до 300 мм (но она не должна быть менее 250 мм).
Часто ширину проступи увеличивают примерно на 20-30 мм (в зависимости от толщины подступенка), так как лестница с углубленными подступенками является более удобной в эксплуатации.
Обратите внимание
Но это считается крайней вынужденной мерой, когда нет другого способа увеличить ширину проступи.
При этом ширина проступи становится больше, а место, предназначенное под лестничную конструкцию, остается неизменным.
При расчете ступеней прямой лестницы, умножив оптимальную ширину проступи на количество подступенков, можно вычислить заложение марша, т. е. длину его горизонтальной проекции. До этого необходимо вычесть из количества подступенков 1, так как при совпадении верхней проступи с уровнем пола или лестничной клетки количество проступей сокращается на одну.
Для вычисления длины основания лестницы этим способом следует умножить количество проступей на их ширину. Кроме того, длина общего прогона и длина проема в полу верхнего этажа должны быть почти одинаковыми.
После проведения подсчетов, определив высоту лестницы, можно выполнить расчет количества ступеней и длину основания лестничной конструкции (общий прогон). Высота лестницы напрямую зависит от высоты этажа. Как же рассчитать количество ступеней? Разделив полученную величину на высоту подступенка, можно узнать точное количество ступеней.
При первоначальном выборе высоты подступенка важно помнить, что частное от деления должно являться целым числом, в противном случае ступени будут иметь разную высоту, а это недопустимо.
Дробный результат необходимо округлить в большую сторону для более пологой конструкции или, наоборот, — в меньшую, если допускается, что лестница будет крутой.
Важно
Разделив общую высоту марша на количество ступеней и округлив результат, можно вычислить высоту подступенка.
Далее вы узнаете, как рассчитать ступени лестницы, зная высоту подступенка и ширину проступи.
Как рассчитать размер ступеней лестницы по высоте подступенка и ширине проступи
Для выбора параметров ступеней можно использовать два правила, в основе которых лежит высота подступенка (h) и ширина проступи (5):
- первое правило представляет собой «формулу удобства»: b-h — 120 мм;
- второе правило при расчете ступеней лестницы называют «формулой безопасности»: b + h = 460 мм.
Согласно вышеизложенному, чтобы рассчитать ступени правильно, так, как того требует технология возведения конструкции, лучше всего выбирать соотношение между шириной проступи и высотой подступенка, которое близко к оптимальному. Например, удобными будут считаться лестничные конструкции, имеющие ширину проступи 295 мм при высоте подступенка 150 мм или
С шириной проступи 230 мм и высотой подступенка 215 мм, так как в обоих случаях в сумме получается 445 мм, что не противоречит формуле безопасности. Хотя при расчете лестничных ступеней многое будет зависеть от месторасположения и формы лестницы, площади помещения и других условий.
Существуют определенные требования по жесткости несущих элементов сооружения, так как оно представляет собой конструкцию, на которую в процессе эксплуатации большое воздействие оказывают динамические нагрузки.
Помимо собственного веса лестницы, имеются и временные нагрузки, которые в домах составляют примерно 300 кг/м2. Так, прогиб не должен быть более 1/400 пролета.
Нужно учитывать, что как слишком узкие (менее 260 мм), так и очень широкие (более 320 мм) проступи являются неудобными в эксплуатации.
При узкой проступи происходит уменьшение площади опоры ноги, во время подъема над передним краем ступени пятка заметно нависает, а при спуске свисает передняя часть стопы. Из-за этого нога может соскользнуть — возникает риск получения травмы.
Чрезмерно широкая проступь (стопа целиком встает на нее) требует увеличения ширины шага. Из-за этого понадобится приложить больше усилий во время перемещения по лестнице.
Ниже описано, как рассчитать размер ступеней графическим способом.
Расчет ступеней прямой лестницы: графический способ
Ррасчет ступеней лестничного марша также можно произвести графическим способом. Он является эргономическим, так как в нем используются естественные для человека параметры.
Так, длина шага по горизонтальной поверхности составляет в среднем 620 мм, а для легкого поднятия ноги идеальна высота 310 мм.
Если на оси х (по горизонтали) отложить определенное количество частей, равных 620 мм, а на оси у (по вертикали) отмерить такое же число частей, равных 310 мм, то благодаря этому, независимо от уклона, можно будет определить габариты ступеней для всех лестничных конструкций.
Совет
С этой целью необходимо использовать миллиметровую бумагу (если ее нет, то подойдет обычная бумага в мелкую клеточку), на которой следует начертить оси координат и в подходящем масштабе отмерить на осях отрезки, равные длине шага (на оси х) и высоте подъема (на оси у). Затем нужно соединить полученные точки.
Далее необходимо начертить линию уклона лестницы (по углу). После этого через точки пересечений имеющихся на чертеже линий следует провести пунктирные линии, параллельные осям. По полученным линиям нужно начертить линию — «лесенку». В результате можно измерить получившиеся ступени, сделав поправку на масштаб.
Между параметрами ступени (ее шириной и высотой) и уклоном лестницы будет видна определенная зависимость.
При расчете параметров ступеней (высоты подъема, ширины и формы) следует обратить внимание на то, что это размеры ступеней в плане. На самом деле они поддаются корректировке. Например, можно увеличить ширину проступи, соорудив у ступени валик (не рекомендуется, чтобы нависание проступи было больше 50 мм).
Также можно выполнить скошенный подступенок (но не более чем на 50 мм) или полностью отказаться от него. Таким образом, всегда можно сделать проступь шире, а лестницу — удобнее в эксплуатации при подъеме. Но безопасность спуска при этом не повышается, так как расчетные размеры ступеней остаются неизменными.
Удобство и безопасность в использовании лестничной конструкции во многом зависит от угла ее подъема, т. е. от относительной величины подъема лестничного марша.
Несмотря на то что угол подъема марша может варьироваться в пределах от 20 до 50°, идеальными будут лестницы, относительная величина подъема лестничного марша которых составляет от 23 до 38°.
Пологими можно считать лестничные конструкции с крутизной до 38°, а крутыми — с уклоном в 38-45°. Если уклон будет меньше 23°, то вместо лестницы рекомендуется положить пандус.
Обратите внимание
Если уклон превышает 45°, то желательно изменить тип лестницы, из-за крутизны она может быть приставной или раскладной. Для винтовых сооружений идеальным считается угол подъема 25-35°.
Есть определенная связь между высотой этажа, высотой ступеней и их количеством в зависимости от степени крутизны лестничной конструкции.
При выборе крутизны лестничного марша следует учитывать, что расстояние от верхней плоскости каждой ступени до потолка (высота просвета) согласно строительным нормам не должно составлять менее 1900-2000мм.
Чем больше просвет, тем удобнее лестница, особенно для высоких людей. То же самое относится и к лестничным площадкам.
Устройство достаточного по размерам просвета избавит от риска удариться головой о потолок, к тому же можно будет забыть и о проблемах с перемещением крупных предметов.
Заключительный раздел статьи посвящен тому, как рассчитать ступени поворотной лестницы .
Как рассчитать забежные ступени: способ расчета поворотной лестницы
До этого речь шла о ступенях прямолинейных лестничных конструкций. Чтобы сэкономить пространство, вместо промежуточных лестничных площадок между прямыми маршами рекомендуется закладывать забежные ступени.
У них наружный и внутренний края имеют различия по ширине. Такие лестницы отличаются тем, что изменение направления движения по ним происходит плавно благодаря постепенному переходу от прямых ступеней к забежным.
Как же нужно рассчитывать размеры ступеней на поворотной лестнице?
При расчете поворотной лестницы с забежными ступенями необходимо иметь в виду, что самая маленькая ширина проступи на узком конце ступени должна составлять не менее 100 мм, а нависание над нижележащей ступенью может быть не более 50 мм. Забежные ступени имеют своеобразную клиновидную форму, для создания которой необходимы специальные умения. Расчеты можно производить несколькими способами.
Важно
Перед тем как рассчитывать забежные ступени, необходимо сначала разбить среднюю линию марша на равные части, при этом на середину полуокружности должна приходиться одна ступень.
Ширина ее проступи в самом узком месте задается предварительно, но она должна составлять более 100 мм.
При наличии четырех точек для центральной ступени следует провести линии ее продольных кромок, затем продолжить их до пересечения с осью симметрии.
Полученную в результате этих действий при расчете поворотных ступеней точку — первую точку отрезка пропорционального деления — можно обозначить буквой А.
Для нахождения второй точки пропорционального деления необходимо соединить контуры прямых ступеней, которые являются смежными с забежными. Так определяют точку пересечения с осью симметрии. Ее при расчете лестницы с забежными ступенями можно обозначить буквой В.
Затем прямую АВ следует разделить на отрезки в пропорции 1 : 2 : 3 : 4 : 5 : 6, т. е. их число должно быть равным числу забежных ступеней по обе стороны от оси симметрии. В результате нужно соединить точки «деления оси симметрии с точками деления средней линии марша.
При «снятии» размеров с чертежа следует тщательно проверить размерную цепочку всех ступеней методом сложения. В итоге сумма размеров, «снятых» с одной стороны ступеней, не должна быть больше или меньше действительного размера лестницы на данном участке.
Правила, требования,нормы проектирования и строительства лестниц

Что бы правильно спроектировать лестницу, необходимо не только грамотно выбрать её местоположение, но и учесть нормы проектирования лестниц, изложенные в соответствующих главах СНиП.
Далее приводятся основные нормы, правила и требования, которые необходимо учитывать при проектировании и строительстве лестниц.
Параметры лестничных площадок и маршей
Ширина маршей и площадок определяет пропускную способность лестницы и зависит от требований пожарной безопасности (эвакуации) и предполагаемых габаритов переносимых вещей.
- Минимальная ширина лестничного марша: для внутриквартирных лестниц – 80 см, для 2-этажных зданий – 90 см, для жилых зданий большей этажности – 105 см, для общественных зданий – 135 см
- Максимальная ширина марша: для жилых зданий – 140 см, для общественных – 240 см.
- Полезная ширина марша поворотной лестницы и лестницы, соединяющей более 2-х этажей должна быть не менее 1.0 м, что бы обеспечить одновременный проход двух человек и пронос крупногабаритных предметов.
- Ширина многомаршевых лестниц должна быть одинаковой на всем протяжении лестницы.
- Между лестничными маршами, расположенными во встречном друг к другу направлении, должен быть зазор не менее 50 мм.
- Ширина лестничных площадок должна быть не менее 120 см и не менее ширины марша.
- Длина лестничных площадок между маршами должна быть не менее 1,3 – 1,4 м (это средняя длина двух шагов взрослого человека)
- Длина лестничных площадок у входных дверей может быть 1м, если двери раздвижные или открываются в противоположную от лестницы сторону. В противном случае длина площадки равна ширине дверного полотна + минимум 60см.
Уклон лестницы, расчет ступеней
При проектировании лестницы одновременно учитываются два: удобство (безопасность) передвижения по лестнице и минимизация занимаемой лестницей площади. Безопасность лестницы зависит от её уклона и параметров ступеней.
- Количество ступеней в одном марше лестницы должно быть не менее 3-х и не более 16. При меньшем количестве легко оступиться, большее делает лестницу «утомляемой» и требуется устройство промежуточной площадки.
- Число ступеней в марше желательно предусматривать нечетное, так как человеку удобнее начинать и заканчивать движение по лестнице с одной и той же ноги.
- Рекомендуемый уклон лестницы находится в пределах 1:2 – 1:1,75 (от 20 до 26,7 градусов).
- Максимальный уклон лестницы для ходьбы 1:0,85 (50 градусов)
- Минимальный уклон лестницы для ходьбы 1:2,75 (20 градусов)
- Максимальная высота ступеней лестниц: в жилых и общественных зданиях –19 см, для внутриквартирных лестниц – 20 см, для подвальных и чердачных – 21 см.
- Минимальная высота ступеней – 12 см.
- Максимальная ширина ступеней лестниц: в жилых и общественных зданиях –26 см, для внутриквартирных лестниц – 23 см, для подвальных и чердачных – 21 см.
- Минимальная ширина ступеней – 25 см. Для лестниц ведущих в нежилые помещения (подвал, чердак) минимальная ширина ступеней – 20 см.
- Высота ступеней лестницы в переделах одного марша не должна различаться более чем на 5 мм.
- При ширине ступени до 26 см величина её свеса не должна превышать 3 см.
- Забежные (клиновидные) ступени на внутренней границе полезной ширины должны иметь проступь шириной не менее 10 см и 26 см на средней линии марша.
- Радиус кривизны средней линии марша с забежными ступенями должен быть не менее 30 см.
- Расстояние между любой ступенью лестницы и потолком должно быть не менее 2-х метров.
Рекомендуемые отношения ширины ступени к её высоте
Что бы спроектировать удобную и безопасную лестницу, нужно воспользоваться Формулой уклона марша, определяемую как коэффициент отношения ширины ступени к её высоте: k=b/a
При ширине ступени от 26 до 30 см и величине коэффициента в пределах от 1,75 до 2 – лестница считается удобной. Удобными будут такие соотношения ширины ступени к её высоте как 30/15 (k=2), 31/16 (k=1,94) и 29/17 (k=1,70).
Рекомендуемые отношения ширины ступени к её высоте
Параметры перил (ограждений)
- Высота перил междуэтажных лестниц должна быть не менее 90 см, для лестниц высотой более 12 м – 110 см.
- Для лестниц, используемых детьми, высота ограждений рекомендуется 150 см.
- Высота ограждений наружных входных лестниц при подъеме на 3 и более ступеней должна быть не менее 80 см.
- Лестницы, имеющие более 5 ступеней, при ширине марша до 125 см оборудуются поручнем с одной стороны, при ширине марша 125 – 250 см с двух сторон. Лестничные марши шире 250 см оборудуются дополнительными перилами по центру марша.
- Отсутствие ограждений допустимо для лестниц из 5 ступеней и меньше.
- Расстояние между балясинами (стойками перил) не должно быть больше 12 см при высоте лестницы от пола свыше 150 см.
- Перила лестницы должны выдерживать нагрузку 100 кг/м.
Схематическое изображение лестницы и её составляющие
Рекомендуемое применение различных пород древесины для строительства лестниц
Статьи по теме “Дизайн лестниц”
Как рассчитывается по ГОСТу размер и высота ступени лестницы: рекомендации специалистов и стандарты снип

Требования снип при расчете высоты ступеней лестницы под стандарты ГОСТа
Сегодня всё больше владельцев загородных домов отдают предпочтение конструкциям в несколько этажей, поэтому без двухмаршевой лестницы на второй этаж не обойтись. Для того чтобы лестница была функциональна и безопасна, при её строительстве необходимо соблюдать требования ГОСТа.
В этой статье будут детально рассмотрены этапы планирования и строительства лестница на второй этаж. с учётом требований ГОСТа.
Зачем необходимо выполнять предварительный расчёт лестницы и ступеней?
Многие хозяева, выбирая форму и конструкцию лестницы, материал для её строительства, полностью забывают, что в первую очередь к этой конструкции предъявляются требования: практичность, безопасность и функциональность. Изделия, которые изготовлены без соблюдения требований ГОСТа зачастую травмоопасные. Так, ступеньки и перила, которые изготовлены на скорую руку, делают конструкцию менее прочной.
Чаще всего лестницы в дом и на второй этаж изготавливаются из металла или древа. Но как показывает практика, деревянные изделия более практичны, и имеют ряд достоинств. Неплохо себя зарекомендовали конструкции, в которых сочетаются металл и дерево.
Для того чтобы лестница была безопасна в эксплуатации, необходимо правильно выполнить все необходимые замеры. Особенно тщательно подходить к изготовлению конструкции стоит в тех домах, где проживают дети и старые люди.
Какие нормы прописаны в ГОСТ и СНиП?
Используя многолетний опыт строительства и проектирования лестниц. были созданы правила, выполнение которых гарантировало безопасность конструкции.
Основным условием этих требований является: подбор определённого расстояния между ступенями для комфортного и свободного перемещения вниз и вверх. Существует определённая формула расчёта: 2-х+у=66–60 см. В этой формуле содержится формула безопасности: х+у=46, удобства – у-х= 12.
В этих формулах значение х – расстояние по вертикали между поверхностями смежных ступеней, у- расстояние между их краями.
Совет
Современные строительные технологии позволяют шагнуть намного дальше в вопросах личной безопасности. Поэтому в планировании, монтаже лестничных проходов и ступеней, многие рекомендуют пользоваться нормами СНиП и ГОСТ.
Ниже приведены основные требования, при соблюдении которых не должно возникнуть травмоопасных ситуаций и проблем, при эксплуатации лестницы.
- В здании, где имеет более 2 этажей, лестничный пролёт должен быть только один.
- Разборные лестницы или трансформеры могут применяться только для чердачных или подвальных помещений.
- Существуют определённые требования к ширине лестничного пролёта, она должна быть в пределах 80 см – 1,2 м. Это позволит свободно передвигаться одному человеку. Одним из основных требований остаётся равномерная ширина лестницы на всей её протяжённости.
- В одном марше должно быть от 3 до 18 ступеней, если здание имеет общественное значение, то максимальное количество – 16 ступеней. Многие специалисты утверждают, то ступеней в пролёте должно быть нечётное количество. Это даёт возможность начинать и заканчивать подъем или спуск с одной и той же ноги.
- Уклон, при подъёме, не должен быть меньше 4 градусов, и превышать 18 градусов.
- Оптимальными параметрами высоты ступеней считаются 150–200 мм. Допускается разница в 5 мм. Это высота, на которую удобно поднимать ногу и пожилому человеку и маленькому ребёнку.
- Ширина ступеней не должна быть более 250 мм, на чердачные и подвальные помещения – более 200 мм.
- Согласно нормам СНиП и ГОСТа лестничные пролёты должны по ширине быть такими, как марши. Первая ступень от двери должна находиться на расстоянии не менее 1 метра.
- Высота перил около 900 мм, допускаются 1100 мм. Обязательно необходимо предусмотреть наличие балясин, они должны устанавливаться в промежутках 100–150 мм. Это очень важно в домах, где проживают дети.
На что нужно обратить внимание при проектировке лестницы
Все проектировочные работы необходимо выполнять только квалифицированным специалистам. которые знакомы со всеми требования ГОСТа и СНиП. Обязательно проектировщик учтёт пожелание заказчика.
Основными критериями в выборе формы конструкции, количестве ступеней и материале для изготовления, будут тип движения, предполагаемая максимальная нагрузка на конструкцию, возможные дизайнерские решения.
Кроме того, важно предусмотреть:
- обязательно учитывается максимальное количество пространства, которое можно задействовать под лестницу, от этого будут зависеть форма конструкции и опоры для неё;
- если планируется установка лестницы в уже построенное здание, то вариантов лестниц будет не так уж и много. Оптимальным вариантом считается одновременная постройка лестницы и здания;
- конструкторским бюро обязательно рассматриваются все вопросы, связанные с безопасным передвижением по лестнице. Выбирается оптимальная высота ступеней. В редких случаях специалисты отходят от общепринятых норм. Как показывает практика, чаще всего травмы наступает на лестничных проёмах, где имеются нестандартные размеры ступеней ;
- обязательно детально рассматривается вопрос конструирования поручней и перил учитывается максимальный вес, который может на них приходиться. Стандартными критериями считаются 100 килограмм. Это позволяет среднестатистическому человеку облокотиться или упереться в поручень и не проломить всю конструкцию;
- лестничный проём должен иметь зазор между потолком и лестницей в 2 метра;
- не последним фактором в проектировке лестницы является материал, из которого сделаны ступени. Если в зимнее время они будут скользить, то придётся укладывать ковролин, чтобы избежать падения.
Важность эргономических критериев расчёта
Очень важно правильно рассчитать ширину проступи. Она должна позволять взрослому человеку поставить полностью ногу на ступеньку. По стандартам эти параметры колеблется от 20 до 32 см .
Некоторые проектировщики утверждают, что оптимальными размерами являются подступок в 15 см, а ширина ступени – 30. Когда застройщик делает большую ширину, человек, поднимаясь, просто сбивается с шага, так как не хватает ширины поступи.
Если лестница не может иметь общепринятые стандарты наклона и должна быть менее 23 градусов. то лучшим вариантом станет установка пандуса. Если угол более 45 градусов, то лучше использовать приставные конструкции.
Этапы выполнения работ по монтажу лестничных проёмов, особенности:
- Определение вместе с проектировщиком места, где будет находиться будущая лестница.
- Выбирается определённый вид и тип лестницы, учитывая её высоту, ширину, количество ступеней в пролёте, материал, дизайнерское оформление. Размер конструкции должен быть просчитан до мелочей.
- Монтаж лестницы. Эти работы можно выполнять и самостоятельно, но лучшим вариантом будет пригласить опытного специалиста, чтобы избежать ошибок.
- Далее, определения необходимости наличия поручней. В общественных местах лестницы, по требованиям ГОСТа, не могут эксплуатироваться без перил.
- Определяется вид крепления конструкции к несущей стене. Необходимо предусмотреть дополнительные упоры, чтобы лестница была основательно закреплена и не двигалась.
- Завершающий монтаж всех декоративных элементов.
Существуют определённые требования к конструкциям.
которые устанавливаются в частных домах. Здесь проследить полное выполнение и соблюдение требований ГОСТ и СНиП невозможно, так как порой сам хозяин занимается установкой и изготовлением лестницы.
Поэтому только осознанное понимание, что этот участок может быть травмоопасным и нести угрозу для жизни домочадцев, должен заставить соблюдать перечисленные нормы:
- если нет возможности выделить большое количество места для лестницы, то рекомендуется использовать винтовую, её размер гораздо меньше. Она является практичной и надёжной;
- обязательно устанавливайте перила и ограждения, они помогут избежать падения со второго этажа, особенно если в доме живут маленькие дети;
- придерживайтесь стандартов ГОСТа, если конструкция имеет такие показатели;
- не забывайте устанавливать освещение на этом участке в доме, оно очень важно в ночное время.
Лестничные клетки для эвакуации
Лестничные клетки для эвакуации являются одним из первоочередных требований все ГОСТ и СНиП. Это связано с требованиями пожарной безопасности. В случае возгорания на верхних или нижних этажах, и невозможности выхода из помещения через парадный вход, именно лестничные клетки позволяют быстро и безопасно вывести всех людей на улицу.
К этим лестницам есть определённые требования:
- ширина марша эвакуационной лестницы должна быть не менее ширины дверного проёма. Уклон такой лестницы выполняется в соотношении 1:1, высота и ширина ступенек строго по ГОСТу- 220 мм, 250 мм.;
- все выходы на эти лестницы должны быть открыты, и в любое время доступны для проживающих или находящихся в здании людей;
- запрещено на этих лестницах размещать любые посторонние предметы, трубопроводы, коммуникации;
- на этих лестничных проходах могут находиться лифты для экстренной эвакуации, но более двух на один пролёт. Размер таких лестниц должен быть таким, чтобы экстренный людской поток мог беспроблемно передвигаться.
Проектировать лестницы – это ответственное и важное задание. Не стоит заниматься самостоятельно этим вопросом, если вы не имеете элементарных понятий и незнакомы с требованиями ГОСТа или СНиП. Грубые нарушения при проектировке и монтаже могут стоить жизни любого из тех, кто ними пользуется.
Лестница, СНиП и ГОСТ к которой соблюдены полностью, будет служить долго и качественно. Важно понимать, что стандарты лестниц не придуманы просто так. а выведены многолетними расчётами и жизненным опытом.
Барсуков Виктор Иванович
http://lestnica.guru
Расчет размеров ступеней и уклона лестничного марша

При расчёте по несущей способности элементы лестницы расчленяются на статически определимые балки — консольные или однопролётные, и рассчитываются по соответствующим формулам.
Так как лестницы подвержены действию динамических нагрузок, к жёсткости несущих элементов предъявляются повышенные требования: прогиб их не должен превышать 1/400 пролёта.
Нагрузки, действующие на лестничные марши и площадки, должны собираться путем сложения собственного веса конструкций и временных нагрузок: в жилых домах — 300 кг/м².
При подъеме человек затрачивает примерно в два раза больше энергии, чем при движении по горизонтали (рис. 2).
Практикой установлено: лестница удобна и безопасна, если удвоенная высота подступёнка, сложенная с шириной ступени (проступью), равняется среднему шагу человека.
Длина шага человека на плоскости составляет примерно 600–640 мм. Исходя из этого, проступь и подъем определяют по формуле: 2а+b = 600…640 мм.
рис.2. Расчет высоты и ширины рядовых ступеней
Как альтернативу можно использовать другую, более легкую для запоминания, формулу: а+b = 450 ± 20 мм, где а — высота ступени (подступёнка), b — ширина ступени (проступи).
Ширина проступи должна обеспечивать опирание ноги полной стопой, то есть быть не меньше 200 и не больше 320 мм. Оптимальной считается высота подступёнка, равная 150, а ширина проступи — 300 мм. При сильном увеличении ширины проступи вы непременно собьетесь с шага, а при сильном уменьшении затруднится спуск.
Обратите внимание
При проектировании забежных ступеней нужно учитывать, что минимальная ширина ступеней с узкого конца должна составлять не менее 100 мм, а нависание проступи над нижней ступенькой должно быть не более 50 мм.
Так же нависание верхней ступени над нижней делается тогда, когда другими способами не удается увеличить ширину проступи, в этом случае величина нависания не должна превышать 30 мм для деревянных и 50 мм для железобетонных ступеней.
Наиболее удобные углы подъёма лестницы находятся в диапазоне от 23 до 37°. Чем лестница круче, тем меньше ей надо места для установки в доме, и соответственно, чем лестница положе, тем больше места необходимо для неё предусмотреть.
Если угол меньше 23° — лестницу можно заменить пандусом (ровной наклонной площадкой), если больше 45°, то лестница переходит в разряд приставных или раскладных (рис. 3). Оптимальный угол подъема винтовых лестниц — 25–35°.
Наиболее сложным процессом при крутизне лестничного марша более 40° является спуск с лестницы, а при углах более 45° спуск можно осуществлять только спиной вперед.
рис. 3. Нормативная зависимость размеров ступеней от крутизны лестницы
Количество ступеней зависит от высоты этажа и угла наклона лестницы. Зная местоположение лестницы в плане и высоту помещения, количество ступеней можно (и проще) установить графически, а после этого, по формулам безопасности определить ширину проступи.
Для графического построения лестницы на миллиметровой бумаге или бумаге «в клеточку» нужно в масштабе нарисовать лестничный марш (рис. 4) соизмеряя его с высотой этажа.
рис. 4. Пример графического расчета количества ступеней и высоты подступёнка. Таблица высот для ступенек в зданиях с нормативной высотой этажа
Высотой этажа называется разница высотных отметок уровней чистого пола нижнего и верхнего этажа, то есть в размер высоты этажа должны быть включены толщины одежды полов.
Например, пол нижнего этажа облицован керамической плиткой, а пол верхнего этажа выложен паркетом по лагам и фанерному «черному полу». В расчет высоты этажа должны быть включены все слои данных половых конструкций: внизу — толщины выравнивающей стяжки, плиточного клея и плитки; вверху — толщина лаг, фанеры и паркета.
В России еще со времен существования СССР высота этажа — величина регламентированная. Обычно стандартная высота этажа равна 2,8 или 3 м, реже — 2,7 или 3,3 м, что позволяет проектировать высоту помещения (расстояние от пола до потолка) не менее 2,4 м.
Важно
Такая высота этажа позволяют без особого труда вписать лестницу с размерами ступеней, отвечающим требованиям расчетной формулы безопасности (рис. 4, таблица 2).
Если ваша высота этажа отличается от нормативной и не кратна 3, то высоту ступеней нужно рассчитывать (округлять) с точностью до одного миллиметра, но так, чтобы высоты всех подступёнков были одинаковыми. Погрешность вычисления, набегающую от округления высот, лучше распределить на нижнюю фризовую ступень, а остальные ступеньки марша сделать одинаковой высоты.
Разные по высоте ступени приводят к постройке травмоопасной лестницы. Особенно опасной эта лестница становится во время спуска в ночное время суток.
Спускаясь по лестнице, мышечная память нам подсказывает, что должна быть ступенька.
Вес тела переносится на ногу, а ступеньки под ней нет… Она — ниже! И всего-то два-три десятка миллиметров, а ногу подвернули… и еще хорошо, если не покатились кубарем вниз.
В домах с нестандартной высотой этажа для выравнивания высоты ступеней допускается опустить уровень чистого пола верхней этажной площадки чуть ниже относительно уровня чистого пола остального этажа. Порожек лучше не делать, а сделать пол этажной площадки в виде пандуса, то есть наклонным.
Для подравнивания высоты ступенек потребуется всего несколько миллиметров так, что уклон будет вряд ли сильно заметным. Как вариант, если лестничная площадка огорожена стенами с дверями, полы между этими помещениями можно сделать с небольшим порогом.
Такое решение всем хорошо знакомо: уровень этажных площадок в многоквартирных домах, как правило, ниже уровня чистых полов в квартирах. Ноги мы здесь не ломаем — привыкли.
Совет
В таблице 1 рисунка 3 приведены размеры ступеней для «уплотненных» лестниц, пригодных для загородных домов. Нередко в планировках этих домов под лестницы оставляется так мало места, что для того, чтобы сделать лестницу короче, приходится жертвовать шириной проступи. Так, например, в лестнице с высотой подступёнка 200 мм ширина проступи равняется 250 мм.
Взрослый человек не может опереться на такую проступь полной ступней и ему приходится спускаться с лестницы боком или спиной вперед. В таблице 2 рисунка 4 приведены размеры высот подступёнков для стандартных высот этажа. Рассчитать ширину проступи по формулам безопасности не составит особого труда.
Но есть и еще один способ определить размеры ступеней — графический.
Этот эргономический способ основан на том, что человек, свободно делая по горизонтальной плоскости шаг в 620 мм, может с той же легкостью поднимать ногу на высоту, равную лишь половине этой величины, то есть на 310 мм. Поэтому, если на горизонтальной оси графика (рис.
5) отложить известное число частей, равных каждая одному шагу (620 мм), а на вертикальной оси — равных высоте подъема ноги 310 мм, то такое построение дает возможность получить размеры подъема и ширины ступеней для лестницы с любым наклоном.
Для этого нужно нанести на график линию наклона своей лестницы (ее высота и длина известны) и в точках пересечения с сеткой графика провести перпендикуляры. Это и есть оптимальная высота и ширина ступени для данного уклона лестничного марша.
Более того, вы можете воспользоваться этим методом и построить лестницу конкретно «по себя». Например, задав шаг равным 600, а подъем соответственно 300 мм либо задав длину шага такой, какой вы считаете нужным.
рис. 5. Графический способ подбора оптимальных размеров ступеней (размеры в мм)
Размеры лестницы – вникаем во все нюансы самостоятельно

Лестницы
17.04.2017
11.3 тыс.
7.6 тыс.
6 мин.
Размеры лестницы зависят напрямую от ее конструкции и материала изготовления. Если допустить ошибки в расчетах, то сооружение может выглядеть неприглядно и стать потенциально опасным. Как избежать ошибок при проектировании и правильно произвести расчеты – читайте в нашей статье.
В зависимости от места расположения можно выбрать один из следующих вариантов:
- Одномаршевые. Такой тип встречается крайне редко, поскольку не подходит для использования в помещениях стандартной высоты. Чаще всего конструкции подобного рода используются для спуска в подвальные помещения, а также при обустройстве подъемов на небольшие высоты на улице. Когда лестница имеет большую длину, на ней обустраиваются специальные промежуточные площадки для организации отдыха при подъемах.
- Двухмаршевые. Наиболее распространенный тип, встречающийся как в жилых, так и административных зданиях, имеющих два этажа. Могут иметь стандартные формы или быть исполнены в форме буквы «Г». Недостаток конструкции – необходимо наличие большой площади для сооружения.
- Винтовые (криволинейные). Такие лестницы обустраиваются с целью экономии полезной площади. Из-за своей неординарной конструкции могут представлять опасность для детей и стариков, особенно при небольшой ширине.
- Комбинированные. Лестницы содержат различные элементы. Благодаря их правильной компоновке можно создать уникальные сооружения, которые будут как практичными, так и эстетически привлекательными.
Самые распространенные лестницы в двухэтажных домах — двухмаршевые
В зависимости от функционального назначения и условий эксплуатации выбирают материал, из которого будет изготовлена будущая лестница. Она может быть сделаны из одного материала, например, дерева или бетона, или состоять из нескольких . Такие варианты принято называть комбинированными.
Для эксплуатации на открытом воздухе стоит использовать стройматериалы, которые будут стойкими к атмосферным воздействиям. Для этого прекрасно подойдет бетон, стекло, металл и пр.
А вот лестницы внутри помещений менее прихотливы, хотя и к ним могут предъявляться серьезные требования, особенно если находятся они в местах с большим пассажиропотоком.
Обратите внимание
При создании лестниц из натуральных материалов рекомендуется обрабатывать их специальными пропитками, которые предотвращают воздействия вредных факторов.
При правильном подходе сооружения можно использовать не только внутри, но и снаружи помещений. Обработка проводится как после окончания всех работ, так и на этапе сооружения лестницы.
Деревянные, металлические, бетонные, кирпичные конструкции – все они нуждаются в периодической защите, чтобы исключить коррозию, разрушение и гниение.
При проектировании лестниц необходимо создать такую конструкцию, которая будет максимально удобной для ежедневного использования. Для этого существуют нормы и стандарты, позволяющие сделать сооружение комфортным и безопасным. Важное значение отводится и ширине.
В частных домах этот параметр варьируется от 80 до 140 см, в общественных же зданиях он стартует от 135 см и ограничивается 240 см. Если лестницу планируют использовать во время эвакуации как запасный выход, размеры лестничного марша должны быть не меньше 90 см.
Для лестниц с большим количеством ступенек нужно обустраивать промежуточные площадки
Когда конструкция имеет большое число ступеней, предпочтительнее обустраивать промежуточные площадки. Их ширина складывается из ширины двух маршей и еще дополнительных 10 см.
При возможности рекомендуется делать площадку больших размеров – более широкую. Угол наклона лестничного пролета – пространства между двумя площадками – должен лежать в промежутке между 26 и 45 градусов.
Оптимальное значение составляет 23–37 градусов.
Важно
Конструкции, имеющие вспомогательное значение, а также ведущие в подсобные помещения и подвалы, имеют уклон от 33 до 36 градусов. Чем меньше имеется места, тем круче будет лестница.
При невозможности обеспечить наклон лестнице больше 23 градусов, рекомендуется сменить сооружение на пандус для большего удобства.
А вот при значении более 45 градусов лучше выбрать приставную лестницу или ее раскладной аналог.
Все ступени должны иметь одинаковый размер, причем для первой и последней разрешается делать исключения, чтобы была возможность вписать ровное число ступенек. Согласно ГОСТ стандартная высота ступени любой лестницы лежит в диапазоне от 12 до 25 см.
В многоквартирных домах с несколькими этажами этот показатель не должен превышать 19 см. При обустройстве лестницы минимальное число ступеней должно составлять не менее 3 штук, в противном случае конструкцию заменяют на пандус.
Рекомендуемое максимальное количество ступеней в марше – 16, в противном случае необходимо или увеличить высоту ступеней, или изменить конструкцию лестницы.
Лестницу следует оборудовать ограждением, особенно, если в доме есть дети
Расстояние от ступеней до потолка должно быть не менее 2 м. Обязательно лестница должна иметь ограждение, хотя некоторые современные конструкции могут сооружаться и без них. Если есть маленькие дети, расстояние между элементами ограждений следует делать минимальным.
Рекомендуется его заделать закаленным или оргстеклом. Ограждение должно быть прочным и рассчитано на вес более центнера. Оптимальная высота ограждения с перилами должна составлять 90–100 см, для детей рекомендуется сделать дополнительный поручень на высоте от 70 до 75 см.
Обязательно необходимо предусмотреть освещение конструкции в темное время.
Совет
Рассчитать корректный размер ступени можно, зная глубину проступи и высоту подступенка. Шаг ступеней лестницы напрямую влияет на безопасность и удобство пользования конструкцией.
Безопасным сооружение считается в том случае, если сумма этих двух показателей равна 46 см: 26+20, 28+18 и подобное. Это так называемая формула безопасности, а идеальным значением считается показатель 29+17.
Однако на практике не всегда есть возможность реализовать оптимальные размеры ступеней лестницы в соответствие с приведенными значениями.
В этом случае рекомендуется воспользоваться формулой Блонделя, которая за основу берет средний шаг человека:
b+2h=60…65 см, где
b – ширина проступи;
h – высота ступеньки.
Можно присмотреться к показателям, рекомендуемыми современными авторами специальной литературы, где приводятся данные по высоте и ширине ступеней лестницы в зависимости от высоты этажи и постоянной ширины проступи:
Можно присмотреться к показателям, рекомендуемыми современными авторами специальной литературы, где приводятся данные по высоте и ширине ступеней лестницы в зависимости от высоты этажи и постоянной ширины проступи:
| 2250
(подвальные помещения) |
12 | 118 | 260 |
| 13 | 173 | 260 | |
| 2500 | 14 | 179 | 260 |
| 14 | 179 | 290 | |
| 2750 | 15 | 183 | 260 |
| 16 | 172 | 260 | |
| 16 | 172 | 290 | |
| 3000 | 17 | 176 | 290 |
Рассчитать количество ступеней самостоятельно не так-то и сложно. Необходимо для этого знать высоту помещения. Это значение необходимо разделить на высоту ступеньки. Если итоговый вариант имеет дробное значение, берётся только целая часть.
В этом случае, как говорилось выше, допускается делать нестандартной первую или последнюю ступень.
В некоторых случаях сооружают под лестницей специальный подиум, высота которого подобрана таким образом, чтобы итоговое число ступеней было целым без округления.
Обратите внимание
Для расчёта глубины ступеней берётся показатель среднего шага человека. Он имеет значение 63 см. От этой цифры нужно отнять двойную высоту подступёнка. Часто конструкции оборудуют проступью – это специальная накладка на ступень, изготавливаемая из прочных пород древесины толщиной 50 мм.
Для вычисления площади помещения, которая будет отведена под лестницу, необходимо перенести конструкцию на плоскость. Она будет иметь форму прямоугольника, одна сторона которого равняется выбранной ширине марша, а вторая – проекции его длины. Рассчитать второй показатель не составляет труда. Для этого глубину ступеней необходимо умножить на их количество.
Теперь можно вычислить длину лестничного полотна. Квадрат этого значения равняется сумме квадратов ширины марша и проекции его длины. Точное значение будет равно квадратному корню из полученного результата. В этом случае дробную часть значения тоже нужно отбросить. Определяя угол наклона, необходимо узнать значение синуса прямого угла отношения этажной высоты к длине лестничного марша.















































