Воспламеняемость строительных материалов — Страница 5

Содержание материала
Страница 5 из 10
ВОСПЛАМЕНЯЕМОСТЬ СТРОИТЕЛЬНЫХ МАТЕРИАЛОВ
Для оценки степени пожарной безопасности горючих материалов определяют их способность воспламенения под воздействием лучистой теплоты.
Для этой цели ГОСТ 30402-96 дает классификацию горючих материалов в зависимости от величины критической поверхностной плотности теплового потока (КППТП), т.е.
минимального значения этой плотности, при котором возникает устойчивое пламенное горение материала.
Обратите внимание
Горючие строительные материалы, в зависимости от величины КППТП, подразделяют на три группы воспламеняемости:
• В1 – трудновоспламеняемые — если величина КППТП равна или больше 35 кВт/м2;
• В2 — умеренновоспламеняемые — больше 20, но меньше 35 кВт/м2;
• ВЗ — легковоспламеняемые — меньше 20 кВт/м2.
Сущность метода испытания состоит в определении параметров воспламеняемости материала при заданных стандартом уровнях воздействия на поверхность образца лучистого теплового потока и пламени от источника зажигания.
Для испытаний изготавливают 15 образцов, имеющих форму квадрата со стороной 165 мм и толщиной не более 70 мм. Материалы, применяемые только в качестве отделочных и облицовочных, а также лакокрасочные покрытия изготавливают в сочетании с негорючей основой.
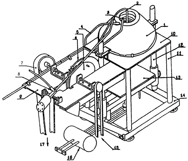
Испытание на воспламеняемость материалов проводят на установке, схема которой приведена на рис.3.5. Установка состоит из опорной станины, подвижной платформы, источника лучистого теплового потока (радиационная панель), системы зажигания, состоящей из вспомогательной стационарной газовой горелки, подвижной горелки с системой перемещения, а также вспомогательного оборудования.
Рис.3.5 Установка для испытания материалов на воспламеняемость:
1 — радиационная панель, 2 — защитная плита, 3 — подвижная платформа, 4 — противовес, 5 — рычаг, 6 — вытяжной зонт
Основной частью установки является радиационная панель, которая состоит из кожуха с теплоизолирующим слоем и нагревательного элемента мощностью 3 кВт.
Испытания проводят в течение 15 мин или до воспламенения образца. Целью испытания является определение величины критической поверхностной плотности теплового потока (КППТП), при которой возникает устойчивое пламенное горение материала, на основании чего устанавливается группа воспламеняемого материала.
ГРУППЫ МАТЕРИАЛОВ ПО РАСПРОСТРАНЕНИЮ ПЛАМЕНИ ПО ПОВЕРХНОСТИ(Эти группы устанавливаются только для поверхностных слоев кровли, полов, ковровых покрытий):
РП1 – нераспространяющие;
РП2 – слабораспространяющие;
РП3 – умереннораспространяющие;
РП4 – сильнораспространяющие;
ГРУППЫ МАТЕРИАЛОВ ПО ДЫМООБРАЗУЮЩЕЙ СПОСОБНОСТИ:
Д1- с малой дымообразующей способностью;
Д2- с умеренно дымообразующей способностью;
Д3- с высокой дымообразующей способностью;
ГРУППЫ МАТЕРИАЛОВ ПО ТОКСИЧНОСТИ ПРОДУКТОВ ГОРЕНИЯ:
Т1 – малоопасные;
Т2 – умеренноопасные;
Т3 – высокоопасные;
Т4 – чрезвычайно опасные;
Пожарные характеристики отделочных материалов

Сегодняшний рынок насыщен отделочными материалами с многочисленными дизайнерскими решениями: миллионы цветов, рисунков и различных фактур.
Можно воплотить в жизнь практически любую идею, но не стоит торопится с выбором, ведь немаловажное значение имеет пожарная безопасность! Кроме того, в случае неправильного выбора отделочных материалов по пожарным характеристикам, в случае проверки, у пожарной инспекции появится ряд вопросов и использование помещения станет большим вопросом. Давайте попробуем узнать что это такое и какие материалы лучше выбрать.
На данный момент действует Федеральный закон №123 «Технический регламент о Требованиях пожарной безопасности» который делит все отделочные материалы на классы, именно они говорят нам на сколько безопасен тот или иной материал. Бывает пять классов пожарной безопасности отделочных материалов, по возрастанию пожарной опасности: КМ0, КМ1, КМ2, КМ3 и КМ4. Каждый класс имеет свои пожарные характеристики, в сокращенном виде это выглядит так:
КМ0 (НГ)
КМ1 (Г1, В1, Д1, Т1, РП1)
КМ2 (Г1, В1, Д3+, Т2, РП1)
КМ3 (Г2, В2, Д3, Т2, РП2)
КМ4 (Г2, В2, Д3, Т3, РП2).
Важно
Отделочные и строительные материалы подразделяются на негорючие (НГ) и горючие (Г). Горючие строительные материалы подразделяются на четыре группы:
Г1 — слабогорючие;
Г2 — умеренногорючие;
Г3 — нормальногорючие;
Г4 — сильногорючие.
Горючие отделочные и строительные материалы по воспламеняемости подразделяются на три группы:
В1 — трудновоспламеняемые;
В2 — умеренновоспламеняемые;
В3 — легковоспламеняемые.
Горючие строительные и отделочные материалы по дымообразующей способности подразделяются на три группы:
Д1 — малая дымообразующая способность;
Д2 — умеренная дымообразующая способность;
ДЗ — высокая дымообразующая способность.
Горючие отделочные и строительные материалы по токсичности продуктов горения подразделяются на четыре группы:
Т1 — малоопасные;
Т2 — умеренноопасные;
ТЗ — высокоопасные;
Т4 — чрезвычайно опасные.
Горючие строительные и отделочные материалы по распространению пламени по поверхности подразделяются на четыре группы:
РП1 — нераспространяющие;
РП2 — слабораспространяющие;
РП3 — умереннораспространяющие;
РП4 — сильнораспространяющие.
Ниже приведена таблица, в которой указаны требования к строительным и отделочным материалам в определенных помещениях.
Класс (подкласс) функциональной пожарной опасности здания
Этажность и высота здания
Класс пожарной опасности материала, не более указанного
для стен и потолков
для покрытий полов
Вестибюли, лестничные клетки, лифтовые холлы
Общие коридоры, холлы, фойе
Вестибюли, лестничные клетки, лифтовые холлы
Общие коридоры, холлы, фойе
Ф1.2, Ф1.3, Ф2.3, Ф2.4, Ф3.1, Ф3.2, Ф3.6, Ф4.2, Ф4.3, Ф4.4, Ф5.1, Ф5.2, Ф5.3
не более 9 этажей или не более 28 м
КМ2
КМ3
КМ3
КМ4
более 9, но не более 17 этажей или более 28, но не более 50м
КМ1
КМ2
КМ2
КМ3
Более 17 этажей или более 50 метров
КМ0
КМ1
КМ1
КМ2
Ф1.1, Ф2.1, Ф2.2, Ф3.3, Ф3.4, Ф3.5, Ф4.1
вне зависимости от этажности и высоты
КМ0
КМ1
КМ1
КМ2
Ф1
―
Для постоянного проживания и временного (в том числе круглосуточного) пребывания людей (помещения в этих зданиях, как правило, используются круглосуточно, контингент людей в них может иметь различный возраст и физическое состояние, для этих зданий характерно наличие спальных помещений)
Ф1.1
―
Детские дошкольные учреждения, специализированные дома престарелых и инвалидов (неквартирные), больницы, спальные корпуса школ‐интернатов и детских учреждений;
Ф1.2
―
Гостиницы, общежития, спальные корпуса санаториев и домов отдыха общего типа, кемпингов, мотелей и пансионатов;
Ф1.3
―
Многоквартирные жилые дома;
Ф1.4
―
Одноквартирные, в том числе блокированные жилые дома;
Ф2
―
Зрелищные и культурно‐просветительные учреждения (основные помещения в этих зданиях характерны массовым пребыванием посетителей в определенные периоды времени);
Ф2.1
―
Театры, кинотеатры, концертные залы, клубы, цирки, спортивные сооружения с трибунами, библиотеки и другие учреждения с расчетным числом посадочных мест для посетителей в закрытых помещениях;
Ф2.2
―
Музеи, выставки, танцевальные залы и другие подобные учреждения в закрытых помещениях;
Ф2.3
―
Учреждения, указанные в Ф2.1, на открытом воздухе;
Ф2.4
―
Учреждения, указанные в Ф2.2, на открытом воздухе;
Ф3
―
Предприятия по обслуживанию населения (помещения этих предприятий характерны большей численностью посетителей, чем обслуживающего персонала);
Ф3.1
―
Предприятия торговли;
Ф3.2
―
Предприятия общественного питания;
Ф3.3
―
Вокзалы;
Ф3.4
―
Поликлиники и амбулатории;
Ф3.5
―
Помещения для посетителей предприятий бытового и коммунального обслуживания (почт, сберегательных касс, транспортных агентств, юридических консультаций, нотариальных контор, прачечных, ателье по пошиву и ремонту обуви и одежды, химической чистки, парикмахерских и других подобных, в том числе ритуальных и культовых учреждений) с нерасчетным числом посадочных мест для посетителей;
Ф3.6
―
Физкультурно‐оздоровительные комплексы и спортивно‐тренировочные учреждения без трибун для зрителей, бытовые помещения, бани;
Ф4
―
Учебные заведения, научные и проектные организации, учреждения управления (помещения в этих зданиях используются в течение суток некоторое время, в них находится, как правило, постоянный, привыкший к местным условиям контингент людей определенного возраста и физического состояния);
Ф4.1
―
Школы, внешкольные учебные заведения, средние специальные учебные заведения, профессионально‐технические училища;
Ф4.2
―
Высшие учебные заведения, учреждения повышения квалификации;
Ф4.3
―
Учреждения органов управления, проектно‐конструкторские организации, информационные и редакционно‐издательские организации, научно‐ исследовательские организации, банки, конторы, офисы;
Ф4.4
―
Пожарные депо;
Ф5
―
Производственные и складские здания, сооружения и помещения (для помещений этого класса характерно наличие постоянного контингента работающих, в том числе круглосуточно):
Ф5.1
―
Производственные здания и сооружения, производственные и лабораторные помещения, мастерские;
Ф5.2
―
Складские здания и сооружения, стоянки для автомобилей без технического обслуживания и ремонта, книгохранилища, архивы, складские помещения;
Ф5.3
―
Сельскохозяйственные здания. Производственные и складские здания и помещения по взрывопожарной и пожарной опасности в зависимости от количества и пожаро‐взрывоопасных свойств находящихся (обращающихся) в них веществ и материалов с учетом особенностей технологических процессов размещаемых в них производств подразделяются на категории согласно НПБ 105.
Производственные и складские помещения, в том числе лаборатории и мастерские в зданиях классов Ф1, Ф2, Ф3 и Ф4, относятся к классу Ф5.
Много написано и хочется подвести итог. Требования очень жесткие и только немногие материалы способны пройти их по пожаробезопасности. Все что сделано из дерева, пластика — автоматически мимо, горит очень хорошо. Никогда вопросы не возникнут к керамограниту и только некоторые виды линолеума попадают под КМ2.
Группа горючести для алюминиевых композитных панелей

Какой облицовочный материал отличается высокой износостойкостью, способен прослужить полсотни лет, позволяет придать современный дизайн любому фасаду, быстро и легко монтируется, поддается ремонту и доступен по цене? Всеми этими качествами в полной мере обладают алюминиевые композитные панели (алюкобонд), которые используются не только для отделки фасадов, но и для интерьерных работ, создания временных конструкций, изготовления рекламы и т.д.
Актуальный вопрос, волнующий каждого покупателя, — это вопрос пожарной безопасности данного облицовочного материала.
Что такое группа горючести?
Пожарная безопасность любого материала проявляется в четырех составляющих:
По каждому из этих факторов выделяется несколько классов пожарной безопасности, и тот или иной материал можно отнести к определенному классу на основе проведенных испытаний.
Так, например, степень горючести, на основе которой выдается пожарный сертификат, определяется временем самостоятельного горения, степенью повреждения по длине и массе, а также температурой дымовых газов.
Испытания проводятся в специальной печи с источниками открытого пламени, в которую помещается образец материала.
В итоге его либо относят к негорючим (НГ), и тогда прочие параметры пожарной безопасности не определяются, либо присваивают ему определенный класс горючести:
- Г1 – слабогорючие материалы (температура дымовых газов не превышает 135 °C, уровень повреждения по массе – до 20%, уровень повреждения по длине – до 65%, самостоятельное горение не наблюдается);
- Г2 – умеренногорючие материалы (температура дыма – до 235 °C, повреждения по массе – до 50%, повреждения по длине – до 85%, время самостоятельного горения – до 30 секунд);
- Г3 – нормальногорючие материалы (температура дыма – до 450 °C, степень повреждений по массе – до 50%, степень повреждений по длине – свыше 85%, самостоятельное горение – до 300 секунд);
- Г4 – сильногорючие материалы (дым нагревается свыше 450 °C, повреждения по массе превышают 50%, повреждения по длине – больше 85%, самостоятельное горение продолжается свыше 300 секунд).
Какими параметрами характеризуются материалы класса НГ (негорючие)? Горение образца в печи не дало температурного прироста свыше 50 °C, потери массы не превысили 50%, а пламенное горение – 10 секунд. Если хотя бы одно из этих условий не соблюдается, материал (согласно ГОСТ 30244-94) относится к горючим.
Все горючие материалы подразделяются на следующие группы:
- по воспламеняемости: трудновоспламеняемые (В1), умеренновоспламеняемые (В2), легковоспламеняемые (В3);
- по поверхностному распространению пламени: нераспространяющие (РП1), слабораспространяющие (РП2), умереннораспространяющие (РП3), сильнораспространяющие (РП4);
- по дымообразованию: с малым дымообразованием (Д1), с умеренным дымообразованием (Д2), с сильным дымообразованием (Д3);
- по токсичности: малоопасные (Т1), умеренноопасные (Т2), высокоопасные (Т3), чрезвычайноопасные (Т4).
К какой же группе относится алюкобонд и какие необходимы документы для применения алюминиевых композитных панелей на фасаде?
Необходимые документы для применения алюкобонда на фасаде
Алюминиевые композитные панели представляют собой трехслойный материал, состоящий из сердечника и наружных листов облицовки из алюминиевого сплава, 0, 4/0,5 миллиметровой толщины.
Общая толщина алюкобонда: 2 – 6 мм (в зависимости от толщины пластиковой прослойки).
Сразу хотим сказать, что алюкобонда с классом горючести НГ не существует.
Самый лучшие показатели у алюминиевых композитных панелей с огнеупорной прослойкой – это Г1.
Совет
Если говорить о применении алюминиевых композитных панелях на фасаде, то в комплексе с фасадной системой (алюминиевой или оцинкованной) данная конструкция должна иметь класс пожарной опасности К0 (непожароопасный) – это определяется при огневых испытаниях. По конструктивной пожарной безопасности (определение пожарной безопасности строительных конструкций, ГОСТ 31251-2008), фасад с алюминиевыми композитными панелями, прошедший испытания, должен соответствовать классу К0 (непожароопасный).
Поскольку фасадные работы относятся к внешним (а не к внутренним), санитарно-эпидемиологическое заключение не требуется. Но оно необходимо при проведении внутренних отделочных работ с использованием алюкобонда (с формулировкой: «для внутренней отделки зданий общественного и жилого назначения»).
Еще один важный документ, разрешающий использовать алюминиевые композитные панели при строительстве на территории РФ – это техническое свидетельство, в котором, помимо пожарных характеристик приводятся физико-механические показатели: предел прочности при растяжении, разрушающее напряжение при изгибе, прочность связи между слоями, удлинение при разрыве и др.
Технический регламент о требованиях пожарной безопасности

Федеральный закон от 22 июля 2008 г. №123-Ф3
Выдержка из статьи 13. Классификация строительных, текстильных и кожевенных материалов по пожарной опасности.
Классификация строительных, текстильных и кожевенных материалов по пожарной опасности основывается на их свойствах и способности к образованию опасных факторов пожара.
Пожарная опасность строительных, текстильных и кожевенных материалов характеризуется следующими свойствами:
1) горючесть;
2) воспламеняемость;
3) способность распространения пламени по поверхности;
4) дымообразующая способность;
5) токсичность продуктов горения.
— По горючести строительные материалы подразделяются на горючие (Г) и негорючие (НГ).
Горючие строительные материалы подразделяются на следующие группы:
1) слабогорючие (Г1);
2) умеренногорючие (Г2);
3) нормальногорючие (ГЗ);
4) сильногорючие (Г4).
— По воспламеняемости горючие строительные материалы (в том числе напольные ковровые покрытия) подразделяются на следующие группы:
1) трудновоспламеняемые (В1);
2) умеренновоспламеняемые (В2);
3) легковоспламеняемые (ВЗ)
— По скорости распространения пламени по поверхности горючие строительные материалы (в том числе напольные ковровые покрытия) в зависимости от величины критической поверхностной плотности теплового потока подразделяются на следующие группы:
1) нераспространяющие (РП1) ;
2) слабораспространяющие (РП2);
3) умереннораспространяющие (РПЗ);
4) сильнораспространяющие (РП4)
— По дымообразующей способности горючие строительные материалы в зависимости от значения коэффициента дымообразования подразделяются на следующие группы:
1) с малой дымообразующей способностью (Д1) ;
2) с умеренной дымообразующей способностью (Д2);
3) с высокой дымообразующей способностью (ДЗ).
— По токсичности продуктов горения горючие строительные материалы подразделяются на следующие группы в соответствии приложения к настоящему Федеральному закону:
1) малоопасные (Т1);
2) умеренноопасные (Т2);
3) высокоопасные (ТЗ);;
4) чрезвычайно опасные (Т4).
В зависимости от групп пожарной опасности строительные материалы подразделяются на классы пожарной опасности (таблица 3).
Таблица №3. Классы пожарной опасности строительных материалов.
Свойства пожарной опасности строительных материалов
Класс пожарной опасности строительных материалов в зависимости от групп
КМО
КМ1
КМ2
КМЗ
КМ4
КМ5
Горючесть
НГ
Г1
Г1
Г2
Г2
Г4
Воспламеняемость
—
В1
В1
В2
В2
В3
Дымообразующая способность
—
Д1
Д3+
Д3
Д3
Д3
Токсичность продуктов горения
—
Т1
Т2
Т2
Т3
Т4
Распространение пламени по поверхности для покрытия полов
—
РП1
РП1
РП1
РП2
РП4
Примечание. Знак» +» обозначает, что допускается присваивать материалу класс КМ2 при коэффициенте дымообразования Д≤1000м²/кг.
Статья 32. Классификация зданий, сооружений, строений и пожарных отсеков по функциональной пожарной опасности.
1.
Здания (сооружения, строения, пожарные отсеки и части зданий, сооружений, строений — помещения или группы помещений, функционально связанные между собой) по классу функциональной пожарной опасности в зависимости от их назначения, а также от возраста, физического состояния и количества людей, находящихся в здании, сооружении, строении, возможности пребывания их в состоянии сна подразделяются на:
1) Ф1 здания, предназначенные для постоянного проживания и временного пребывания людей, в том числе:
- Ф1.1 здания детских дошкольных образовательных учреждений, специализированных домов престарелых и инвалидов (неквартирные), больницы, спальные корпуса образовательных учреждений интернатного типа и детских учреждений;
- Ф1.2 гостиницы, общежития, спальные корпуса санаториев и домов отдыха общего типа, кемпингов, мотелей и пансионатов;
- Ф1.3 многоквартирные жилые дома;
- Ф1.4 одноквартирные жилые дома, в том числе блокированные;
2) Ф2 здания зрелищных и культурно-просветительных учреждений, в том числе:
- Ф2.1 театры, кинотеатры, концертные залы, клубы, цирки, спортивные сооружения с трибунами, библиотеки и другие учреждения с расчетным числом посадочных мест для посетителей в закрытых помещениях;
- Ф2.2 музеи, выставки, танцевальные залы и другие подобные учреждения в закрытых помещениях;
- Ф2.3 здания учреждений, указанные в подпункте «а» настоящего пункта, на открытом воздухе;
- Ф2.4 здания учреждений, указанные в подпункте «б» настоящего пункта, на открытом воздухе;
3) Ф3 здания организаций по обслуживанию населения, в том числе:
- Ф3.1 здания организаций торговли;
- Ф3.2 здания организаций общественного питания;
- Ф3.3 вокзалы;
- Ф3.4 поликлиники и амбулатории;
- Ф3.5 помещения для посетителей организаций бытового и коммунального обслуживания с нерасчетным числом посадочных мест для посетителей;
- Ф3.6 физкультурно-оздоровительные комплексы и спортивно-тренировочные учреждения с помещениями без трибун для зрителей, бытовые помещения, бани;
4) Ф4 здания научных и образовательных учреждений, научных и проектных организаций, органов управления учреждений, в том числе:
- Ф4.1 здания общеобразовательных учреждений, образовательных учреждений дополнительного образования детей, образовательных учреждений начального профессионального и среднего профессионального образования;
- Ф4.2 здания образовательных учреждений высшего профессионального образования и дополнительного профессионального образования (повышения квалификации) специалистов;
- Ф4.3 здания органов управления учреждений, проектно-конструкторских организаций, информационных и редакционно-издательских организаций, научных организаций, банков, контор, офисов;
- Ф4.4 здания пожарных депо;
5) Ф5 здания производственного или складского назначения, в том числе:
- Ф5.1 производственные здания, сооружения, строения, производственные и лабораторные помещения, мастерские;
- Ф5.2 складские здания, сооружения, строения стоянки для автомобилей без технического обслуживания и ремонта, книгохранилища, архивы, складские помещения;
- • Ф5.3 здания сельскохозяйственного назначения.
группа огнезащиты, класс огнезащиты, классификация огнезащиты
24.01.2013, 9331 просмотр.
Воспламеняемость строительных материалов – таблица

В рамках обмена материалами с пользователями нашего сайта, публикуем таблицу воспламеняемости материалов, которая показывает, насколько способны к воспламенению те или иные материалы.
Эту табличку прислал нам Владимир Володин из Краснодара в ответ на мои комментарии в его теме на ФорумХаусе. Кому интересно, тот может почитать, как он строил каркасный дом.
А табличка эта интересна тем, что в ней указаны основные строительные материалы для примера и эта табличка хорошо иллюстрирует таблицу «Огнестойкость жилого дома». Там указаны степени огнестойкости, так они как раз хорошо коррелируют с используемыми при строительстве жилого дома материалами.
Воспламеняемость материалов таблица:
Итак, что мы видим.
Из наиболее используемых строительных материалов в категорию А (негорючие) попадают керамическая плитка, кирпич, камень и бетон, керамзит и штукатурка. Именно этими материалами должны быть облицованы стены котельной или должны быть из них изготовлены.
В категорию В (трудносгораемые) попадают ГКЛ и базальто-войлочные плиты. Это те самые плиты, что прошиты, а не склеены клеем.
В категорию С1 (плохосгораемые) попали дуб и бук. Хочется сказать, что горят эти две породы древесины отлично. Поджечь их может не так просто, как другие породы дерева, но горят дуб и бук просто превосходно. Это лучшие породы дерева при отоплении дома дровами, они выдают лучшие показатели по калорийности для дров, когда вы топите печь или твердотопливный котел.
Войлок да, действительно горит плоховато. Но это не значит, что им можно укутывать трубы или как-то изолировать им от огня. Войлок полезен только там, где необходимо кратковременно перекрыть доступ кислорода к открытому пламени и тем самым загасить его. Именно поэтому пожарная кошма изготавливается из толстого войлока.
К среднесгораемым материалам категории С2 относятся все виды древесины, которые обычно используются при строительных работах. Это ель и сосна, основа для производства пиломатериалов.
Обратите внимание
Из лиственницы в европейской части России строят редко, так как здесь это дерево получается довольно дорогим. При цене за хвойные породы до 6000 рублей за кубометр лиственница обойдется вам в 10-12 тысяч рублей за кубометр.
Любые деревянные конструкции, которые используются в вашем доме, должны быть защищены от котлов и печей, в которых используется горение и открытое пламя, а также от дымоходов – об этом явно указано в Нормах Пожарной Безопасности.
Лекгосгораемые или легковоспламеняемые материалы из категории С3, куда входят асфальт и битум, должны быть защищены даже от случайных искр. Потому так изолируют стальные дымоходы на кровлях из наплавляемых и битумных материалов, а также снабжают дымовые трубы искрогасителями.
И еще один момент – пенополистирол (ППС) или пенопласт относится к группе С3, то есть является легкосгораемым материалом. И никакие ухищрения производителей по пропитке его антипиренами не сделают из него материал категории С1 или В, чтобы ни было написано в рекламных проспектах.
Категории и классы по взрывопожарной и пожарной опасности

Категория помещенияХарактеристика веществ и материалов, находящихся (обращающихся) в помещении
А — повышенная взрывопожароопасность
Горючие газы, легковоспламеняющиеся жидкости с температурой вспышки не более 28 °C в таком количестве, что могут образовывать взрывоопасные парогазовоздушные смеси, при воспламенении которых развивается расчетное избыточное давление взрыва в помещении, превышающее 5 килопаскалей, и (или) вещества и материалы, способные взрываться и гореть при взаимодействии с водой, кислородом воздуха или друг с другом, в таком количестве, что расчетное избыточное давление взрыва в помещении превышает 5 кПа.
Б — взрывопожароопасность
Горючие пыли или волокна, легковоспламеняющиеся жидкости с температурой вспышки более 28 °C, горючие жидкости в таком количестве, что могут образовывать взрыво-опасные пылевоздушные или паровоздушные смеси, при воспламенении которых развивается расчетное избыточное давление взрыва в помещении, превышающее 5 кПа.
В1 — В4 — пожароопасность
Горючие и трудногорючие жидкости, твердые горючие и трудногорючие вещества и материалы (в том числе пыли и волокна), вещества и материалы, способные при взаимодействии с водой, кислородом воздуха или друг с другом только гореть, при условии, что помещения, в которых они находятся (обращаются), не относятся к категории А или Б.
Г — умеренная пожароопасность
Негорючие вещества и материалы в горячем, раскаленном или расплавленном состоянии, процесс обработки которых сопровождается выделением лучистого тепла, искр и пламени, и (или) горючие газы, жидкости и твердые вещества, которые сжигаются или утилизируются в качестве топлива.
Д — пониженная пожароопасность
Негорючие вещества и материалы в холодном состоянии.
Определение категории В1-В4 осуществляется по значению удельной пожарной нагрузки
Категория помещенияУдельная пожарная нагрузка g, МДж/м2
Удельная пожарная нагрузка определяется как соотношение общей пожарной нагрузки (произведения количества и низшей теплоты сгорания вещества) на площадь ее размещения. При наличии различных горючих веществ и материалов в помещении общая пожарная нагрузка определяется как сумма произведений количества и низшей теплоты сгорания каждого вида вещества.g = {Gi х Qi} / F , МДж/м2
B1
Более 2200
B2
1401 — 2200
B3
181 — 1400
B4
1 — 180
Категории зданий по взрывопожарной и пожарной опасности
КатегорияПри отсутствии автоматического пожаротушенияПри защите помещений автоматическими установками пожаротушения
А
площадь помещений категории А превышает 5% площади всех помещений или 200 м2
площадь помещений категории А превышает 25% площади всех помещений или более 1000 м2
Б
здание не относится к категории А и площадь помещений категорий А и Б превышает 5% площади всех помещений или 200 м2
площадь помещений категорий А и Б превышает 25% площади всех помещений или более 1000 м2
В
здание не относится к категории А или Б и площадь помещений категорий А, Б, B1, B2 и В3 превышает 5% всех помещений (10% при отсутствии помещений категорий А и Б)
суммарная площадь помещений категорий А, Б, В1, В2 и В3 в здании превышает 25% площади всех помещений или более 3500 м2
Г
здание не относится к категории А, Б и В и площадь помещений категорий А, Б, B1, B2, В3 и Г превышает 5% площади всех помещений
суммированная площадь помещений категорий А, Б, B1, B2, В3 и Г в здании превышает 25% площади всех помещений или более 5000 м2
Д
если оно не относится к категории А, Б, В или Г
Категории наружных установок по взрывопожарной и пожарной опасности
Категория наружной установкиХарактеристика веществ и материалов, находящихся (обращающихся) на установке
АН — повышенной взрывопожароопасности
хранятся, перерабатываются или транспортируются горючие газы, ЛВЖ с температурой вспышки не более 28 °С, вещества и материалы, способные гореть при взаимодействии с водой, кислородом воздуха или друг с другом (при условии, что величина пожарного риска при возможном сгорании указанных веществ с образованием волн давления превышает одну миллионную в год на расстоянии 30 метров от наружной установки)
БН — взрывопожароопасная
хранятся, перерабатываются или транспортируются горючие пыли или волокна, ЛВЖ с температурой вспышки более 28 °С, горючие жидкости (при условии, что величина пожарного риска при возможном сгорании пыле- и паровоздушных смесей с образованием волн давления превышает одну миллионную в год на расстоянии 30 метров от наружной установки)
ВН — пожароопасная
хранятся, перерабатываются или транспортируются горючие и трудногорючие жидкости, твердые горючие и трудногорючие вещества и материалы (в том числе пыли и волокна), вещества и материалы, способные при взаимодействии с водой, кислородом воздуха или друг с другом гореть, и если установки не относятся к категории АН или БН (при условии, что величина пожарного риска при возможном сгорании указанных веществ и материалов превышает одну миллионную в год на расстоянии 30 метров от наружной установки)
ГН — умеренной пожароопасности
хранятся, перерабатываются, транспортируются негорючие вещества и материалы в горячем, раскаленном или расплавленном состоянии, процесс обработки которых сопровождается выделением лучистого тепла, искр и пламени, а также горючие газы, жидкости и твердые вещества сжигаются или утилизируются в качестве топлива
ДН — пониженной пожароопасности
хранятся, перерабатываются, транспортируются в основном негорючие вещества и материалы в холодном состоянии и если по перечисленным выше критериям она не относится к категории АН, БН, ВН или ГН
Классификация взрывоопасных зон
Классификация взрывоопасных зон проводится по ГОСТ Р 51330.9-99 и Федеральному закону № 123-ФЗ от 22.07.2008 года «Технический регламент о требованиях пожарной безопасности».
ГОСТ Р 51330.9-99 является новым для российской практики и устанавливает отличающуюся от действующей в России классификацию взрывоопасных зон изложенных в «Правилах устройства электроустановок» (ПУЭ, глава 7.3).
Его появление вызвано необходимостью гармонизации класси-фикации взрывоопасных зон с требованиями международных стандартов МЭК путем установления единого подхода к выбору уровня взрывозащиты электрооборудования, применяемого во взрыво-опасных зонах различных классов.
Стандарт содержит методику количественной оценки влияния на устанавливаемый класс взрыво-опасной зоны различных факторов, характеризующих свойств и состояния взрывоопасных смесей, особенностей технологического оборудования, наличия вентиляции и т.д., предусматривает новую клас-сификацию взрывоопасных зон в зависимости от частоты и длительности присутствия взрывоопасной смеси (классы: 0, 1, 2, 20, 21, 22). Стандартом вводятся также новые термины:
источник утечки — элемент технологического оборудования, из которого горючий газ, пар или жид-кость могут высвободиться в атмосферу в объеме, достаточном для образования взрывоопасной смеси;
степень утечки — характеристика утечки, связанная с вероятностью образования взрывоопасной сме-си. В порядке убывания вероятности образования взрывоопасной смеси установлены три вида утечки:
— постоянная (непрерывная) утечка — утечка, существующая непрерывно или длительное время;
— утечка первой степени — утечка, появление которой носит периодический или случайный характер при нормальном режиме работы технологического оборудования;
— утечка второй степени — утечка, которая отсутствует при нормальном режиме работы технологического оборудования, а если она возникает, то кратковременно.
В стандарте приводятся примеры источников утечки и классификации взрывоопасных зон, а также оценка (расчет) уровня вентиляции.
Классы взрывоопасных зон
Класс зонХарактеристика зон
зоны, в которых взрывоопасная газовая смесь присутствует постоянно или хотя бы в течение одного часа
1 (В-I)
зоны, расположенные в помещениях, в которых при нормальном режиме работы оборудования выделяются горючие газы или пары легковоспламеняющихся жидкостей, образующие с воздухом взрывоопасные смеси
2 (В-Iа)
зоны, расположенные в помещениях, в которых при нормальном режиме работы оборудования взрывоопасные смеси горючих газов или паров легковоспламеняющихся жидкостей с воздухом не образуются, а возможны только в результате аварии или повреждения технологического оборудования
(В-Iб)
зоны, расположенные в помещениях, в которых при нормальной эксплуатации взрывоопасные смеси горючих газов или паров легковоспламеняющихся жидкостей с воздухом не образуются, а возможны только в результате аварий или неисправностей и которые отличаются одной из следующих особенностей:
(В-Iг)
пространства у наружных установок, содержащих ГГ или ЛВЖ (кроме аммиачных компрессорных установок), резервуаров с ЛВЖ или газгольдеров, эстакад для слива и налива ЛВЖ, открытых нефтеловушек, прудов-отстойников с нефтяной пленкой и т. п.Для наружных установок взрывоопасная зона класса В-Iг считается в пределах до:а) 0,5 м по горизонтали и вертикали от проемов за наружными ограждающими конструкциями помещений со взрывоопасными зонами классов В-I, В-Iа, В-II;б) 3 м по горизонтали и вертикали от закрытого технологического аппарата, содержащего горючие газы или легковоспламеняющиеся жидкости; от вытяжного вентилятора, уста-новленного снаружи и обслуживающего помещения со взрывоопасными зонами любого класса;в) 5 м по горизонтали и вертикали от устройств для выброса из предохранительных и дыхательных клапанов емкостей и аппаратов с ГГ или ЛВЖ, от устройств для выброса воздуха из систем вытяжной вентиляции помещений с взрывоопасными зонами;г) 8 м по горизонтали и вертикали от резервуаров с ЛВЖ или газгольдерами, а при наличии обвалования — в пределах всей площади обвалования;д) 20 м по горизонтали и вертикали от места открытого слива и налива для эстакад с открытым сливом и наливом ЛВЖ.
20
зоны, в которых взрывоопасные смеси горючей пыли с воздухом имеют нижний концен-трационный предел воспламенения менее 65 граммов на кубический метр и присутствуют постоянно
21 (В-II)
зоны, расположенные в помещениях, в которых при нормальном режиме работы оборудования выделяются переходящие во взвешенное состояние горючие пыли или волокна, способные образовывать с воздухом взрывоопасные смеси при концентрации 65 и менее граммов на кубический метр
22 (В-IIа)
зоны, расположенные в помещениях, в которых при нормальном режиме работы оборудования не образуются взрывоопасные смеси горючих пылей или волокон с воздухом при концентрации 65 и менее граммов на кубический метр, но возможно образование такой взрывоопасной смеси горючих пылей или волокон с воздухом только в результате аварии или повреждения оборудования
Примечание: в скобках указаны классы зон по Правилам устройства электроустановок (ПУЭ).
Классификация пожароопасных зон
П-I
зоны, расположенные в помещениях, в которых обращаются горючие жидкости с температурой вспышки выше 61°С
П-II
зоны, расположенные в помещениях, в которых выделяются горючие пыль или волокна с НКПВ более 65 г/м3 к объему воздуха
П-IIа
зоны в помещениях, в которых обращаются твердые горючие вещества в количестве, при котором удельная пожарная нагрузка составляет не менее 1 мегаджоуля на квадратный метр
П-III
расположенные вне помещения зоны, в которых обращаются горючие жидкости с температурой вспышки выше 61°С или твердые горючие вещества
Зоны в помещениях и наружных установках в пределах 5 м от аппарата, где обращаются горючие вещества, но технологический процесс ведется с применением открытого огня либо поверхности аппаратов нагреты до температуры самовоспламенения горючих паров, пылей или обеспечение пожарной безопасности волокон, не относятся к пожароопасным. Класс среды за пределами 5-метровой зоны определяется в зависимости от технологических процессов.
Вокруг единичного пожароопасного оборудования, когда специальные меры против распространения пожара не предусмотрены, зона в пределах 3 м является пожароопасной.
Зоны в помещениях вытяжных вентиляторов, а также в помещениях приточных вентиляторов, работающих с применением рециркуляции воздуха и обслуживающих помещения с пожароопасными зонами класса П-II, относятся также к пожароопасным зонам класса П-II.
Зоны в помещениях вентиляторов местных отсосов относятся к пожароопасным зонам класса обслуживаемой зоны, а для вентиляторов, установленных за наружными ограждающими конструкциями, электродвигатели выбираются как для пожароопасной зоны класса П-III.
P. S
Нам задавали много вопросов типа «Какая категория для котельной с такими-то котлами» и т. д. и т. п.
В общем какие именно котлы установлены не так важно — категории и классы выбираются для каждого конкретного случая, в зависимости от характеристик веществ и материалов, находящихся в помещении; от значения удельной пожарной нагрузки; от наличия или отсутствия автоматизированной системы пожаротушения и т. д. Обо всем этом написано выше.
Приведу пример для маленькой котельной. Она имеет категорию «Г».
Марки котлов добавлю позже — каталог на работе, а я в отпуске.
Группы горючести строительных материалов

Горючие материалы характеризуются температурой вспышки и способностью гореть в отсутствии кислорода воздуха. Все строительные материалы, к которым относятся и ЛКМ, классифицируются по горючести.
Строительные материалы подразделяются на негорючие (НГ) и горючие (Г).
Горючие строительные материалы по горючести подразделяются на четыре группы:
- Г1 (слабогорючие),
- Г2 (умеренногорючие),
- Г3 (нормальногорючие),
- Г4 (сильногорючие).
Горючие строительные материалы по воспламеняемости подразделяются на три группы:
- В1 (трудновоспламеняемые),
- В2 (умеренновоспламеняемые),
- В3 (легковоспламеняемые).
Горючие строительные материалы по распространению пламени по поверхности подразделяются на четыре группы:
- РП1 (нераспространяющие),
- РП2 (слабораспространяющие),
- РП3 (умереннораспространяющие),
- РП4 (сильнораспространяющие).
Горючие строительные материалы по дымообразующей способности подразделяются на три группы:
- Д1 (с малой дымообразующей способностью),
- Д2 (с умеренной дымообразующей способностью),
- Д3 (с высокой дымообразующей способностью).
Горючие строительные материалы по токсичности продуктов горения подразделяются на четыре группы:
- Т1 (малоопасные),
- Т2 (умеренноопасные),
- Т3 (высокоопасные),
- Т4 (чрезвычайно опасные).
Классы пожарной опасности строительных материалов
Свойства пожарной опасности строительных материалов
Класс пожарной опасности строительных материалов в зависимости от групп
КМ0
КМ1
КМ2
КМ3
КМ4
КМ5
Горючесть
НГ
Г1
Г1
Г2
Г2
Г4
Воспламеняемость
—
В1
В1
В2
В2
В3
Дымообразующая способность
—
Д1
Д3+
Д3
Д3
Д3
Токсичность продуктов горения
—
Т1
Т2
Т2
Т3
Т4
Распространение пламени по поверхности для покрытия полов
—
РП1
РП1
РП1
РП2
РП4
Компания «ПРОМСНАБ» предлагает краски класса КМ1 для путей эвакуации, огнезащитные краски для металла, конструктивную огнезащиту, противопожарную огнестойкую пену по заводским ценам с доставкой по всей России.
Категория пожарной опасности В3

(ПОЖАРООПАСНОСТЬ)
Категория пожарной опасности В3 характеризуется обращающимися (находящимися) веществами и материалами в помещении:
Горючие и трудногорючие жидкости, твердые горючие и трудногорючие вещества и материалы (в том числе пыли и волокна), вещества и материалы, способные при взаимодействии с водой, кислородом воздуха или друг с другом только гореть, при условии, что помещения, в которых они находятся (обращаются), не относятся к категории А или Б.
ЗАКАЗАТЬ РАСЧЕТ КАТЕГОРИЙ
Помещения категории В3 надлежит оборудовать системами автоматической противопожарной защиты, в соответствии с требованиями СП 5.13130.2009 «Системы противопожарной защиты. Установки пожарной сигнализации и пожаротушения автоматические. Нормы и правила проектирования»:
Системой автоматического пожаротушения надлежит оборудовать здания:
- складов категории В по пожарной опасности с хранением на стеллажах высотой 5,5 м и более — независимо от площади и этажности.
- складов категории В по пожарной опасности высотой два этажа и более — независимо от площади.
Системой автоматического пожаротушения надлежит оборудовать помещения:
- складского назначения категории В3 по пожарной опасности (кроме помещений, расположенных в зданиях и сооружениях по переработке и хранению зерна) при их размещении в цокольных и подвальных этажах — от 300 м2 и более.
- складского назначения категории В3 по пожарной опасности (кроме помещений, расположенных в зданиях и сооружениях по переработке и хранению зерна) при их размещении в надземных этажах — от 1000 м2 и более.
- производственного назначения категории В3 по пожарной опасности (кроме помещений, расположенных в зданиях и сооружениях по переработке и хранению зерна) при их размещении в цокольных и подвальных этажах (Не имеющие выходов непосредственно наружу) — от 300 м2 и более.
- производственного назначения категории В2 по пожарной опасности (кроме помещений, расположенных в зданиях и сооружениях по переработке и хранению зерна) при их размещении в цокольных и подвальных этажах (При наличии выходов непосредственно наружу) — от 700 м2 и более.
- производственного назначения категории В3 по пожарной опасности (кроме помещений, расположенных в зданиях и сооружениях по переработке и хранению зерна) при их размещении в надземных этажах — от 1000 м2 и более.
Системой автоматической пожарной сигнализацией надлежит оборудовать помещения:
- складского назначения категории В3 по пожарной опасности (кроме помещений, расположенных в зданиях и сооружениях по переработке и хранению зерна) при их размещении в цокольном и подвальном этажах — менее 300 м2.
- складского назначения категории В3 по пожарной опасности (кроме помещений, расположенных в зданиях и сооружениях по переработке и хранению зерна) при их размещении в надземных этажах — менее 1000 м2.
- производственного назначения категории В3 по пожарной опасности (кроме помещений, расположенных в зданиях и сооружениях по переработке и хранению зерна) при их размещении в цокольных и подвальных этажах (Не имеющие выходов непосредственно наружу) — менее 300 м2.
- производственного назначения категории В2 по пожарной опасности (кроме помещений, расположенных в зданиях и сооружениях по переработке и хранению зерна) при их размещении в цокольных и подвальных этажах (При наличии выходов непосредственно наружу) — менее 700 м2.
- производственного назначения категории В3 по пожарной опасности (кроме помещений, расположенных в зданиях и сооружениях по переработке и хранению зерна) при их размещении в надземных этажах — менее 1000 м2.
Здания и сооружения категории В надлежит оборудовать системами оповещения и управления людей о пожаре (СОУЭ), в соответствии с требованиями СП 3.13130.2009 » Системы противопожарной защиты. Система оповещения и управления эвакуацией людей при пожаре. Требования пожарной безопасности».
- СОУЭ 1-го типа надлежит оборудовать производственные и складские здания, стоянки для автомобилей, архивы, книгохранилища (категория здания В по пожарной опасности) при числе этажей не более одного. Допускается совмещать систему оповещения с селекторной связью.
- СОУЭ 2-го типа надлежит оборудовать производственные и складские здания, стоянки для автомобилей, архивы, книгохранилища (категория здания В по пожарной опасности) при числе этажей от 2 до 8.
ЗАТРУДНЯЕТЕСЬ ИЛИ ОСТАЛИСЬ ВОПРОСЫ?




















































