Н2 плюс Н3

Жаргонизм, используемый при проектировании пожарной безопасности зданий.
На сайте ВНИИПО МЧС России дано мнение специалистов этого института относительно применения указанного наименовании в отношении лестничных клеток типа Н2, выход в которые идет через тамбур-шлюз с подпором воздуха.
Учитывая, что МЧС России периодически «чистит» рубрики типа вопрос-ответ на своих сайтах, считаем необходимым привести это мнение здесь, со сслыкой на первоисточник.
Заданный ВНИИПО МЧС России вопрос:
Ответ ВНИИПО:
Использование словосочетания «незадымляемые лестничные клетки Н2+Н3» – по существу, типичный жаргонизм, не имеющий ничего общего с нормативно установленной классификацией, а по ряду признаков, противоречащий требованиям пожарной безопасности. В частности, согласно положениям Федерального закона от 22 июля 2008 г.
№ 123-ФЗ «Технический регламент о требованиях пожарной безопасности» пожарно-технической классификацией предусмотрены только три типа незадымляемых лестничных клеток: Н1, Н2 и Н3.
Причем, для лестничных клеток типа Н2 незадымляемость (или предотвращение распространения продуктов горения в их объемы при пожарах в зданиях) обеспечивается приточной противодымной вентиляцией посредством подачи наружного воздуха в эти объемы для создания в них избыточного давления относительно примыкающих на различных этажах помещений, коридоров, холлов. Поэтажные входы в незадымляемые лестничные клетки типа Н2 устроены через одинарные или параллельные дверные проемы (допускается устройство поэтажных входов через последовательно расположенные дверные проемы в тамбурах, предусматриваемых исключительно по условиям технологии эксплуатации, но не для дополнительной противопожарной защиты). В свою очередь, для лестничных клеток типа Н3 незадымляемость достигается посредством устройства на всех поэтажных входах тамбур-шлюзов, которые защищаются приточной противодымной вентиляцией, обеспечивающей подачу наружного воздуха в один из таких тамбур-шлюзов (при выходе с этажа, на котором возник пожар) с созданием в нём избыточного давления относительно примыкающих помещений, коридоров, холлов.
Обратите внимание
Таким образом, каждый из рассмотренных установленных типов незадымляемых лестничных клеток соответствует конкретному конструктивному исполнению отдельно взятой лестничной клетки во взаимосвязи с объемно-планировочными элементами здания.
Следовательно, используемое символическое сложение «Н2+Н3» явно бессмысленно: в нём физически совмещаются различные пространственные конструктивные элементы – две отдельные лестничные клетки различного исполнения (при этом согласно закономерностям алгебраического сложения получается казуистический несуществующий тип незадымляемых лестничных клеток – Н5).
Кроме отмеченной несуразности физического восприятия, подобное нововведение «незадымляемых лестничных клеток типа Н2+Н3» не позволяет полностью реализовать существующую нормативную базу во всех аспектах применения незадымляемых лестничных клеток в зданиях различного назначения.
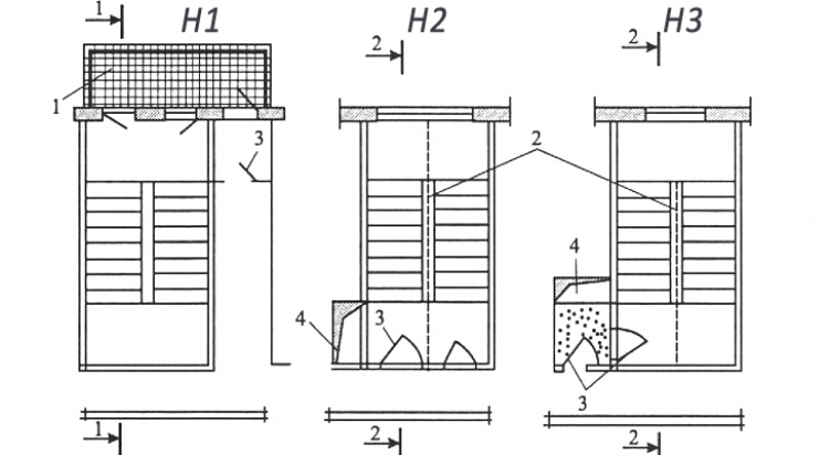
В этой связи, если даже исключить из рассмотрения невозможность физического воплощения данного «нововведения» и анализировать лишь принудительно обусловленное совмещение принципов обеспечения незадымляемости, характерных для обоих указанных типов лестничных клеток, то вне зависимости от особенностей проектного исполнения строительной части зданий возникает необходимость устройства на всех поэтажных входах незадымляемых лестничных клеток типа Н2 тамбур-шлюзов, защищаемых приточной противодымной вентиляцией (графическая интерпретация такого вывода дана на рис. 1 и 2).
| Рис. 1Схема устройства «незадымляемой лестничной клетки Н2+Н3» с внутренним выходом в вестибюль нижнего этажа надземной части здания, неразделенной на пожарные отсекилк – лестничная клетка; тш – поэтажные тамбур-шлюзы; в- вестибюль главного входа; 1, 2 – вентиляторы систем приточной противодымной вентиляции; 3 – противопожарные нормально закрытые клапаны | Рис. 2Схема устройства «незадымляемой лестничной клетки Н2+Н3» с выходами на этажи различных пожарных отсеков надземной части зданиялк – лестничная клетка; тш – поэтажные тамбур-шлюзы; 1, 2, 3 – вентиляторы систем приточной противодымной вентиляции; 4 – противопожарные нормально закрытые клапаны |
Вместе с тем, согласно действующим требованиям СП 7.13130 подобного применения тамбур-шлюзов на всех этажах не требуется.
Например, при устройстве внутреннего выхода из незадымляемой лестничной клетки типа Н2 в вестибюль нижнего этажа надземной части здания (без её разделения на пожарные отсеки) требуется нормативное отделение такого выхода от вестибюля тамбур-шлюзом, защищаемым приточной противодымной вентиляцией (рис. 3).
При этом на вышележащих этажах дополнительного устройства тамбур-шлюзов при выходах в лестничную клетку не требуется.
В случае же разделения строительной части здания на пожарные отсеки устройство тамбур-шлюзов, защищаемых приточной противодымной вентиляцией, необходимо на поэтажных выходах в незадымляемую лестничную клетку типа Н2 лишь на этажах нижних пожарных отсеков с сохранением обычных одинарных дверных проемов на этажах верхнего пожарного отсека (как это показано на рис. 4).
Таким образом, с учетом отмеченных особенностей проектного исполнения незадымляемых лестничных клеток необходимо безусловное исполнение действующих нормативных требований пожарной безопасности в соответствии с установленной пожарно-технической классификацией – без любых необоснованных, в том числе жаргонных «нововведений».
Классификация лестничных клеток по пожарной безопасности

Побывав в домах, возведенных по проектам различных строительных компаний, можно заметить, что лестничные клетки в них весьма похожи и обладают лишь незначительными отличиями. Причиной этого служат действующие нормы безопасности, введенные для максимального предотвращения жертв в случае возникновения пожаров.
Стандартизация этих элементов помогает гражданам быстро покинуть здание, а пожарным и спасательным командам существенно упрощает борьбу с огнем, поскольку конструкция им заранее известна.
Так какие же бывают разновидности лестничных клеток?
В зависимости от наличия или отсутствия изоляции выделяются обычные (Л) и незадымляемые конструкции (Н).
Тип Л1
Данный тип лестничной клетки предполагает его интеграцию с коридором, ведущим к квартирам и лифту. Освещение лестничных проходов такой конструкции происходит естественным образом через небольшие остекленные окна, либо через открытые проемы на стенах, выходящих на улицу.
Собственники жилья в таких домах должны проявлять ответственное отношение к безопасности и не перегораживать пути возможной эвакуации. Немаловажным требованием является запрет на размещение в лестничной клетке силовых кабелей, поскольку их неисправность может превратить средство обеспечения безопасного выхода граждан наружу в ловушку.
Существует ограничение использования такой конструкции: она может быть применена в зданиях, чья высота не превышает 28 метров (показатель определяется по линии пола последнего этажа). На практике речь идет о домах, состоящих не более чем из 10-ти этажей.
Тип Л2
Этот вариант конструкции, как и предыдущий, не изолирован от коридоров остальной части здания. Главным его отличием от типа Л1 служит освещение, которое осуществляется естественным способом через застекленные или открытые проемы в покрытии (верхнее освещение).
Тип лестничной клетки Л2 разрешен к использованию в зданиях, высота которых составляет не более 9-ти метров. Это связано с тем, что единственный источник света может быть перекрыт в результате задымления, что может дезориентировать граждан в ходе эвакуации.
Тип Н1
В зданиях, обладающих высотой более 28-ми метров, обязательно использование незадымляемых лестничных клеток. Такое требование связано с тем, что при использовании обычной конструкции для граждан, эвакуирующимся с верхних этажей, существовал бы высокий риск отравления угарными газами. Другим фактором являются ограниченные возможности пожарной и спасательной техники.
Тип Н1 наиболее часто встречается в высотных домах. Он предполагает отделение лестничной клетки от коридоров у квартир и лифтов при помощи открытого перехода, представляющего из себя лоджию или балкон. В случае пожара дым выходит на улицу через переход, не попадая на лестницу.
Тип Н2
Конструкция лестничной клетки Н2 отличается от предыдущего варианта тем, что проход в нее закрытый.
Изоляция от источника дыма обеспечивается средствами принудительной вентиляции. Она начинает работать после поступления сигнала от датчиков, фиксирующих наличие дыма и позволяет создать воздушный подпор. Чтобы не создавать опасную тягу воздуха от источника пожара, выход на лестницу отделяют герметичные двери.
Сама система вентиляции расположена внутри лестничной клетки.
В отдельный тип лестничной клетки выделяют конструкцию Н3. Однако она отличается лишь расположением системы подпора воздуха, которая находится внутри перехода.
Требования к незадымляемым лестничным клеткам
Вместе с нормами безопасности, определяющими конструкцию лестничной клетки, существуют и требования относящиеся к ее отдельным элементам. И это необходимо, поскольку каждый из них может повлиять на общую эффективность противопожарной защиты здания.
Противопожарные двери
Нормативные требования предусматривают наличие противопожарных преград. Одним из их элементов служат противопожарные двери, заполняющие проемы. Они должны обладать следующими свойствами:
- Металлическая наружная часть;
- Наполнитель из резистентных к огню веществ;
- Покрытие металла негорючими окрашивающими материалами.
Маркировка противопожарных дверей предполагает использование букв E, I вместе с числовым значением, где:
- Е характеризует утрату целостности двери, в следствие образования в ней дыр и трещин, через которые проникает пламя или дым;
- I обозначает утрату теплоизолирующей функции, при которой происходит температурное воздействие, разрушающее поверхность двери, не обращенную к пламени.
- Числовое значение определяет количество минут, по истечении которых наступят указанные выше изменения.
Размерность лестницы для эвакуации
Действующие стандарты определяют размеры многих элементов лестничной клетки:
- Ширину лестничного марша;
- Уклон лестниц и размер ступенек;
- Высоту ограждения;
- Ширину лестничной площадки.
Лестничный марш должен обладать шириной не менее, чем аналогичный параметр выхода (двери) на нее.
Отдельные требования установлены для зданий, использующихся в качестве детских дошкольных учреждений, больниц, учреждений для людей пожилого возраста и инвалидов, а также в случае их применения для размещения учащихся школ-интернатов на время сна. Необходимая ширина марша в этих случаях составляет 1350 мм. Это позволяет ускорить эвакуацию данных категорий граждан.
В случае, если в здании на этажах выше первого одновременно пребывает более 200-сот человек, ширина лестничного марша должна составлять 1200 мм. Такое решение также ускорит эвакуацию, минимизировав риски давки и паники.
Важно
Уклон лестницы должен иметь соотношение 1/1, а минимальная глубина проступи составлять 250 мм. Подступенник должен быть высотой не более 220 мм.
Лестницы необходимо оборудовать ограждением (перилами), минимальная высота которого составляет 1200 мм.
Лестничная площадка должна иметь ширину равную ширине лестничного марша. Это сделано для того, чтобы исключить эффект «бутылочного горлышка» и, вызванную им, панику.
Стены
Основным требованием к внутренним стенам незадымляемой лестничной клетки является отсутствие каких-либо проемов, кроме дверного.
В случае использования стен в качестве одного из элементов противопожарных преград, они, как и противопожарные двери, должны обладать огнеупорными свойствами. В этом случае к показателям E и I добавляется параметр R, характеризующий время сохранения несущих свойств при пожаре.
Нормы освещенности и световой проем
Наружные стены лестничной клетки должны обладать окнами с площадью остекления от 1,2 кв. м. Расстояние от лестничного проема до окна не может быть меньше 1,2 м. Это сделано для того, чтоб естественный свет попадал на лестничные марши.
Клетки типа Н1 оборудуются открывающимися окнами, при этом высота открывающего устройства не может превышать 1,7 м.
Ввиду наличия систем принудительной вентиляции, лестничные клетки Н2 снабжаются окнами, которые не открываются.
Внутренняя открытая лестница
Под внутренней открытой лестницей понимают переход между этажами, расположенный вне лестничной клетки. Если хотя бы с одной стороны отсутствует стена, то лестница подходит под это определение.
Зачастую такая конструкция носит декоративный характер и имеет ограниченное эвакуационное использование. Действующие нормы требуют наличия дублирующего выхода.
Двойная лестница
Такая конструкция основана на применении двух симметричных лестничных маршей, которые направлены к общей площадке. Данное решение получает все большую распространенность благодаря своим декоративным свойствам.
С точки зрения безопасности, конструкция должна обладать площадкой и последующим единым (при наличии) маршем, обеспечивающими минимизацию заторов во время эвакуации граждан.
Незадымляемые лестничные клетки (Н1, Н2, Н3) и пожарные эвакуационные лестницы

Домашний уют 6 июля 2016
Современный уровень развития научно-технического прогресса никак не влияет на существование факта, что пожар в течение тысячелетий был и остается одним наиболее опасных врагов человеческого жилища.
Несмотря на повсеместное введение правил, предписывающих использование для отделки интерьеров исключительно негорючих материалов, статистика остается неумолимой: жилье людей сегодня отнюдь не является неуязвимым.
Часто единственное, что остается в случае возникновения пожара жильцам, это спасаться бегством, то есть эвакуироваться. Самый безопасный путь эвакуации из многоэтажных домов — пожарные эвакуационные лестницы.
Опасность для людей при пожаре представляет не только огонь. Опасен также и дым. Но наиболее страшным невидимым врагом является – угарный газ.
Человек может не замечать его воздействия (в отличие от обычной гари, угарный газ не обладает ни запахом, ни цветом). Отравление угарным газом отличается стремительностью развития.
Через считанные минуты пострадавший может потерять сознание, после этого у него практически не остается шансов на спасение.
Поэтому в каждом доме обязательно как важнейшее условие спасения жильцов во время пожара оборудованы незадымляемые лестничные клетки. Какие бывают виды незадымляемых лестниц и лестничных клеток?
Лестница — неотъемлемый элемент зданий
Лестница является неотъемлемым элементом многоэтажных зданий. Различаются обычные конструкции, служащие для сообщения этажей, а также эвакуационные лестницы, т. е. незадымляемые.
Наличие последних является важнейшим условием, при котором обеспечивается эвакуация при пожаре людей. Для ряда зданий оно диктуется СНИПом, поэтому обязательно предусматриваются архитекторами при создании проекта сооружений.
Эвакуационные лестницы: назначение
Эвакуационные лестницы непременно должны присутствовать в высотных сооружениях. Подобные конструкции обеспечивают безопасность жильцов в ходе пожара или в случае других чрезвычайных ситуаций.
Обустройство эвакуационных лестниц в различных типах зданий подчинено определенным нормам относительно их размеров, конфигурации и размещения.
Независимо от типа модели, общее назначение данных конструкций – обеспечение безопасного выхода людей из здания в случае необходимости.
Совет
Жильцы дома, сотрудники и посетители учреждения, используя эвакуационные лестницы, могут покинуть помещение без опасности для жизни и здоровья. Эвакуационный выход предназначен для защиты их от огня и дыма. Очень важным является обеспечение свободного прохода к нему всех находящихся в здании.
Эвакуационные лестницы могут использоваться в качестве альтернативного выхода из помещения. Это актуально для сооружений, не оснащенных отдельным черным ходом. Правила пожарной безопасности запрещают эксплуатацию зданий выше трех этажей, не оборудованных эвакуационной лестницей.
Расположение
Отдельные требования предъявляются к месту расположения эвакуационных лестниц. Обычно их размещение проектируют в задней части общественных сооружений или с торца, если планируется выход открытого типа.
При предполагаемом обустройстве эвакуационного выхода внутри здания, для такой лестницы выделяется отдельное помещение или коридор. Это необходимо для того, чтобы при возникновении пожара обеспечить безопасность спускающихся людей и предотвратить блокирование часто единственного возможного выхода из дома.
Такое помещение должно быть оснащено огнестойкой дверью, которая способна минимум в течение 1 часа сдерживать пламя. При этом важно обеспечение герметизации стыков и быстрого отвода дыма.
Каждый этаж должен быть оборудован выходом на лестничную клетку. Ее ширина зависит от размера прохода и ступеней. Полузакрытые модели предусматривают расположение в пределах помещения площадки, дверь от которой ведет к наружной лестнице. Это является отличным вариантом для случаев, когда является невозможным полное изолирование прохода от дыма.
Для открытых наружных типов действует особое правило: расстояние от края лестницы до стены должно составлять от 100 см. Это сокращает риск проникновения огня на запасной выход и предотвращает нагревание конструкции, а также защитных поручней.
Материалы
Поскольку данная конструкция предназначена для применения в экстремальных ситуациях, в том числе при пожарах, определенными требованиями обусловлен выбор используемых для ее сооружения материалов. Главным условием является обеспечение прочности и огнеупорности лестницы. Поэтому наиболее популярными являются такие материалы, как бетон и металл.
Использование материалов, которые легко воспламеняются, крошатся или выделяют токсические вещества при нагревании, категорически запрещается.
Требования СНИП и ГОСТ
Стандартами ГОСТ и СНиП регулируются нормы, по которым устанавливаются все типы лестниц. Касаются они и эвакуационных моделей.
- Стандартным уклоном эвакуационной лестницы является такой, при котором соотношение величин длины и высоты пролета равно 2:1.
- Для 1 марша допустимо наличие 3-18 ступеней. Для 2-маршевых их количество не должно превышать 16 штук.
- Ширина проступи должна служить для обеспечения комфорта передвижения, оптимальный размер — 24-29 см.
- Высота ступени обычно 20-22 см.
- Ширина лестницы предусмотрена требованиями такая, при которой по ней могут одновременно пройти 2 человека. Наименьшим допустимым значением является — 1 м. Допускается сокращать габариты для наружных конструкций до 70 см.
- Площадка между маршами по размеру должна соответствовать ширине лестницы и выхода на неё.
- Для обеспечения безопасности эвакуации из здания при пожаре необходимо предусмотреть выход на лестницу, который ведет на открытое пространство или в отдельное помещение, защищенное от огня и задымления.
Классификация
Эвакуационные лестницы классифицируются по типу материала, расположению, а также по особенностям конструкции. Существует три основных типа современных эвакуационных лестниц, которые различаются такими характеристиками, как назначение, ширина и конфигурация:
- размещается на специальных незадымляемых лестничных клетках внутри здания;
- находится внутри здания, причем не огораживается стенами;
- располагается снаружи и является конструкцией запасного выхода.
Последняя используется исключительно для эвакуации, тогда как первые два вида лестниц иногда заменяют главный вход.
О допустимых видах конструкций
Для эвакуации используются также прямые марши, снабженные промежуточными площадками. В некоторых случаях, когда недостаточно места для их расположения, параллельно или с небольшим наклоном к стене устанавливаются вертикальные конструкции наподобие пожарных.
Категорически запрещаются
Правилами пожарной безопасности запрещено возводить лестницы:
- с забежными ступенями;
- с криволинейной и неправильной формой пролетов;
- винтовые;
- со ступенями неодинаковых размеров.
Что собой представляют незадымляемые лестничные клетки?
Наличие таких конструкций в доме призвано обеспечить максимальную безопасность жизни и здоровья людей при пожаре. Они представляют собой марши определенных размеров, которые должны располагаться в подходящих для них зонах строения.
Одно из главных требований, предъявляемых к эвакуационному выходу, — его изоляция от задымления. Незадымляемые лестничные клетки отличаются тем, что во время пожара в них не попадают ОФП (гарь, дым, и т. п.).
Наличием данных конструкций обеспечивается успешная эвакуация при пожаре людей в многоэтажных домах. Различные требования предъявляются к ним в зависимости от конкретного типа.
Типы
Незадымляемые лестничные клетки разделяются на несколько типов, классифицировать которые позволяют отличающие их определенные конструкционные особенности, место размещения, обеспечение к ним доступа и принципы функционирования. Типы лестничных клеток:
- Н1 считается базовой моделью. Характерными признаками конструкции является наличие доступа при помощи открытой площадки. Необходимо наличие незадымляемости подхода к эвакуационному выходу.
- H2 предусматривает наличие воздушного подпора при возникновении возгорания.
- Н3 является аналогом Н2, но предусматривает обеспечение выхода на марш посредством тамбура-шлюза. Обеспечивается также же дополнительный подпор воздухом, который подается как при возгорании, так и на постоянной основе.
Требования
Пожарная безопасность на лестничных клетках обеспечивается правилами, которые предусматривают обеспечение сохранности жизни человека:
- Во всех незадымляемых лестницах устанавливается аварийное освещение.
- Ширина дверного проема должна составлять от 1,2 м, а высота — от 1,9 м.
- Ширина выходов с лестничных маршей не должна быть уже ширины пролета.
- При установке незадымляемой клетки смежно с шахтой лифта, в стене для обеспечения свободного доступа воздуха устраивается вентиляционное отверстие (на уровне верхнего этажа).
- В проходах к незадымляемым лестничным клеткам запрещено размещение личных вещей. Лестничная площадка должна быть незагроможденной, так как хлам может стать помехой для эвакуации людей и работы пожарных.
- Запрещен самостоятельный монтаж непредусмотренных строительным проектом перегородок, а также прорубка проходов в имеющихся противопожарных переборках.
- Обязательно оборудование незадымляемых лестничных маршей поручнями из материалов негорючих и мало нагревающихся.
Незадымляемые лестницы Н1
«Строительные нормы и правила» гласят: в зданиях, высота которых более 30 м, должны быть устроены незадымляемые лестничные клетки типа Н1.
Этот вид требует установки лестниц, на которые можно проникнуть с площадки этажа, используя для продвижения пространство с открытым воздухом. Местом расположения Н1 может быть веранда, балкон или огражденная лестничная площадка, вынесенная за пределы помещения.
Это обусловлено необходимостью обеспечить природную изоляцию от задымленной части здания эвакуационного выхода. Оптимальный вариант размещения данного типа лестничной клетки является угловая часть здания. Наиболее выигрышное положение — внутренний угол, оснащенный дополнительными простенками.
Их конструктивной особенностью является отсутствие прямой связи с этажами здания.
Обычное размещение клеток Н1 — в углах зданий с наветренной стороны. Для них характерно наличие переходов балконного вида, а также ограждений при помощи защитных экранов. Переход выполняется в виде открытой галереи или лоджии, должна быть обеспечена ширина прохода от 1,2 м. Ширина между проходами, как и промежуток от простенка до окна, должен быть не менее 2 м.
Незадымляемые лестницы Н2
Лестничная клетка Н2 устраивается в здании, верхний этаж которого находится на высоте 28-50 м. В клетках Н2 создается воздушный подпор (принцип печной тяги).
Он бывает постоянным или же открывается в случае пожарной тревоги.
Возможна также установка автономного подпора с использованием воздушных электронасосов, обеспечивающих давление воздуха, которые должны быть оснащены источниками бесперебойного питания.
При проектировании вентиляции следует правильно рассчитать силу тяги (или подпора). Давление должно обеспечить возможность свободного открывания противопожарных дверей на лестницу. Давление на нижнем этаже должно составлять не менее 20 паскалей, на верхнем – не более 150 паскалей.
Тамбуры или шлюзы, через которые обеспечивается вход на лестничные клетки Н2, оборудованы противопожарными дверями. В незадымляемых клетках данной категории целесообразным является устройство вертикальных перегородок с промежутком в 7-8 этажей.
Незадымляемые лестницы Н3
Незадымляемая лестничная клетка Н3 также строится с использованием подпора воздуха. Их отличие заключается в устройстве специальных проходных помещений с самозакрывающимися дверями. Их размеры должны быть не менее 4 кв. м.
В клетках такого типа осуществляется подпор воздуха в пространство, занимаемое лестницей и в специальные шлюзы. Воздушная тяга осуществляется на постоянной основе или включается автоматически в случае возгорания или задымления.
Основные материалы
При создании эвакуационных незадымляемых проходов чаще всего применяется бетон. Он является безопасным в противопожарном отношении, прочным и удобным в эксплуатации материалом. Как дополнение к бетонной основе применяются стальные конструкции, например, при изготовлении ограждений или дверей. Металлические пролеты оправданы также в легких конструкциях сооружений.
Деревянные элементы применяются в малом объеме: деревянные поручни или ручки дверей, которые обязательно следует обрабатывать противопожарными составами.















































