Уклон пандуса: нормативы, как расчитать — М.Мягков

Первое на что стоит обратить внимание при установки пандуса — это его уклон.
Уклон является важнейшей характеристикой во время установки, если во время установки пандуса допустить ошибку либо уход от нормы — использование такого пандуса буден не безопасно для самого инвалида.
Нормативные акты, которые регламентируют угол наклона СП 59.13330.2012 «Доступность зданий и сооружений для маломобильных групп населения» — актуализированная версия СНиП 35-01-2001, документ введен в действие 01.01.2013..
В акте точно сказано, что нормативный угол наклона для пандусов и колясок должен быть 1:20 в процентном отношение это 5 процентов или примерно 2,86 градуса. Также допускаются некоторые расхождение так: До 1:12 т.
Обратите внимание
е 8% или 4,76 градуса — для возведение временных сооружений и объектов производственной инфраструктуры, обязательным условием возведение является горизонтальная площадка не менее 0,5 метров, в купе с соотношением одного марша пандуса не более 6 метров. до 1:10 т.
е 10% или 5,71 градуса — при минимальных перепадов высот менее 0,2 метра.
На данный вопрос существует точный и однозначный ответ. Формула: наклон пандуса = H / L. По данной формуле, где H = перепад высот, который необходимо оборудовать пандусом, а L — длина горизонтальной проекции наклонного участка пандуса.
Уклон пандуса для инвалидов. Пример расчетов для, к примеру, поставлена задача, рассчитать пандус для входа в здание. Высота крыльца = 0,4м. Необходимое соотношение 1:12, составляем пропорцию L=12*0.4 м = 4,8 м.
Вычисляем длину наклонной поверхности пандуса = корень квадратный из (4,82+ 0,42) = 4,8 м Пандус может быть устроен без горизонтальных площадок, так как длина его наклонных поверхностей менее 6 м.
Если говорить об единицах измерение, которое мы используем при работе, то накол чаще всего выражен в градусах, также в процентах, и в виде отношений высоты к длине.
Если говорить о единицах измерения, то наклон пандуса может быть выражен в градусах, процентах и в виде отношения высоты к длине.
В тех документах, которые были в начале статьи законодатель допустил разночтение, а именно, по стандартному углу наклона пандусов для инвалидов в документе СНиП 35-01-2001, указано, что возможен уклон 1:12 либо 8%, в то время как в другом документе СП 59.13330.2012 — он равен 1:20 (или 5%).
При возможных колизии с законом, учитывается СНиП 35-01-2001, так как данный документ является Распоряжением Правительства РФ от 21 июня 2010 г. № 1047-р.
Важно
Если у вас остались вопросы Мы всегда на них сможем ответит по телефону, который указан на сайте.
Предлагаем пандус для маломобильных групп по нормам СНиП и ГОСТ, оборудование для инвалидов и пандус для маломобильных групп от производителя, заказ и установка в Москве и по России. Обращайтесь
Угол наклона пандуса для инвалидных и детских колясок

Уклон пандуса — одна из важнейших его характеристик — если наклонные поверхности пандуса выполнены с уклоном, превышающим нормы — его использование небезопасно как для инвалидов, так и для родителей с детскими колясками. Величина допустимого уклона пандуса регламентируется СП 59.13330.2012 «Доступность зданий и сооружений для маломобильных групп населения» — актуализированная версия СНиП 35-01-2001, документ введен в действие 01.01.2013.
Нормативный угол наклона пандуса для колясок должен быть не более 1:20 (5% или 2,86 градусов) и длина одного марша пандуса не более 8 м. В ряде случаев допускается увеличение максимального уклона пандуса:
- до 1:12 (8% или 4,76 градуса) — для временных сооружений и объектов инфраструктуры, при условии, что перепад высот между горизонтальными площадками менее 0,5 м и длина одного марша пандуса не более 6,0 м;
- до 1:10 (10% или 5,71 градуса) — при перепаде высот полов менее 0,2 м.
Как рассчитать угол наклона пандуса?
Вычисляется уклон пандуса с помощью формулы: наклон пандуса = H / L, где: H — перепад высот, который необходимо оборудовать пандусом, а L — длина горизонтальной проекции наклонного участка пандуса (нажмите для увеличения).
Например, нам необходимо рассчитать пандус для входа в здание, высота крыльца составляет 0,4 м. В данном случае необходимо использовать соотношение 1:12, составляя простую пропорцию получаем L=12*0.
4 м = 4,8 м.
Вычисляем длину наклонной поверхности пандуса = корень квадратный из (4,82+ 0,42) = 4,8 м Пандус может быть устроен без горизонтальных площадок, так как длина его наклонных поверхностей менее 6 м.
Если говорить о единицах измерения, то наклон пандуса может быть выражен в градусах, процентах и в виде отношения высоты к длине:
| стандартный по СП 59.13330.2012 | 1:20 | 5% | 2,86 градуса |
| для временных сооружений | 1:12 | 8% | 4,76 градуса |
| при перепаде высот до 0,2 м | 1:10 | 10% | 5,71 градуса |
Уклон пандуса по СНиП 35-01-2001 и СП 59.13330.2012
В обозначенных выше документах есть разночтения по стандартной величине уклона пандусов, так в СНиП 35-01-2001 допустимый уклон пандуса составляет 1:12 (или 8%), в то время как по СП 59.13330.2012 — он равен 1:20 (или 5%).
Учитывая, что СНиП 35-01-2001 является национальным стандартом, утвержденным Распоряжением Правительства РФ от 21 июня 2010 г. № 1047-р, а также, если заказчиком не выдвигается требование спроектировать пандус по СП 59.13330.2012, предлагаем своим клиентам проектирование и изготовление пандусов по нормативам, обозначенным в СНиП 35-01-2001, т.е.:
- допустимый уклон пандуса — 1:12 (или 8%, или 4,76 градуса).
Расчет угла уклона пандуса: документы и нормативы

В связи с актуализацией проблем инвалидов важнейшими принципами при возведении зданий жилого и социального фонда, производственных конструкций на сегодняшний день считаются следующие:
Все строительные правила регламентируются нормативно-правовым актом «СП 59.13330.2012. Доступность зданий и сооружений для маломобильных групп населения», который является действующей редакцией СНиП 35-01-2001.
Совет
Оба названных документа могут служить отправной точкой при проектировании объектов с учетом безопасной эксплуатации их людьми, относящимися к категории «маломобильные группы населения». Некоторые положения данных правил различаются строительными нормами.
Первый из документов написан с учетом стандартов международного уровня, на основе соответствующих положений Конвенции ООН, регламентирующей права инвалидов. Второй – федеральный стандарт, утвержденный Распоряжением Правительства РФ от 22.06.2010 года № 1047-Р.
Как произвести расчеты при установке пандуса
В названных нормативных актах прописаны основные нормы проектирования и строительства пандусов, в частности указан их важнейший показатель – угол наклона. Эта величина просчитана с учетом всех норм безопасного использования пандусов при передвижении инвалидов-колясочников и колясок с детьми.
Существует специальная формула, по которой нетрудно рассчитать угол наклона пандуса:
Н/L – отношение разности высот поверхностей, которые требуется соединить пандусом, к длине горизонтальной проекции наклонной части пандуса. Это отношение не должно превышать норм, указанных в выше названных актах. В акте «СП 59.13330.2012. Доступность зданий и сооружений для маломобильных групп населения» прописаны следующие нормативы.
- Максимальным углом наклона пандуса является угол соответствующий отношению 1/20. Это отношение, выраженное в градусах, составит 2,86°. Другой единицей измерения углов наклона пандуса, часто используемой при расчетах, являются проценты. В этом случае получается 1/20=2,86°= 5%. При этом один марш пандуса не должен превышать 8 м.
В документе отображены моменты, когда допускается отступления от данной нормы.
- На объектах временного характера при разнице высот между горизонтальными плоскостями не более 0,5 м, и длине одного марша пандуса не превышающей 6 м угол наклона составит 1/12=4,86°=8%.
- Если разность уровней между горизонтальными площадками не превышает 0,2 м, угол наклона пандуса можно делать 1/10=5,71°=10%.
В СНиП 35-01-2001нормативные показатели отличаются от вышеописанных. Максимально допустимый угол наклона пандуса равен 1/12=4,86°=8%.
Обустройство пандусов при возведении, ремонте, реконструкции изношенных конструкций и зданий различного назначения может выполняться с учетом любого из этих нормативных актов.
Создание инфраструктуры без преград для людей, относящихся к категории «маломобильные группы населения» – это, то чем мы занимаемся профессионально. Мы предлагаем свои услуги всем заинтересованным лицам и организациям.
Мы выполняем установку пандуса с учетом всех требований, норм безопасности, пожеланий заказчика.
Пандус в многоквартирном доме. Требования к устройству, размерам и монтажу пандусов

В советское время пандусы у подъездов не строили: права, комфорт и безопасность инвалидов, молодых мам и детей в колясках никак не пересекались с архитектурной мыслью. Но вот уже несколько лет мы наблюдаем массовое строительство и монтаж пандусов везде, где это только возможно
Иногда это выглядит курьезно, иногда – издевательски, но чаще всего пандусы все же сделаны почти правильно. И вот это «почти» может доставить массу неприятностей тем, для кого пандусы предназначены, то есть самым уязвимым и маломобильным людям. О том, какими должны быть правильные пандусы какими законами регулируется их строительство, мы расскажем в этой статье.
Зачем нужны пандусы
Многие ваши соседи по подъезду имеют сложности с подъемом по ступенькам. Разумеется, в их числе люди, вынужденно передвигающиеся на коляске, с ходунками или с тростью.
Молодые мамы, ежедневно гуляющие с младенцами, дополняют эту группу. Дети постарше пользуются пандусами, чтобы вывести самокат или велосипед, а отделочникам и доставщикам мебели, пандусы помогают заносить тяжелые грузы.
И это только самые очевидные потребности.
Если совсем просто, то пандусы нужны, чтобы сделать комфортней жизнь всего населения многоквартирного дома. Это не прихоть жильцов или управляющей компании — требования к наличию и обустройству пандусов давно закреплены законодательно.
Общие требования к пандусам
Ниже в виде тезисов приведены основные требования к пандусам. Хотелось бы напомнить, что законодательство обновляется, поэтому перед монтажом пандуса стоит проконсультироваться с подрядчиком и убедиться в его компетентности.
Итак, в настоящий момент, пандусы должны соответствовать следующим параметрам:
Виды пандусов
Существует много разновидностей пандусов. Отличаются они по конструкции, материалам, назначению и другим параметрам. Вот несколько основных типов пандусов:
- Стационарные неразборные пандусы — это конструкции из металла или бетона, установленные перед входом в здание и не имеющие возможности сборки-разборки
- Откидные пандусы — зафиксированы стационарно, но могут быть откинуты и убраны к стене. Используются, как правило, в подъездах
- Съемные пандусы — легкие, компактные переносные пандусы. Могут быть телескопическими, рамповыми, рулонными
Угол наклона пандуса
- Угол наклона для движения инвалидных колясок не должен быть больше 5%
- Перепад высот двух плоскостей (крыльцо-тротуар или тротуар-пешеходный переход) не должен превышать 4 см. Если больше – необходим пандус
- Один марш (наклонная плоскость) не должен превышать 80 см в высоту и иметь угол наклона свыше 8% (или 5% в Своде правил).
- При перепаде высот не больше 20 см допускается угол наклона до 10%
- Поперечный уклон не более 2%
- пандусы временных сооружений и общественных зданий могут иметь угол до 8%, если перепад высот не более 50 см, а длина спуска не более 6 метров
- Максимально допустимый уклон — 18%, но только если нет возможности сделать уклон меньше
Размеры пандусов
- Ширина пандуса при одностороннем движении должна быть не менее 1 метра (рекомендовано 1,5 м)
- Длина марша не должна быть больше 9 метров, общая длина маршей (всего подъема) не более 36 метров
- максимальная длина марша при уклоне, превышающем 10% – 7 метров
- Высота пандуса не более 3 метров (длина подъема 36 метров)
- Если предполагаемая высота пандуса превышает 3 метра, следует устанавливать подъемник
Конструкция пандусов
- Пандусы должны быть изготовлены из негорючих материалов
- Пандусы должны быть прямыми, винтовые конструкции допускаются в исключительных случаях
- Перед наклонными плоскостями горизонтальную поверхность окрашивают контрастной краской и делают рифлеными (не менее 60 см от начала спуска)
- Все наклонные спуски оборудуют бортиками высотой до 5 см (во избежание соскальзывания колес) или ограждениями
- Каждый подъем должен завершаться горизонтальной площадкой не менее 150х150 см
- Если предполагается высокая загрузка, то площадка должна быть 210х210 см
- Горизонтальные площадки на винтовых пандусах не должна быть меньше 2х2 метров
- Длина прямого подъема до горизонтальной площадки – до 9 метров
- Пандус в подъезде жилого дома не должен начинаться сразу от входной двери квартиры, необходима горизонтальная площадка
- Поверхности пандусов должны быть нескользящими
- Начало и конец наклонных плоскостей маркируют текстурой или ярким цветом
- Там, где меняется угол наклона, необходимо освещение яркостью не менее 100 лк
Поручни и ограждения пандусов
- Пандусы для инвалидов, передвигающихся на колясках, при высоте больше 15 см и длины проекции марша более 180 см должны иметь поручни
- Пандусы для инвалидов должны быть оборудованы ограждениями высотой 70 и 85-92 см
- Расстояние между поручнями 90-100 см
- На промежуточных площадках и съездах должны быть смонтированы колесоотбойные устройства высотой 10 см
- Толщина поручней 4-6 см, форма округлая
- Обязательны безопасные завершения поручней
- При креплении к стене расстояние от поручня до гладкой стены – 4-5 см, до шероховатой – 6 см
- На верхних или внешних поверхностях на концах перил должны быть рельефные знаки, означающие их окончание
Кнопки вызова
Там, где нет возможности смонтировать стационарный пандус, используют складные конструкции. Чаще всего это делают в подъездах, где ограничено пространство, а также в общественных местах. Такие пандусы следует оборудовать кнопкой вызова сотрудника, который разберет пандус и поможет попасть в помещение. К кнопкам вызова возле пандусов также предъявляются требования:
- Высота размещения – 85-100 см
- Расстояние от выступающих элементов крыльца и лестниц не менее 40 см
- Обязательная маркировка специальным знаком
- Наличие антивандального кожуха
- Видимость вызывающего из здания
Исключения
Если по объективным причинам в жилом доме или общественном месте невозможно установить полноценный пандус, допускается отклонение от нормативов, с обязательным соблюдением следующих условий:
- Ширина пандуса не менее 85-90 см
- Обязательное наличие ограждений и поручней
- Поручни прикрепляют с внутренней стороны марша. Не допускается их прерываний на участках подъема
Нормативная база, регламентирующая обустройство пандусов
Конвенция ООН по правам инвалидов — ратифицирована Россией в 2012 году. Гарантирует инвалидам беспрепятственный и равный доступ к инфраструктуре, транспорту и жилью.
Конституция Российской Федерации — гарантирует социальную защиту и достойные условия жизни малозащищенным слоям населения.
Федеральный закон №181-ФЗ «О социальной защите инвалидов» — гарантирует право людей с ограниченными возможностями на свободное посещение общественных мест. Дополнен в 2016 году положениями о создании комфортной среды для инвалидов, в том числе обустройство объектов недвижимости пандусами и перилами.
Постановление Правительства РФ от 09.07.2016 N 649 «О мерах по приспособлению жилых помещений и общего имущества в многоквартирном доме с учетом потребностей инвалидов» — содержит требования к доступности жилых помещений и общего имущества МКД для жильцов-инвалидов.
Программа «Доступная среда» 2009 г. — предполагает обеспечение к 2020 году безбарьерной среды ко всей городской инфраструктуре. Работает на уровне регионов, требует строительство пандусов, конструктивно соответствующих специально разработанным нормативам по размерам, уклону, покрытию, освещению и т.д.
ГОСТ Р 51261-99 «Устройства опорные стационарные реабилитационные» 1999 г. — описывает требования к поручням, стойкам, ручкам опоры в общественных местах (в том числе и к поручням, дополняющим пандусы).
СНиП 35-01-2001 «Доступность зданий и сооружений для маломобильных групп населения» — в числе прочих сведений содержит подробную информацию по видам, внешнему виду, размерам, уклону и оборудованию пандусов.
СП 59.13330.2012 Свод правил «Доступность зданий и сооружений для маломобильных групп населения» — дополненная версия названного выше СНиПа (не отменяющая его правомочности). Подробно описывает нормативы строительства пандусов перед подъездами, на пешеходных переходах, их маркировку текстурой и цветом и т.д.
Мы обозначили лишь основные документы и требования, но это не исчерпывающий список. В каждом регионе имеются свои документы, регламентирующие монтаж и обустройство пандусов, разработанные с учетом региональной специфики.
Если в вашем доме нужно установить пандус или появились вопросы об их конструкции и монтаже, звоните по телефону:
+7 (343) 268-30-61
Памятка. Шпаргалка для архитектора

Законодательство
СНиП 35-01-2001 Доступность зданий и сооружений для маломобильных групп населения», Госстрой России, М., 2001 год. К нему разработаны следующие своды правил:
СП 35-101-2001 «Проектирование зданий и сооружений с учетом доступности для маломобильных групп населения. Общие положения»; СП 35-102-2001 «Жилая среда с планировочными элементами, доступными инвалидам»; СП 35-103-2001 «Общественные здания и сооружения, доступные
маломобильным посетителям»; СП 35-104-2001 «Здания и помещения с местами труда для инвалидов».
Обратите внимание
Изменение № 3 СНИП 2.08.02-89* «Общественные здания и сооружения» (введён в действие с 1 марта 1999 года).
Справочные данные
Параметры инвалидной коляски: ширина — 0,7 м, длина — 1,2 м.
Зона для размещения коляски, не менее: ширина — 0,9 м, длина — 1,5 м.
Благоустройство прилегающей территории
Пересечение пешеходных дорожек выполняется в одном уровне.
На всём протяжении пешеходного пути имеющиеся перепады, выполненные в виде лестниц, должны быть продублированы пандусами. Лестницы и пандусы ограждаются перилами.
Уклоны пешеходных дорожек и тротуаров не должны превышать: продольный — 5%, поперечный — 1-2%. Опасные для инвалида участки следует огораживать бортовым камнем высотой не менее 5 см.
В исключительных случаях — продольный уклон от 5 до 10% на протяжении не более 10 метров.
В местах пересечения пешеходных путей с проезжей частью улиц и дорог высота бортового камня тротуара не должна превышать 4 см. Ширина пониженного бордюра — не менее 0,9 м, он окрашивается контрастной жёлтой краской.
Съезды с тротуаров должны иметь уклон не более 1:10. Не допускается применение скошенного бортового камня и съездов, сужающих ширину проезжей части.
Для предупреждения людей с потерей зрения о приближении к пешеходному переходу, следует непосредственно перед ним изменить фактуру покрытия тротуара.
Толщина швов между бетонными плитами — не более 1,5 см. Рёбра решёток — перпендикулярно направлению движения и на расстоянии друг от друга не более 1,3 см.
Важно
На каждой стоянке (парковке) выделяется не менее одного места для парковки специальных автотранспортных средств инвалидов (одно место — при общем числе мест — до 25, два места — от 26 до 50 и т.д.), максимально приближенного ко входу в здание или к съезду на стоянку.
Возле специализированных учреждений — от 10 до 20% от машино-мест. Ширина этого места — 3,5 метра. Оно выделяется разметкой (жёлтого цвета) и обозначается специальными символами (на асфальте рисуется пиктограмма «Инвалид»).
Возле этого места оборудуется съезд (пандус схода) инвалида на коляске с тротуара на парковку путём понижения бордюра.
Пути движения
Диаметр зоны для самостоятельного разворота на 90-180° инвалида на кресле-коляске следует принимать не менее 1,4 м (как исключение 0,9х1,2 м).
Глубина пространства для маневрирования кресла-коляски перед дверью при открывании «от себя» должна быть не менее 1,2 м, а при открывании «к себе» — не менее 1,5 м при ширине не менее 1,5 м.
Глубина тамбуров и тамбур-шлюзов должна быть не менее 1,8 м, а в жилых зданиях — не менее 1,5 м при ширине не менее 2,2 м.
Следует предусматривать бортики высотой не менее 0,05 м вдоль кромки горизонтальных поверхностей при перепаде высот более 0,45 м для предотвращения соскальзывания трости или ноги.
Двери
Необходимо обеспечить хотя бы один вход для маломобильных посетителей. Ширина хотя бы одного из дверных полотен должна быть не менее 900 мм. Как правило — двери не симметричные, а полуторные.
Совет
Отсутствие порогов и перепадов (крайнем случае — не более 2,5 см). Стекло в дверном полотне на высоте 0,3 м защищается противоударной полосой. На путях движения инвалидов не допускается применение дверей на качающихся петлях и дверей-вертушек.
Дверь должна открываться в сторону, противоположную от пандуса.
Лестница
Марш лестницы должен иметь не менее 3 ступенек.
Ступени- глухие, ровные, с нескользящей поверхностью, одинаковой геометрии и размеров: наружные 120х400 мм, внутренние — 150х300 мм.
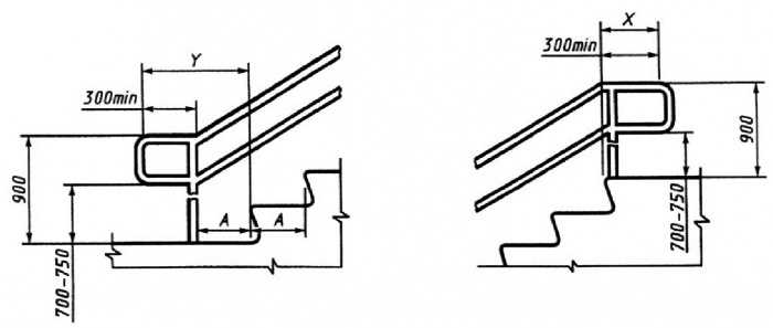
Вдоль обеих сторон всех лестниц устанавливаются ограждения с поручнями на высоте 0,9 и 0,7 м. Для детей дошкольного возраста поручни устанавливаются на высоте 0,5 м. При ширине лестниц более 2,5 м следует предусматривать дополнительные разделительные поручни.
По не примыкающим к стенам боковым краям лестницы ступени должны иметь бортики высотой не менее 2 см
Поручни
Поручни должны начинаться на 30 см раньше первой ступеньки лестницы или начала пандуса и продолжаться на 30 см дальше марша лестницы или верхнего края пандуса.
Диаметр поручня — от 3 до 5 см (рекомендуемый — 4 см) или прямоугольного сечения толщиной от 2,5 до 4 см. Поручень перил с внутренней стороны лестницы должен быть непрерывным по всей длине.
Концы поручней должны отгибаться вниз, а при парном их расположении — соединяться между собой.
Пандус
Уклон пандуса допускается от 5 до 8%. При перепаде высот 0,2 м и менее допускается 10%. Максимальная высота одного пандуса не должна превышать 0,8 метра при уклоне 8% (т.е. длина не более 10 метров). При большей длине выполняется промежуточная площадка.
Общественная организация инвалидов-колясочников «Свободное движение» рекомендует в исключительных случаях (при реконструкции существующих зданий) ориентироваться на максимально допустимый уклон пандуса 15-18%. При отсутствии места для пандуса в социально-значимых объектах (магазинах, жилых домах и т.п.
) допустима сплошная заливка в виде пандуса части лестницы (уклон -33%), высота которой не превышает 3 ступеней. Если высота лестницы превышает 24 -36 см (2-3 ступеньки), желательно в середине заливаемого на ступеньках пандуса сохранить ступеньки на ширину 28-30 см для предотвращения соскальзывания помощника.
Расстояние между ограждающими поручнями или бортиками крутого пандуса не должно превышать 85-90 см.
Обратите внимание
Ширина пандуса при одностороннем движении — не менее 1 м, при двустороннем — не менее 1,8 м. Площадка для поворота пандуса должна иметь глубину на горизонтальном участке не менее 1,5 метра.
В начале и в конце подъёма пандуса следует устраивать горизонтальные площадки длиной не менее 1,4-1,5 м. По внешним боковым краям пандуса следует предусматривать бортики высотой не менее 5 см. По обеим сторонам пандуса предусматриваются ограждения с поручнями.
Поручни перил у пандусов следует располагать на высоте 0,7 и 0,9 м и выполнять их непрерывными по всей длине.
Установка на ступеньках крыльца направляющих швеллеров бессмысленна и неудобна.
Кнопка вызова (в нормативах она не предусмотрена)
Кнопка вызова в Екатеринбурге выполняется в случае невозможности оборудования пандуса. Располагается на высоте от 0,85 до 1 м от уровня земли и на расстоянии не менее 0,4 м от выступающих частей (например, первой ступеньки лестницы).
Кнопку желательно выполнить в антивандальном исполнении (утопить в стене и т.д.), защитить от осадков. Предусмотреть возможность подъезда на коляске к кнопке вызова. Обозначить пиктограммой «Инвалид».
Звонок установить негромкий, мелодичный, лучше — с регулируемым уровнем громкости.
Уборные
В уборных для посетителей необходимо предусматривать не менее одной специализированной кабины: ширина — не менее 1,65, глубина — н.м. 1,8 м. В кабине рядом с одной из сторон унитаза предусмотреть место для размещения коляски. Двери должны открываться наружу.
Если уборная состоит только из одной кабины, то она выполняется по размерам специализированной. При отсутствии уборных для посетителей специализированные туалетные комнаты следует предусматривать при расчётной численности посетителей более 50 человек или при нахождении посетителя в здании более 1 часа.
Важно
Одна из раковин умывальной устанавливается на высоте не более 0,8 м от уровня пола.
Прочие требования
Ширина проходов в магазинах и т.д. — не менее 0,9 м (особенно возле хотя бы одной из касс, если система самообслуживания).
Габариты кабины лифта в чистоте не менее, м: ширина -1,1; глубина — 1,5; ширина дверного проёма — 0,9 (0,85) м. Глубина пространства перед входом в лифт — н.м. 1,4 м, ширина — на 0,25 м шире двери лифта с каждой стороны.
Ширина балконов и лоджий (в санаториях, гостиницах и т.д) — не менее 1,4-1,5 м в свету.
Информация подготовлена Леонтьевой Еленой Геннадьевной – председателем Екатеринбургской городской общественной организации инвалидов-колясочников «Свободное движение».
Создан: 28.02.2001.
© 2001- aupam.ru | При использовании материалов сайта ссылка обязательна.
Пандусы. Свод Правил 59.13330.2012. Актуализированная редакция СНиП 35-01-2001

Пандус — это наклонная под небольшим углом площадка, соединяющая две, разные по высоте, горизонтальные плоскости, расположенные на разной высоте по отношению друг к другу. Такая конструкция устанавливается с целью беспрепятственного перемещения инвалидных колясок или детских колясок с одного уровня на другой.
Пандусы — универсальное средство для маломобильных групп населения (МГН) при преодолении лестницы, порога и других труднодоступных мест.
Устанавливаются на улице в общественных местах и подъездах.
Основные типы пандусов:
Откидные
Это несъёмная конструкция, но всегда есть возможность его сложить, если нет необходимости в использовании.
Съёмные
- Телескопические раздвижные устройства, применяются для подъёма и спуска колясок в подъездах жилых домов. Эти приспособления универсальны, подходят для любых лестничных площадок там где установка стационарного пандуса затруднительна.
- Пандусы для преодоления порогов, такие пандусы имеют компактные размеры.
- Ролл-пандусы, по принципу работы похожи на телескопические раздвижные. Главное отличие — способ складывания.
Стационарные
Такие пандусы — несъёмные и расчитаны на длительное использование.Эти устройства устанавливаются внутри зданий, в основном в подъездах, для беспрепядственного входа и выхода.
Стационарные приспособления разрабатывается по Гост, а их конструкция должна учитывать окружающие условия и особенности места эксплуатации. Основные материалы для таких пандусов — это металл и бетон.
Стандартные размеры пандусов
Пандусы разрабатываются согласно Своду Правил СП 59.13330.2012 Доступность зданий и сооружений для маломобильных групп населения. Актуализированная редакция СНиП 35-01-2001 (с Изменением N 1)
Совет
Угол наклона
Главное в любом пандусе — это угол его наклона к поверхности, или градус уклона. Он измеряется в процентном отношении и имеет следующие требования:
- Угол уклона к поверхности должен составлять 5%, или 2,9°. кроме того, высота подъёма должна равняться 80 см.
- Угол уклона может быть увеличен до 10%, или или 5,7°, если пол в помещении, где устанавливается пандус, неровный и имеет перепады высот до 20 см.
- При установке пандуса кратковременного использования и при вертикальном подъёме приспособления не более 50 см и длины не более 60 см, угол уклона может быть увеличен с 5 до 8%. или 4,8°.
Физические размеры пандуса
Важной характеристикой любого пандуса является его размер, который соблюдается в соответствии с установленными правилами.
- Перед установкой пандуса необходимо соорудить специальные площадки до спуска и после спуска. Её размер должен превышать размеры инвалидной коляски несколько раз.
- Ширина конструкции пандуса при одной полосе более 90 см. При обустройстве с двумя полосами движения, ширина не менее 180 см. При этом угол наклона должен составлять 6,7%. В некоторых случаях, между полосами двидения устанавливается поручень.
- При сооружении конструкции с несколькими пролётами между пандусами монтируются площадки промежуточного характера. Ширина площадки должна быть в два раза больше ширины марша, а глубина — 150 см.
Физические размеры поручней
Основной составляющей пандусов являются поручни. Согласно ГОСТ:
- Обязательная установка поручней предусматривается на конструкциях, длина которых превышает 180 см, а высота — 15 см.
- Поручни должны быть длиннее самого пандуса на 30 см, диаметр поручня может колебаться от 30 до 50 мм. Поручни обязательны к установке по всей длине пандуса с обеих сторон.
- Монтаж поручней рекомендуется делать на высоте в 60 см, иногда на высоте 80 см. Для детей поручни устанавливаются на высоте 50 см.
- Чтобы предотвратить соскальзывание колясок с пандуса, на нём устанавливаются бортики высотой 5 см.
СНиП 35-01-2001

Система нормативных документов в строительстве
СТРОИТЕЛЬНЫЕ НОРМЫ И ПРАВИЛА
РОССИЙСКОЙ ФЕДЕРАЦИИ
ДОСТУПНОСТЬ ЗДАНИЙ И СООРУЖЕНИЙ
ДЛЯ МАЛОМОБИЛЬНЫХ ГРУПП НАСЕЛЕНИЯ
СНиП 35-01-2001
ГОСУДАРСТВЕННЫЙ КОМИТЕТ РОССИЙСКОЙ ФЕДЕРАЦИИ ПО СТРОИТЕЛЬСТВУ И ЖИЛИЩНО-КОММУНАЛЬНОМУ КОМПЛЕКСУ
(ГОССТРОЙ РОССИИ)
Москва
2001
ПРЕДИСЛОВИЕ
1 РАЗРАБОТАНЫ ГУП «Научно-проектный институт учебно-воспитательных, торгово-бытовых и досуговых зданий» (Институт общественных зданий) Госстроя России — ведущая организация, ЗАО «Архитектурное проектно-исследовательское объединение — Центр» (АПИО-Центр), ЗАО «ЦНИИЭП им. Б.С. Мезенцева», Академией Государственной противопожарной службы МВД России, Московским государственным строительным университетом, ОАО «МосОтис»
2 ВНЕСЕНЫ Министерством труда и социального развития Российской Федерации.
3 ПРЕДСТАВЛЕНЫ Управлением архитектуры и проектных работ и Управлением стандартизации, технического нормирования и сертификации Госстроя России
4 ПРИНЯТЫ и ВВЕДЕНЫ В ДЕЙСТВИЕ с 1 сентября 2001 г. постановлением Госстроя России от 16 июля 2001 г. № 73
5 ВЗАМЕН ВСН 62-91* (кроме требований к специализированным зданиям)
6 ВВЕДЕНЫ впервые
СОДЕРЖАНИЕ
| Введение | |
| 1 Общие положения | |
| 2 Нормативные ссылки | |
| 3 Общие требования к зданиям, сооружениям и их участкам | |
| Участки и территории | |
| Входы и пути движения | |
| Лестницы и пандусы | |
| Лифты и подъемники | |
| Пути эвакуации | |
| Внутреннее оборудование | |
| Санитарно-гигиенические помещения | |
| 4 Особые требования к среде жизнедеятельности маломобильных групп населения | |
| Жилые здания и помещения | |
| Зоны обслуживания посетителей в общественных зданиях | |
| Места приложения труда | |
| Приложение А | Термины и определения |
| Приложение Б | Расчет числа лифтов, необходимых для спасения инвалидов из зон безопасности. |
| Приложение В | Материалы к расчету уровня пожарной безопасности маломобильных групп населения |
ВВЕДЕНИЕ
Пандусы для маломобильных групп населения наклонные -Полезная информация

Уклон пандуса — одна из важнейших его характеристик — если наклонные поверхности пандуса выполнены с уклоном, превышающим нормы — его использование небезопасно как для инвалидов, так и для родителей с детскими колясками. Величина допустимого уклона пандуса регламентируется СП 59.13330.2012 «Доступность зданий и сооружений для маломобильных групп населения» — актуализированная версия СНиП 35-01-2001, документ введен в действие 01.01.2013.
Нормативный угол наклона пандуса для колясок должен быть не более 1:20 (5% или 2,86 градусов) и длина одного марша пандуса не более 8 м. В ряде случаев допускается увеличение максимального уклона пандуса:
- до 1:12 (8% или 4,76 градуса) — для временных сооружений и объектов инфраструктуры, при условии, что перепад высот между горизонтальными площадками менее 0,5 м и длина одного марша пандуса не более 6,0 м;
- до 1:10 (10% или 5,71 градуса) — при перепаде высот полов менее 0,2 м.
Как рассчитать угол наклона пандуса?
Вычисляется уклон пандуса с помощью формулы: наклон пандуса = H / L, где: H — перепад высот, который необходимо оборудовать пандусом, а L — длина горизонтальной проекции наклонного участка пандуса (нажмите для увеличения).
Например, нам необходимо рассчитать пандус для входа в здание, высота крыльца составляет 0,4 м. В данном случае необходимо использовать соотношение 1:12, составляя простую пропорцию получаем L=12*0.
4 м = 4,8 м.
Вычисляем длину наклонной поверхности пандуса = корень квадратный из (4,82+ 0,42) = 4,8 м Пандус может быть устроен без горизонтальных площадок, так как длина его наклонных поверхностей менее 6 м.
Если говорить о единицах измерения, то наклон пандуса может быть выражен в градусах, процентах и в виде отношения высоты к длине:
| стандартный по СП 59.13330.2012 | 1:20 | 5% | 2,86 градуса |
| для временных сооружений | 1:12 | 8% | 4,76 градуса |
| при перепаде высот до 0,2 м | 1:10 | 10% | 5,71 градуса |
Уклон пандуса по СНиП 35-01-2001 и СП 59.13330.2012
В обозначенных выше документах есть разночтения по стандартной величине уклона пандусов, так в СНиП 35-01-2001 допустимый уклон пандуса составляет 1:12 (или 8%), в то время как по СП 59.13330.2012 — он равен 1:20 (или 5%).
Учитывая, что СНиП 35-01-2001 является национальным стандартом, утвержденным Распоряжением Правительства РФ от 21 июня 2010 г. № 1047-р, а также, если заказчиком не выдвигается требование спроектировать пандус по СП 59.13330.2012, предлагаем своим клиентам проектирование и изготовление пандусов по нормативам, обозначенным в СНиП 35-01-2001, т.е.:
- допустимый уклон пандуса — 1:12 (или 8%, или 4,76 градуса).
| Пандус для маломобильных групп |
Нормированный уклон на въездах в гараж. Определение уклона пандуса согласно требованиям снип, гост и сп

В связи с актуализацией проблем инвалидов важнейшими принципами при возведении зданий жилого и социального фонда, производственных конструкций на сегодняшний день считаются следующие:
- обеспечение равной доступности к объектам различного назначения маломобильным группам населения ,
- выполнение законодательных требований при строительстве объектов жилого и производственного фонда с целью успешной социализации инвалидов, их активного участия в общественной жизни,
- реализация проекта «Безбарьерная среда для людей с ограниченными возможностями здоровья »
Все строительные правила регламентируются нормативно-правовым актом «СП 59.13330.2012. Доступность зданий и сооружений для маломобильных групп населения», который является действующей редакцией СНиП 35-01-2001.
Оба названных документа могут служить отправной точкой при проектировании объектов с учетом безопасной эксплуатации их людьми, относящимися к категории «маломобильные группы населения». Некоторые положения данных правил различаются строительными нормами.
Первый из документов написан с учетом стандартов международного уровня, на основе соответствующих положений Конвенции ООН, регламентирующей права инвалидов. Второй – федеральный стандарт, утвержденный Распоряжением Правительства РФ от 22.06.2010 года № 1047-Р.
Как произвести расчеты при установке пандуса
В названных нормативных актах прописаны основные нормы проектирования и строительства пандусов, в частности указан их важнейший показатель – угол наклона. Эта величина просчитана с учетом всех норм безопасного использования пандусов при передвижении инвалидов-колясочников и колясок с детьми.
Существует специальная формула, по которой нетрудно рассчитать угол наклона пандуса:
Н/L – отношение разности высот поверхностей , которые требуется соединить пандусом, к длине горизонтальной проекции наклонной части пандуса . Это отношение не должно превышать норм, указанных в выше названных актах. В акте «СП 59.13330.2012. Доступность зданий и сооружений для маломобильных групп населения» прописаны следующие нормативы.
- Максимальным углом наклона пандуса является угол соответствующий отношению 1/20. Это отношение, выраженное в градусах, составит 2,86°. Другой единицей измерения углов наклона пандуса, часто используемой при расчетах, являются проценты. В этом случае получается 1/20=2,86°= 5%. При этом один марш пандуса не должен превышать 8 м.
В документе отображены моменты, когда допускается отступления от данной нормы.
- На объектах временного характера при разнице высот между горизонтальными плоскостями не более 0,5 м, и длине одного марша пандуса не превышающей 6 м угол наклона составит 1/12=4,86°=8%.
- Если разность уровней между горизонтальными площадками не превышает 0,2 м, угол наклона пандуса можно делать 1/10=5,71°=10%.
В СНиП 35-01-2001нормативные показатели отличаются от вышеописанных. Максимально допустимый угол наклона пандуса равен 1/12=4,86°=8%.
Обустройство пандусов при возведении, ремонте, реконструкции изношенных конструкций и зданий различного назначения может выполняться с учетом любого из этих нормативных актов.
Обратите внимание
Создание инфраструктуры без преград для людей, относящихся к категории «маломобильные группы населения» – это, то чем мы занимаемся профессионально. Мы предлагаем свои услуги всем заинтересованным лицам и организациям.
Мы выполняем установку пандуса с учетом всех требований, норм безопасности, пожеланий заказчика.
В наше время, любой вход в здание оборудован пандусом для инвалидов.
Все категории граждан должны иметь одинаковый доступ к инфраструктурным зданиям и объектам. Для граждан, имеющих ограничения в передвижении и инвалидов, необходимо создавать дополнительные условия. Статья 9.13 Кодекса РФ об административных правонарушениях предусматривает наказание за уклонение от исполнения данных условий.
Каждый человек с ограниченными возможностями, без труда сможет воспользоваться пандусом.
Все государственные и коммерческие учреждения должны выполнять требования этого закона. Сейчас повсеместно стали появляться наклонные дорожки для преодоления высоты на входе. Сами того не подозревая, пандусы стали привычным антуражем общественных зданий.
Пандус должен быть установлен возле любого здания независимо от назначения.
Но что значит «пандус»? Когда мы найдём ответ на этот вопрос, нам станет ясно многое. Например, чем отличается пандус от любых других наклонных спусков/подъёмов. Или, почему этому понятию уделено много внимания среди нормативных документов по строительству. Целью статьи является ознакомление с многочисленными требованиями к правильному пандусу.
Понятие пандуса и для чего он нужен
Слово это имеет французские корни. Оно состоит из двух слов – pente (пант), что означает спуск, перепад высоты вниз, и douce (дус), что в данном смысле означает плавный, постепенный, пологий. Т.е.
дословно пандус – это пологий, плавный спуск/подъём. Этими дорожками должны пользоваться инвалиды, мамы с детскими колясками.
Поэтому уклон пандуса обязан быть плавным и незаметным, преодолеваться он должен легко и непринуждённо.
Комфортное передвижение по пандусу зависит от правильности конструкции.
Здесь не должно быть разночтений и полемик по поводу углов наклона, размеров и ограждений такого сооружения. Его параметры чётко определяются строительными нормативами.
Существует целых три нормативных документа, обязательных для соблюдения. Это ГОСТ Р 51261-99, СНиП 35-01-2001 и СП 59.13330.2012.
Хотя эти документы и носят характер рекомендаций, без их соблюдения вам не удастся избежать ответственности по вышеупомянутому Кодексу РФ.
Придерживаясь этих нормативов, вход в общественное здание будет не только доступным, но и безопасным. Инвалиды не всегда имеют сопровождающих. А предоставить им безопасный пологий вход – это ещё одно подтверждение вашего отношения к людям с физическими ограничениями.
Без помощи сторонних, подняться по пандусу без перил практически не возможно.
Важно
Итак, мы выяснили, что пандусы сооружаются исключительно для облегчения преодоления высоты на входе/выходе здания. Они оборудуются исключительно для инвалидов и граждан с ограниченными физическими возможностями. Требования к пандусам одинаковы как для внутреннего, так и для наружного размещения.
Высота, длина и угол
Учитывая важность требований к пандусам, на основании СНиП 35-01-2001 был введен Свод правил к их устройству, как действующий нормативный документ. В СП 59.13330.2012 предусмотрено как обеспечить общедоступность зданий и сооружений для граждан, которые законодательством признаны маломобильными.
Основной расчет осуществляется по таблице, в которой указана допустимая длина подъёма на соответствующую высоту. Применяя соотношение этих величин, можно посчитать углы подъёма пандуса и его размеры.
| 100 | 1000 | 1200 | 2000 |
| 200 | 2000 | 2400 | 4000 |
| 300 | — | 3600 | 6000 |
| 400 | — | 4800 | 8000 |
| 500 | — | 6000 | 10000 |
| 600 | — | — | 12000 |
| 700 | — | — | 14000 |
| 800 | — | — | 16000 |
| 900 | — | — | 18000 |
| 1000 | — | — | 20000 |
| 1100 | — | — | 22000 |
| 1200 | — | — | 24000 |
| 1300 | — | — | 26000 |
| 1400 | — | — | 28000 |
| 1500 | — | — | 30000 |
Теперь давайте разберём нашу таблицу.
Минимальная длина пандуса в один метр возможна лишь при подъёме на высоту 100 мм. Максимальная высота подъёма с помощью подобных сооружений возможна лишь на полтора метра от уровня земли. При этом минимальная длина пандуса должна составлять не менее 30 метров. Только при таких условиях маломобильные граждане смогут легко преодолеть это препятствие.
Практикум по математике
Правильно рассчитать градус наклонного спуска и длину его пролёта, применяя таблицу СП – залог безопасного пандуса.
Применяя таблицу, можно посчитать правильный наклон в процентах и градусах. Не нужно полагать, что инвалиды – редкое явление среди ваших клиентов. Если пандус будет неудобный, то не инвалиды, а инспекторы будут вашими частыми гостями.
Особенности площадок
Из таблицы СП можно сделать и ещё несколько выводов:
- чем больше высота подъёма, тем меньше его градус;
- крутой подъём должен иметь самый короткий отрезок пути;
- чем длиннее общее расстояние подъёма, тем более пологой должна быть дорожка.
Экстремальные пандусы.
Ведь инвалиды крутят колёса в основном своими руками, поэтому такое соотношение вполне справедливо.
Каждый пандус, как прописано в СП, должен начинаться и заканчиваться площадкой. Подъездные площадки вверху и внизу – это неотъемлемая часть бесступенчатой лестницы для маломобильных граждан.
Ширина такой площадки должна быть не менее ширины пандуса. В СП однозначно указывается, что для комфортного пользования, полезная ширина пандуса должна быть не менее 900 мм.
Если предусматривается встречное движение инвалидов на колясках, тележек, мам с детьми в колясках, то ширина 1800 мм – самый допустимый размер.
Что касается глубины или длины площадки, то она должна быть не менее 1400 мм в чистом виде. А если площадка используется для разворота движения на 180°, то минимальные размеры её должны быть 1800 мм на 1500 мм. Где 1800 мм – это две ширины дорожек, выходящих на площадку для разворота.
Осторожно на поворотах
При устройстве прямого пологого спуска под углом 4,8° (или 8% при соотношении 1/12), максимальная длина одного пролёта может быть 6 м. Если предусмотрены повороты/развороты, то без промежуточной площадки не обойтись.
Расстояние марша от площадки до площадки.
При подъёме на максимальную допустимую высоту до 1,5 м, СП обязательно рекомендует обустраивать промежуточную площадку .
Несмотря на приемлемый уклон пандуса в 2,9° (или 5% при пропорции высота/длина 1/20), наличие площадки на пролёте более 6 м обязательно. В этом случае максимальная разрешённая длина одного пролёта не должна превышать 8 м.
При повороте спуска на 90° необходимо предусмотреть инерцию движения коляски. Размеры такой поворотной площадки должны быть не менее 1400 мм на 1400 мм.
Совет
Если пандус оканчивается площадкой, которая выходит на дверной проём, то расстояние от наклонной части до открытой двери по прямой должно быть не менее 1200 мм. Если двери расположены справа от пандуса, то ширина площадки должна бать 1700 мм (двери 800 мм + 900 мм пандус).
Если двери расположены слева от наклонного спуска, то ширина площадки должна быть не менее 1400 мм, а её длина/глубина – 1800 мм (900 мм до начала дверного проёма + 800 мм проём + 100 мм простенок двери).
Таким образом, посчитать количество площадок и обустроить их с учётом СП несложно. Нормы СП просты и понятны.
Уважение к инвалидам проявляется в правильно обустроенном пандусе.
Размеры поворотной площадки размещенной возле дверей.
Ограждения по всем правилам
Основное правило ограждений – они должны помогать маломобильным гражданам передвигаться по наклонному аналогу лестницы.
Во время нахождения на пандусе поручни должны быть в зоне досягаемости рук человека в коляске. Причём опираться на перила он должен без затруднений.
Поэтому расстояние между поручнями по обеим сторонам не должно превышать 1000 мм. Оптимальный диаметр поручня – 40 мм (минимально 30 мм, максимально 50 мм).
Ограждения следует устанавливать по обеим сторонам дорожки. Промежуток между опорными столбиками должен составлять не более 1 м, поверхность поручней должна быть непрерывная и гладкая.
Поэтому ограждения из нержавейки — это то, что нужно для наружных пандусов. Поручни должны быть продублированы на уровне двух высот – 700 мм и 900 мм.
На первом и последнем опорных столбиках пролёта поручни на концах должны иметь закругления.
Вынос закругления поручня на 350 мм относительно крайней опоры обязателен. Обязательным является и устройство бортика по обеим сторонам наклонной дорожки. В этот бортик могут быть вмонтированы и опорные столбики ограждений. Бортик высотой в 50 мм не должен ограничивать 900 мм ширины пролёта. Этот же бортик не позволит скатыванию в сторону коляски инвалида или другой коляски.
Нормы СП относительно ограждений просты. Расчет длины ограждения и количества опорных столбиков тоже несложный и легко выполнимый. Требования к перилам пандусов не многим отличаются от требований к ограждениям лестниц.
Виды бесступенчатых лестниц
Все здания и сооружения, возведённые до 1995 года, проектировались без учёта обустройства мест для перемещения маломобильного населения.
Поэтому в многоквартирных домах, административных зданиях и помещениях общего доступа, сооружённых до 1995 года, устройство пандусов затруднено. Для этой цели были разработаны переносные, откидывающиеся и телескопические варианты.
Конечно, расчет угла обычных лестничных маршей не подразумевал самостоятельное передвижение маломобильных граждан. Без посторонней помощи они не смогут преодолеть высоту подъёма с этажа на этаж.
Складной пандус для инвалидов.
Обратите внимание
Обустраивать на ступеньках лестниц швеллеры в качестве направляющих нецелесообразно. Это может облегчить только перемещения детских колясок. Передняя и задняя оси инвалидной коляски имеют разную ширину. Если задняя ось может без труда поместиться в полозьях из швеллера, то передняя ось будет проваливаться между ними. Для вызова помощника инвалид должен воспользоваться звонком.
Если вы не предусмотрели устройство пандуса перед входом в помещение, то необходимо приобрести переносные или складные виды пандусов. Например, ролл или рампу.
Наличие звонка вызова в досягаемом для инвалида месте обязательно.
Он должен быть установлен на высоте от 800 мм до 1000 мм и на расстоянии максимум 450 мм вглубь от ступеньки, бордюра или другой непреодолимой инвалидом преграды.
СП 59.13330.2012 разработано в строгом соответствии с ч. 5 ст. 42 ФЗ № 384 от 30 декабря 2009 года «Технический регламент «О безопасности зданий и сооружений». Его требования согласуются и с Конвенцией ООН по правам инвалидов.
Слово «Пандус» произошло от французского слова «pente douce», что в переводе означает «легкий наклон» или «пологий склон». Зачастую его используют для перемещения колесных транспортных средств, таких как инвалидные или детские коляски, грузовые тележки. Конструкция представляет собой прямоугольную наклонную площадку, соединяющую разновысотные поверхности.
Одним из видов устройств, облегчающих передвижение маломобильным группам населения, является пандус для автомобилей. Его применяют для оснащения общественного или индивидуального транспорта.
С помощью подобной конструкции осуществляют подъем инвалидов в коляске в салон транспортного средства.
С помощью специальных фиксаторов пандус крепится к кузову (раме) транспортного средства, что позволяет сложить его на время поездки.
Для изготовления устройства используют современные, высокопрочные материалы, за счет которых конструкция становится более надежной. Кроме того, пандус для автомобилей имеет противоскользящую поверхность со специально нанесенным покрытием для большей устойчивости.
Важно
Довольно часто для погрузки-разгрузки различной спецтехники с земли в кузов транспортного средства используют въездной пандус для автомобилей, с помощью которого можно быстро и в короткие сроки осуществить погрузку техники в автомобильный кузов, прицеп или железнодорожный вагон. Такое устройство позволяет автоматизировать рабочий процесс и сделать погрузочные работы более оперативными.
Компания «Эгида» занимается проектированием, изготовлением и установкой пандусов для автомобилей любой необходимой вам конфигурации уже не первый год и является лидером на российском рынке. Мы всегда рады предложить вам высокое качество по приятной цене.
Преимущества пандусов от компании «Эгида»
. Наша компания обладает огромным опытом проектировки и изготовления пандусов для автомобилей любого вида в соответствии со всеми производственными требованиями.
Для изготовления нашей продукции мы используем самое современное оборудование, позволяющее достичь высокой точности.
У нас работают специалисты экстра-класса, что позволяет нашей компании изготовить любую конструкцию, отвечающую даже самым высоким требованиям.
Кроме того, пандусы для автомобилей от компании «Эгида» отличаются надежностью, повышенной износостойкостью, отвечают всем правилам техники безопасности и санитарным нормам.
Цена нашей продукции рассчитывается индивидуально, однако, остается всегда оптимальной и приемлемой для наших заказчиков.















































